부재 방향 표시

Tekla Structures
수정됨: 18 11월 2024
2025
Tekla Structures

부재 방향 표시

부재 방향 표시는 어셈블리 및 콘크리트 부재의 설치 방향을 나타냅니다. 부재 방향 표시에는 여러 가지 방법이 있습니다. 부재 마크를 사용하고, 마크에 나침반 방향을 포함시키고, 방향 표시와 사이드 마크 연결을 표시하는 방법이 있습니다.

마크 배치 설정, 지시선 유형, 사전 정의된 마크 위치 및 부재 방향 설정, 부재의 모델링 방향, 도면 보호 설정이 마크 위치에 어떤 영향을 미치는지 확인하려면 마크 위치를 참조하십시오.

기본도면에서 부재 마크를 방향 마크로 사용

기본도면에서는 부재 마크가 조립도면에서와 동일한 단부에 표시됩니다. 어셈블리 위치가 같은 부재는 항상 같은 단부에 표시됩니다.

  1. 도면 및 레포트 > 도면 속성 > 조립도면을 선택합니다.
  2. 필요한 도면 속성과 최대한 가까운 도면 속성을 로드합니다.
  3. 조립도면 속성에서 뷰 생성 > 속성을 클릭하고 좌표계지향 또는 모델로 설정합니다.

    파일 메뉴 > 설정 > 옵션 > 방향 마크에서 보는 방향 설정을 적용하려면 지향 또는 모델을 사용해야 합니다.

  4. 저장을 클릭하여 속성을 저장하고 닫기를 클릭하여 대화 상자를 닫습니다.
  5. 모델에서 도면 및 레포트 > 넘버링 설정 > 넘버링 설정을 클릭하고 보 방향기둥 방향 확인란을 선택 해제합니다.

    이 경우 유사한 어셈블리가 파트 방향과 무관하게 같은 번호를 얻습니다.

  6. 파일 메뉴 > 설정 > 옵션 > 방향 마크로 이동하여 다음 옵션을 설정합니다.
    • 보, 브레이스 및 기둥에 원하는 보는 방향을 지정합니다.

    • 기본도면에서 마크를 항상 기둥 중앙에아니요로 설정합니다.

    • 기본 설정 보 및 브레이스 위치왼쪽 또는 오른쪽으로 설정합니다.

      기본 설정 위치에 따라 마크가 배치되는 끝이 결정됩니다.

  7. OK를 클릭합니다.
  8. 도면 및 레포트 > 도면 속성 > 기본 도면 > 부재 마크 > 일반을 통해 지시선 유형을 확인합니다.

    다음 설정 중 하나를 사용하여 부재의 중앙이 아닌 부재 끝 근처에 마크를 배치합니다.

  9. 저장을 클릭하여 도면 속성을 저장하고 확인을 클릭하여 대화 상자를 닫습니다.
  10. 수정한 설정을 사용하여 조립도면(및 단품도면)을 생성합니다.

    앞서 도면을 생성하지 않았다면 형상 상단 면이 정의된 경우를 제외하고 ID가 가장 작은 부재의 모델링 방향이 사용됩니다.

  11. 수정한 설정을 사용하여 기본도면을 생성합니다.
Note:
  • 기본도면에서 콘크리트 부재 마크는 어셈블리 부재 마크와 동일한 방식으로 작동하며 단, 부재의 사용자 정의 속성 대화 상자의 매개변수 탭에서 형상 상단 면전면 또는 배면으로 설정된 경우는 제외됩니다. 이 설정은 부재 마크가 배치되는 끝을 알려줍니다.

  • 마크가 부재의 다른 쪽 끝에 배치되도록 조립도면 업데이트할 때는 해당 기본 도면에서 마크를 업데이트해야 합니다. Tekla Structures 는 이 작업을 자동으로 수행하지 않습니다.

  • 또한 고급 옵션 XS_UPSIDE_DOWN_TEXT_ALLOWEDTRUE로 설정한 경우 텍스트 읽기 방향은 부재 설치 방향을 나타냅니다.

부재 마크는 스티프너 측면에 위치합니다.

마크는 보의 방향에 관계없이 같은 면에 배치됩니다.

부재 마크에 나침반 방향 표시

부재 마크에 면 방향 정보를 포함할 수 있습니다. 마크를 추가하거나 이동하는 위치에 상관없이 면 방향이 동일하게 유지됩니다. 면 방향은 마크가 표시되는 면의 나침반 방향(북쪽, 동쪽, 남쪽, 서쪽)을 나타냅니다.

제한 조건: Tekla Structures는 어셈블리 또는 콘크리트 부재 번호가 동일한 모든 어셈블리 또는 콘크리트 부재에 대해 면 방향이 동일한 경우에만 면 방향을 표시합니다.

  1. 파일 > 설정 > 옵션 > 방향 표시를 클릭하고 프로젝트 북쪽(전역 x에서 시계 반대 방향으로 측정한 각도)을 확인하여 모델에서 북쪽이 어느 방향인지 확인합니다.

    옵션 대화 상자의 방향 마크 설정에 대한 자세한 정보는 옵션 대화 상자의 설정을 참조하십시오.

  2. 모델에서 도면 및 레포트 > 넘버링 설정을 클릭한 후 기둥 방향 확인란을 선택합니다.

    이렇게 하면 Tekla Structures가 방향이 다른 유사한 기둥 두 개에 대해 부재 마크에 면 방향을 표시합니다.

  3. 원하는 조립도면 또는 콘크리트 부재도면 뷰 속성에서 부재 마크를 클릭한 후 부재 마크에 면 방향 요소를 삽입합니다.

이제 어셈블리 또는 콘크리트 부재도면에 부재 마크의 면 방향이 표시됩니다.

Tip:

기본도면에 나침반 방향을 표시하려면 파일 > 설정 > 옵션 > 방향 표시로 이동하여 기본도면에서 마크를 항상 기둥 중앙에아니요로 설정합니다.

방향 표시(북쪽 마크) 표시

방향 표시나 북쪽 마크를 사용하여 어셈블리의 설치 방향을 표시할 수 있습니다. 기본 방향 표시는 원 안에 삼각형이 있는 모양입니다.

Note: 부재가 뷰에 직각을 이루는 경우(예: 평면 뷰의 기둥의 경우)에는 방향 표시가 그려지지 않습니다.
  1. 도면 및 레포트 탭에서 도면 속성 > 조립도면을 클릭합니다.
  2. 왼쪽 옵션 트리에서 뷰 생성을 클릭하여 변경할 뷰와 속성을 선택한 후 뷰 속성을 클릭합니다.
  3. 부재 > 내용을 클릭하고 방향 표시 확인란을 선택합니다.
  4. 뷰 속성을 저장하고 닫기를 클릭합니다.
  5. 조립도면 속성을 저장하고 확인을 클릭합니다.
  6. 필요한 경우 파일 메뉴 > 설정 > 옵션 > 방향 표시 > 기울기 제한을 통해 기울기 제한을 설정하여 Tekla Structures에서 어떤 부재를 기둥, 브레이스 또는 보로 간주하는지 정의합니다.
  7. 다음 고급 옵션을 사용하여 방향 표시를 조정합니다.
  8. 조립도면을 생성합니다.

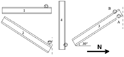
다른 부재 Tekla Structures 의 경우 다음과 같은 방식으로 방향 표시를 그립니다.

  • 북쪽 또는 XS_ORIENTATION_MARK_DIRECTION에서 정의된 방향에 가장 가까운 단부의 보 상단 플랜지까지(아래 그림의 부재 1과 2 참조)

  • 북쪽 또는 XS_ORIENTATION_MARK_DIRECTION에서 정의된 방향에 가장 가까운 플랜지의 기둥 하부 끝까지(아래 그림의 부재 4 참조)

  • 북쪽 또는 XS_ORIENTATION_MARK_DIRECTION에서 정의된 방향에 가장 가까운 단부에 있는 브레이스의 플랜지까지(아래 그림의 3 A 및 B 참조)

Tip:

고급 옵션 XS_SINGLE_ORIENTATION_MARKTRUE로 설정하여 조립도면에 포함된 단품 뷰에 방향 표시를 표시할 수 있습니다.

설치 방향 표시 표시

조립도면의 기호를 사용하여 연결되는 부재가 접합된 부재의 측면을 표시할 수 있습니다.

설치 방향 표시는 도면 뷰 레벨 속성에서 보조 부재로만 설정할 수 있습니다(일반적으로 아래의 예시 이미지에서 표시된 바와 같이 전단 플레이트). 어셈블리의 메인 부재에 대한 설치 방향 표시는 도면 부재 속성의 객체 레벨에서 설정할 수 있습니다.

  1. 도면 및 레포트 > 도면 속성 > 조립도면을 선택합니다.
  2. 필요한 도면 속성과 최대한 가까운 도면 속성을 로드합니다.
  3. 왼쪽 옵션 트리에서 뷰 생성을 클릭하여 변경할 뷰와 속성을 선택한 후 뷰 속성을 클릭합니다.
  4. 부재를 클릭합니다.
  5. 내용 탭에서 설치 방향 표시 확인란을 선택합니다.
  6. 저장을 클릭하여 뷰 속성을 저장합니다.
  7. 닫기를 클릭합니다.
  8. 저장을 클릭하여 도면 속성을 저장한 다음 확인을 클릭하고 도면을 생성합니다.

Tip:

필요한 경우 고급 옵션 XS_CONNECTING_SIDE_MARK_SYMBOL로 설치 방향 표시 기호를 변경할 수 있으며 XS_MIN_DISTANCE_FOR_CONNECTING_SIDE_MARK를 사용하여 설치 방향 표시 그리기 여부를 제어할 수 있습니다.

Tekla Structures 도면에서 기호를 추가하고 사용하는 방법에 대한 자세한 내용은 도면에서 기호 추가를 참조하십시오.

도움이 되었습니까?
이전
다음