Indication de l'orientation de pièce
Les repères d'orientation des pièces indiquent le sens de montage des assemblages et des éléments béton. Il existe plusieurs façons d'indiquer l'orientation de la pièce : à l'aide de repères de pièce, en incluant la direction de la boussole dans les repères et en affichant les marques d'orientation et marques de position.
Pour vérifier la manière dont l’emplacement du repère est affecté par les paramètres de position de repère, le type de trait de rappel, les paramètres prédéfinis d’orientation de pièce et d’emplacement des repères, le sens de modélisation des pièces et les paramètres de protection du dessin, voir Emplacement repère.
Utiliser le repère de pièce en tant que repère d’orientation dans les plans d’ensemble
Dans les plans d'ensemble, les repères de pièces apparaissent à la même extrémité que dans les croquis d'assemblage. Les pièces ayant la même position d'assemblage sont toujours marquées à la même extrémité.
-
Dans les plans d'ensemble, les repères de pièces des éléments bétons fonctionnent de la même manière que les repères de pièces d'assemblage, excepté lorsque l'option Dessus coffrage est définie sur Devant ou Arrière dans l'onglet Paramètres de la boîte de dialogue Attributs utilisateur de la pièce. Ces paramètres déterminent l'extrémité où est placé le repère de pièce.
-
Pour mettre à jour un croquis d’assemblage de sorte que le repère soit placé à l’autre extrémité de la pièce, n’oubliez pas de mettre également à jour les repères du plan d’ensemble correspondant. Tekla Structures ne le fait pas automatiquement.
-
Notez également que si vous avez défini l'option avancée XS_UPSIDE_DOWN_TEXT_ALLOWED sur
TRUE, la direction de lecture du texte indique la direction d'installation de la pièce.
Exemple
Le repère de pièce est situé sur le côté raidisseur :
Les repères sont positionnés du même côté quelle que soit l’orientation des poutres :
Affichage de la direction de la boussole dans des repères de pièce
Vous pouvez inclure des informations de direction de face dans les repères de pièces. Que vous ajoutiez ou déplaciez le repère, l'orientation de la face reste la même. La direction face indique la direction de la boussole (Nord, Est, Sud, Ouest) du côté où le repère apparaît.
Limite : Tekla Structures indique la direction de la face uniquement si elle est identique pour tous les assemblages ou éléments préfabriqués ayant le même repère.
Les croquis d'assemblage ou les dessins d'éléments préfabriqués indiquent désormais la direction face dans les repères de pièces.
Pour afficher la direction de la boussole dans les plans d’ensemble, accédez à et définissez sur Repère au centre des poteaux dans les plans d'ensemble Non.
Affichage des marques d'orientation (repères du Nord)
Vous pouvez utiliser des marques d'orientation ou des repères du Nord pour indiquer le sens de montage des assemblages. La marque d'orientation par défaut est un triangle entouré d'un cercle.
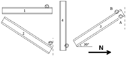
Pour différentes pièces, Tekla Structures dessine les repères d’orientation de la manière suivante :
-
Sur l'aile supérieure des poutres, à l'extrémité pointant le plus près du nord ou de la direction définie dans
XS_ORIENTATION_MARK_DIRECTION(voir les pièces 1 et 2 dans l'illustration ci-dessous) -
Sur l'extrémité inférieure des poteaux, sur l'aile pointant le plus près du nord ou de la direction définie dans
XS_ORIENTATION_MARK_DIRECTION(voir la pièce 4 dans l'illustration ci-dessous) -
Sur l'aile des diagonales, à l'extrémité pointant le plus près du nord ou de la direction définie dans
XS_ORIENTATION_MARK_DIRECTION(voir 3 A et B dans l'illustration ci-dessous)
Vous pouvez afficher les repères d'orientation des vues de pièce seule figurant dans les croquis d'assemblage en définissant l'option avancée XS_SINGLE_ORIENTATION_MARK sur TRUE.
Affichage des marques de position
Dans les croquis d'assemblage, vous pouvez utiliser un symbole pour indiquer le côté de la pièce sur lequel une pièce vient s'attacher.
Notez que les repères position peuvent être définis+ entre les propriétés de niveau vue de dessin et les pièces secondaires uniquement (généralement des plats de cisaillement comme illustré dans l’image ci-dessous). Les repères position sur la pièce principale de l'assemblage peuvent être définis au niveau de l’objet dans les propriétés des pièces du dessin.
Si nécessaire, vous pouvez modifier le symbole du repère position à l’aide de l’option avancée XS_CONNECTING_SIDE_MARK_SYMBOL, et utiliser XS_MIN_DISTANCE_FOR_CONNECTING_SIDE_MARK pour contrôler si le repère position est dessiné ou non.
Pour plus d’informations sur l’ajout et l’utilisation de symboles dans les dessins Tekla Structures, voir Ajouter des symboles dans les dessins.
