Indicate part orientation

Tekla Structures
Modified: 18 Nov 2024
2025
Tekla Structures

Indicate part orientation

Part orientation marks indicate the erection direction of assemblies and cast units. There are many ways available for indicating part orientation: by using part marks, by including compass direction in marks, and showing orientation marks and connecting side marks.

To check how the location of the mark is affected by mark placement settings, the type of the leader line, predefined mark location and part orientation settings, modeling direction of parts, and drawing protection settings, see Mark location.

Use part mark as an orientation mark in general arrangement drawings

In general arrangement drawings, part marks appear at the same end as in assembly drawings. Parts with the same assembly position are always marked at the same end.

  1. Select Drawings & reports > Drawings properties > Assembly drawing.
  2. Load drawing properties that are as close to the ones you need as possible.
  3. In assembly drawing properties, click View creation > Attributes and set the Coordinate system to oriented or model.

    You must use oriented or model if you want the Viewing direction settings in File menu > Settings > Options > Orientation marks to have effect.

  4. Click Save to save the properties and Close to close the dialog.
  5. In the model, click Drawings & reports > Numbering settings > Numbering settings and clear the Beam orientation and Column orientation checkboxes.

    When you do this, similar assemblies get the same number regardless of the part orientation.

  6. Go to File menu > Settings > Options > Orientation marks and set the following options:
    • Set the desired Viewing direction for beams, bracings and columns.

    • Set Mark always to center of column in GA drawings to No.

    • Set Preferred location for beams and bracings to Left or Right.

      The preferred location determines the end where the mark is placed.

  7. Click OK.
  8. Check the leader line type through Drawings & reports > Drawings properties > GA drawing > Part marks > General.

    Place the mark near the part end, not in the middle of the part using one of the following settings:

  9. Click Save to save the drawing properties and OK to close the dialog.
  10. Create assembly (and single-part) drawings using the settings you modified.

    If you have not created a drawing earlier, the modeling direction of the part that has the smallest id is used, except if the top-in-form face has been defined.

  11. Create general arrangement drawings using the settings you modified.
Note:
  • In general arrangement drawings, the cast unit part marks behave in the same way as the assembly part marks, except when Top in form face is set to Front or Back on the Parameters tab of the part’s User-defined attributes dialog. These settings tell the end where the part mark is placed.

  • When you update an assembly drawing so that the mark is placed at the other end of the part, remember to update the marks in the corresponding general arrangement drawing. Tekla Structures does not do this automatically.

  • Also note that if you have set the advanced option XS_UPSIDE_DOWN_TEXT_ALLOWED to TRUE, the text reading direction indicates the part installation direction.

Example

The part mark is positioned at the stiffener side:

The marks are positioned at the same side irrespective of the orientation of the beams:

Show compass direction in part marks

You can include face direction information in part marks. No matter where you add or move the mark, the face direction stays the same. The face direction indicates the compass direction (North, East, South, West) of the face where the mark appears.

Limitation: Tekla Structures indicates the face direction only if it is the same for all assemblies or cast units with the same assembly or cast unit position number.

  1. Check in which direction north is in the model by clicking File > Settings > Options > Orientation marks and checking Project north (degrees counterclockwise from global x).

    For more information about the orientation mark settings in the Options dialog, see Settings in Options dialog.

  2. In the model, click Drawings & reports > Numbering settings and select the Column orientation checkbox.

    This forces Tekla Structures to show the face direction in the part mark for two similar columns with different orientation.

  3. In the desired assembly or cast unit drawing view properties, click Part mark and insert the Face direction element in the part mark.

Now the assembly or cast unit drawings show the face direction in the part marks.

Tip:

To show compass direction in GA drawings, go to File > Settings > Options > Orientation marks and set Mark always to center of column in GA drawings to No.

Show orientation marks (north marks)

You can use orientation marks or north marks to indicate the erection direction of assemblies. The default orientation mark is a triangle inside a circle.

Note: The orientation mark is not drawn if the part is perpendicular to the view, for example, for columns in a plan view.
  1. On the Drawings & reports tab, click Drawing properties > Assembly drawing.
  2. Click View creation in the options tree on the left, select the view and the properties that you want to change, and click View properties.
  3. Click Part > Content and select the Orientation marks checkbox.
  4. Save the view properties and click Close.
  5. Save the assembly drawing properties and click OK.
  6. If needed, define which parts Tekla Structures considers to be columns, braces or beams by setting the skew limits through File menu > Settings > Options > Orientation marks > Skew limit.
  7. Use the following advanced options to adjust orientation marks:
  8. Create the assembly drawing.

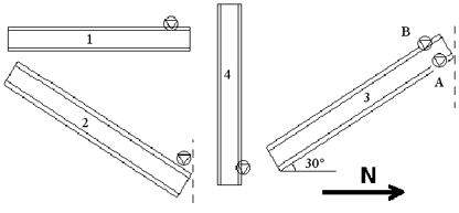
For different parts, Tekla Structures draws orientation marks in the following way:

  • To the top flange of beams, at the end which points closest to the north or to the direction defined in XS_ORIENTATION_MARK_DIRECTION (see part 1 and 2 in the illustration below)

  • To the lower end of columns, on the flange which points closest to the north or to the direction defined in XS_ORIENTATION_MARK_DIRECTION (see part 4 in the illustration below)

  • To the flange of bracing, at the end which points closest to the north or to the direction defined in XS_ORIENTATION_MARK_DIRECTION (see 3 A and B in the illustration below)

Tip:

You can display orientation marks for single-part views included in assembly drawings by setting the advanced option XS_SINGLE_ORIENTATION_MARK to TRUE.

Show connecting side marks

You can use a symbol in assembly drawings to indicate the side of a part to which a connecting part is attached.

Note that connecting side marks can be set from drawing view level properties to secondary parts only (typically shear plates like shown in the example image below). The connecting side mark to the main part of the assembly can be set on the object level in the drawing part properties.

  1. Select Drawings & reports > Drawings properties > Assembly drawing.
  2. Load drawing properties that are as close to the ones you need as possible.
  3. Click View creation in the options tree on the left, select the view and the properties that you want to change, and click View properties.
  4. Click Part.
  5. On the Content tab, select the Connecting side marks checkbox.
  6. Click Save to save the view properties.
  7. Click Close.
  8. Click Save to save the drawing properties, then click OK and create the drawing.

Tip:

If needed, you can change the connecting side mark symbol with the advanced option XS_CONNECTING_SIDE_MARK_SYMBOL, and use XS_MIN_DISTANCE_FOR_CONNECTING_SIDE_MARK to control whether the connecting side mark is drawn or not.

For more information about adding and using symbols in Tekla Structures drawings, see Add symbols in drawings.

Was this helpful?
Previous
Next