Indicazione dell'orientamento della parte
Le marche di direzione delle parti indicano la direzione di costruzione degli assemblaggi e delle unità di getto. È possibile indicare l'orientamento della parte in molti modi diversi: utilizzando le marche delle parti, comprendendo la direzione della bussola nelle marche e mostrando le marche di direzione e il collegamento delle marche laterali.
Per verificare come la posizione della marca dipende da impostazioni di posizionamento della marca, tipo di linea guida, impostazioni predefinite di orientamento della parte e posizione della marca, direzione di modellazione delle parti e impostazioni di protezione dei disegni, vedere Posizione marca.
Utilizzo della marca parte come marca di orientamento nei disegni di progetto/montaggio
Nei disegni di progetto/montaggio, le marche delle parti vengono visualizzate sulla stessa estremità dei disegni di assemblaggio. Le parti che hanno la stessa posizione di assemblaggio sono sempre contrassegnate sulla stessa estremità.
-
Nei disegni di progetto/montaggio, le marche delle unità di getto funzionano in modo analogo a quelle delle parti di assemblaggio, tranne nel caso in cui l'opzione Faccia Lato Getto è impostata su Anteriore o Posteriore nella scheda Parametri della finestra di dialogo Attributi utente della parte. Queste impostazioni indicano l'estremità su cui si trova la marca della parte.
-
Quando si aggiorna il disegno di un assemblaggio in modo che la marca sia posizionata sull'altra estremità della parte, occorre ricordare di aggiornare le marche nel disegno di progetto/montaggio corrispondente. Tekla Structures non lo fa automaticamente.
-
Se l'opzione avanzata XS_UPSIDE_DOWN_TEXT_ALLOWED è stata impostata su
TRUE, la direzione di lettura del testo indica la direzione di montaggio della parte.
Esempio
La marca della parte è posizionata sul lato dell'irrigidimento:
Le marche sono posizionate sullo stesso lato indipendentemente dall'orientamento delle travi:
Visualizzazione della direzione della bussola nelle marche delle parti
Nelle marche della parte è possibile includere le informazioni relative alla direzione della faccia. Indipendentemente dalla posizione in cui si aggiunge o si sposta la marca, la direzione della faccia rimane invariata. La direzione della faccia indica la direzione bussola (nord, est, sud, ovest) della faccia in cui appare la marca.
Limitazione: Tekla Structures indica la direzione della faccia solo se è la stessa per tutti gli assemblaggi o le unità di getto con lo stesso numero di posizione di assemblaggio o unità di getto.
A questo punto, i disegni di assemblaggio o di unità di getto mostrano la direzione della faccia nelle marche della parte.
Per visualizzare la direzione della bussola nei disegni di progetto/montaggio, passare a e impostare Marca sempre nel centro colonna nei disegni di progetto/montaggio su No.
Visualizzazione delle marche di direzione (marche del Nord)
Le marche di direzione o marche del Nord possono essere utilizzate per indicare la direzione di costruzione degli assemblaggi. La marca di direzione di default è un triangolo all'interno di un cerchio.
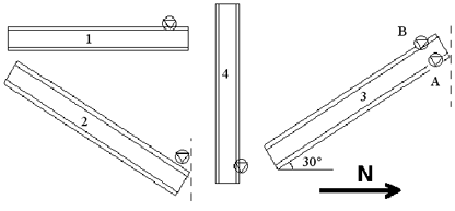
Per le diverse parti, Tekla Structures disegna le marche di orientamento nel modo seguente:
-
Alla flangia superiore delle travi, all'estremità che indica il punto più vicino al nord o alla direzione definita in
XS_ORIENTATION_MARK_DIRECTION(vedere le parti 1 e 2 nell'immagine di seguito) -
All'estremità inferiore delle colonne, sulla flangia che indica il punto più vicino al nord o alla direzione definita in
XS_ORIENTATION_MARK_DIRECTION(vedere la parte 4 nell'immagine di seguito) -
Alla flangia del controvento, all'estremità che indica il punto più vicino al nord o alla direzione definita in
XS_ORIENTATION_MARK_DIRECTION(vedere 3 A e B nell'immagine di seguito)
È possibile visualizzare le marche di direzione nelle viste di officina comprese nei disegni di assemblaggio impostando l'opzione avanzata XS_SINGLE_ORIENTATION_MARK su TRUE.
Visualizzazione del collegamento marche laterali
È possibile utilizzare un simbolo nei disegni di assemblaggio per indicare il lato di una parte a cui è connesso una parte di collegamento.
Il collegamento delle marche laterali può essere impostato dalle proprietà del livello vista disegno solo sulle parti secondarie (in genere piatti di taglio come mostrato nell'immagine di esempio riportata di seguito). Il collegamento della marca laterale alla parte principale dell'assemblaggio può essere impostato a livello di oggetto nelle proprietà della parte del disegno.
Se necessario, è possibile modificare il simbolo di collegamento marca lato laterale con l'opzione avanzata XS_CONNECTING_SIDE_MARK_SYMBOL e utilizzare XS_MIN_DISTANCE_FOR_CONNECTING_SIDE_MARKper controllare se il collegamento marca laterale viene disegnato o meno.
Per ulteriori informazioni sull'aggiunta e l'utilizzo di simboli nei Tekla Structures disegni, vedere Aggiungere simboli nei disegni.
