Angeben der Teilausrichtung
Teilausrichtungssymbole zeigen die Aufbaurichtung von Baugruppen und Bauteilen an. Es gibt mehrere Möglichkeiten zum Angeben der Teilausrichtung: mithilfe von Teilbezeichnungen, durch Einschließen der Himmelsrichtung in Bezeichnungen und durch Anzeigen von Richtungssymbolen und Knotenmarkierungen.
Weitere Informationen über die Auswirkung der Einstellung für die Anordnung der Bezeichnung auf die Bezeichnungsplatzierung, die Art der Führungslinie, vordefinierte Einstellungen für Bezeichnungsplatzierung und Teilanordnung, Modellierrichtung für Teile und Schreibsperreneinstellungen für Zeichnungen finden Sie unter Platzierung der Bezeichnung.
Teilbezeichnung als Richtungssymbol in Übersichtszeichnungen verwenden
In Übersichtszeichnungen erscheinen die Teilbezeichnungen am selben Ende wie in Zusammenbauzeichnungen. Teile mit identischer Zusammenbaugruppenposition sind stets am selben Ende bezeichnet.
-
In Übersichtszeichnungen verhalten sich die Teilbezeichnungen der Bauteile genauso wie die Bezeichnungen von Baugruppen, außer wenn Abziehfläche auf Vorn oder Hinten (in der Registerkarte Parameter des Dialogfelds Benutzerdefinierte Attribute des Teils) eingestellt ist. Über diese Einstellungen wird die Platzierung der Teilbezeichnung bestimmt.
-
Denken Sie beim Aktualisieren einer Zusammenbauzeichnung durch Platzieren der Bezeichnung am anderen Ende des Teils daran, auch die Bezeichnungen in der entsprechenden Übersichtszeichnung zu aktualisieren. Tekla Structures führt dies nicht automatisch durch.
-
Bei Einstellung der erweiterten Option XS_UPSIDE_DOWN_TEXT_ALLOWED auf
TRUEist zu beachten, dass die Textleserichtung die Installationsrichtung des Teils bestimmt.
Beispiel
Die Teilbezeichnung wird auf der Seite der Steife angeordnet:
Die Bezeichnungen werden unabhängig von der Ausrichtung der Träger immer auf der gleichen Seite positioniert:
Himmelsrichtung in Bezeichnungen anzeigen
Sie können die Teilausrichtungsinformationen in Teilbezeichnungen einfügen. Unabhängig davon, wo Sie die Bezeichnung hinzufügen oder verschieben, bleibt die Teilausrichtung unverändert. Die Teilausrichtung gibt die Himmelsrichtung (Nord, Ost, Süd, West) der Fläche an, auf der die Bezeichnung erscheint.
Einschränkung: Tekla Structures gibt die Flächenrichtung nur dann an, wenn sie für alle Baugruppen oder Bauteile mit derselben Baugruppen- oder Bauteilpositionsnummer übereinstimmt.
Nun zeigen die Baugruppen- oder Bauteilzeichnung die Flächenrichtung in den Teilemarkierungen.
Zum Einblenden der Windrose in Übersichtszeichnungen stellen Sie unter die Option Bezeichnung immer in der Mitte der Stütze bei Übersichtszeichnungen auf Nein ein.
Richtungssymbole zeigen (Nordpfeile)
Sie können Richtungssymbole oder Windrosen (Nordpfeile) verwenden, um die Montageausrichtung von Baugruppen anzuzeigen. Das Standardrichtungssymbol ist ein Dreieck in einem Kreis.
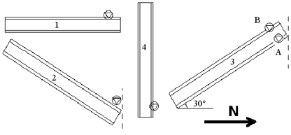
Zeichnet für verschiedene Teile Tekla Structures die Ausrichtungsbezeichnungen wie folgt:
-
Zum Oberflansch der Träger an dem Ende, das am meisten nach Norden oder in eine andere in
XS_ORIENTATION_MARK_DIRECTIONdefinierte Himmelsrichtung zeigt (siehe Teil 1 und 2 in der Abbildung unten) -
Zum unteren Ende der Stützen auf dem Flansch, der am meisten nach Norden oder in eine andere in
XS_ORIENTATION_MARK_DIRECTIONdefinierte Himmelsrichtung zeigt (siehe Teil 4 in der Abbildung unten) -
Zum Flansch des Tragekabels an dem Ende, das am meisten nach Norden oder in eine andere in
XS_ORIENTATION_MARK_DIRECTIONdefinierte Himmelsrichtung zeigt (siehe Teil 3 A und B in der Abbildung unten)
Sie können Richtungssymbole für in Zusammenbauzeichnungen enthaltene Einzelteilansichten anzeigen, indem Sie die erweiterte Option XS_SINGLE_ORIENTATION_MARK auf TRUE setzen.
Knotenmarkierungen einblenden
Sie können ein Symbol in Zusammenbauzeichnungen verwenden, um die Seite eines Teils zu markieren, an der ein Verbindungsteil angebracht ist.
Beachten Sie, dass Knotenmarkierungen von den Eigenschaften auf Zeichnungsansichtsebene aus Nur Nebenteile festgelegt werden können (typische Scherplatten wie im unten gezeigten Beispielbild dargestellt). Die Knotenmarkierung des Hauptteils der Baugruppe kann auf der Objektebene in den Zeichnungsteileigenschaften festgelegt werden.
Bei Bedarf können Sie das Symbol für die Knotenmarkierungen mit der erweiterten Option XS_CONNECTING_SIDE_MARK_SYMBOL ändern und über XS_MIN_DISTANCE_FOR_CONNECTING_SIDE_MARK bestimmen, ob die Knotenmarkierung gezeichnet wird oder nicht.
Weitere Informationen zum Hinzufügen und Verwenden von Symbolen in Tekla Structures Zeichnungen finden Sie unter Hinzufügen von Symbolen in Zeichnungen.
