Onderdeeloriëntatie aangeven
Oriëntatiesymbolen van onderdelen geven de montagerichting van merken en betonelementen aan. Er zijn veel manieren beschikbaar om onderdeeloriëntatie aan te geven: door onderdeellabels te gebruiken, door de windrichting in labels op te nemen en oriëntatiesymbolen en verbindingszijdesymbolen weer te geven.
Als u wilt controleren welk effect de labelplaatsingsinstellingen, het type van de aanhaallijn, de vooraf gedefinieerde instellingen voor labellocatie en onderdeeloriëntatie, de modelleerrichting van onderdelen en de beveiligingsinstellingen van tekeningen hebben op de locatie van het label, raadpleegt u Labellocatie.
Een onderdeellabel als een oriëntatiesymbool in overzichttekeningen gebruiken
In overzichttekeningen worden onderdeellabels aan hetzelfde uiteinde van het onderdeel weergegeven als in merktekeningen. Labels van onderdelen met dezelfde merkpositie verschijnen altijd aan hetzelfde uiteinde.
-
In overzichttekeningen werken de betononderdeellabels hetzelfde als de merkonderdeellabels, behalve wanneer op het tabblad Parameters van het dialoogvenster Gebruikersattributen van het onderdeel de optie Stortzijde is ingesteld op Voorzijde of Achterzijde. Met deze instellingen wordt bepaald op welk uiteinde het onderdeellabel wordt geplaatst.
-
Als u een merktekening bijwerkt, zodat het label is geplaatst aan het andere uiteinde van het onderdeel, moet u de labels in de bijbehorende overzichttekening ook bijwerken. Dit wordt niet automatisch bijgewerkt in Tekla Structures.
-
Onthoud ook dat als u de variabele XS_UPSIDE_DOWN_TEXT_ALLOWED hebt ingesteld op
TRUE, de leesrichting van de tekst de richting van de onderdeelinstallatie aangeeft.
Voorbeeld
Het onderdeellabel wordt aan de kant van het schotje geplaatst:
De labels worden aan dezelfde kant geplaatst, ongeacht de richting van de liggers:
De kompasrichting in onderdeellabels weergeven
U kunt informatie over de aanzichtsrichting opnemen in onderdeellabels. De aanzichtsrichting blijft hetzelfde, ongeacht waar u het label toevoegt of naartoe verplaatst. De aanzichtsrichting geeft de kompasrichting (noord, oost, zuid, west) aan van de zijde waarop het label wordt weergegeven.
Beperking: Tekla Structures geeft de richting van de zijde van het onderdeel alleen aan als deze hetzelfde is voor alle merken of betonelementen met hetzelfde merk- of betonpositienummer.
Het merk of de betontekeningen geven nu de aanzichtsrichting in de onderdeellabels weer.
Als u de kompasrichting in overzichttekeningen wilt weergeven, gaat u naar en stelt u Oriëntatiemerk altijd op hart kolom in G-tekening in op Nee.
Oriëntatiesymbolen weergeven (noordsymbolen)
U kunt met oriëntatiesymbolen of noordsymbolen de montagerichting van merken aangeven. Het standaardsymbool voor de oriëntatie is een driehoek in een cirkel.
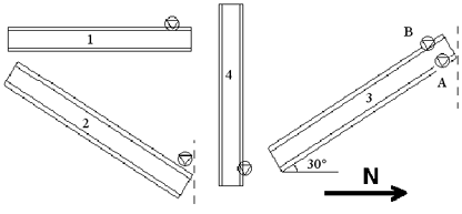
Tekla Structures tekent voor verschillende onderdelen oriëntatiesymbolen op de volgende manier:
-
Naar de bovenste flens van liggers, aan het uiteinde dat het meest naar het noorden of een andere in
XS_ORIENTATION_MARK_DIRECTIONgedefinieerde richting wijst (zie onderdeel 1 en 2 in de onderstaande afbeelding) -
Naar het onderste uiteinde van kolommen, op de flens die het meest naar het noorden of een andere in
XS_ORIENTATION_MARK_DIRECTIONgedefinieerde richting wijst (zie onderdeel 4 in de onderstaande afbeelding) -
Naar de flens van het windverband, aan het uiteinde dat het meest naar het noorden of een andere in
XS_ORIENTATION_MARK_DIRECTIONgedefinieerde richting wijst (zie onderdeel 3 A en B in de onderstaande afbeelding)
U kunt oriëntatiesymbolen weergeven voor onderdeelaanzichten die in merktekeningen zijn opgenomen, door de variabele XS_SINGLE_ORIENTATION_MARK op TRUE in te stellen.
Verbindingszijdesymbolen weergeven
U kunt in merktekeningen met een symbool de zijde van een onderdeel aangeven waarop een aansluitend onderdeel wordt bevestigd.
Merk op dat verbindingszijdesymbolen alleen op basis van de eigenschappen op tekeningaanzichtniveau van aansluitende onderdelen kunnen worden ingesteld (meestal schuifplaten zoals weergegeven in het voorbeeld dat in de onderstaande afbeelding wordt weergegeven). Het verbindingszijdesymbool naar het hoofdonderdeel van het merk kan op objectniveau in de onderdeeleigenschappen van het tekening worden ingesteld.
U kunt indien nodig het verbindingszijdesymbool wijzigen met de variabele XS_CONNECTING_SIDE_MARK_SYMBOL en XS_MIN_DISTANCE_FOR_CONNECTING_SIDE_MARK gebruiken om te definiëren of het verbindingszijdesymbool wel of niet wordt getekend.
Raadpleeg voor meer informatie over symbolen toevoegen en gebruiken in Tekla Structures-tekeningen het artikel Symbolen in tekeningen toevoegen.
