Wskazywanie orientacji elementu
Znaki orientacji elementu pokazują kierunek konstruowania zespołów i zespołów betonowych. Istnieje wiele sposobów wskazywania kierunku elementu: poprzez użycie znaków elementu, dołączenie kierunków kompasu w znakach oraz pokazywanie znaków orientacji i znaków stron połączenia.
Aby dowiedzieć się, jaki wpływ na położenie znaku mają ustawienia umieszczenia znaków, typ linii odniesienia, wstępnie określone ustawienia położenia znaków i orientacji elementów, kierunki modelowania elementów oraz ustawienia ochrony rysunków, zobacz Położenie znaku.
Użycie znaku elementu jako znaku orientacji w rysunkach zestawczych
Na rysunkach zestawczych znaki elementów są wyświetlane na tym samym końcu co na rysunkach zespołów. Elementy o takiej samej pozycji zespołu zawsze są oznaczane na tym samym końcu.
-
Na rysunkach zestawczych znaki elementów zespołów betonowych zachowują się tak samo jak znaki elementów zespołów, z wyjątkiem sytuacji, gdy w oknie dialogowym Atrybuty zdefiniowane przez użytkownika na zakładce Parametry w ustawieniu Góra powierzchni czołowej formy zaznaczono wartość Przód lub Tył. Ustawienia te informują o końcu, na którym umieszczono znak elementu.
-
Podczas aktualizacji rysunku zespołu w taki sposób, że znak jest umieszczany na drugim końcu elementu, pamiętaj, aby zaktualizować znaki w odpowiednim rysunku zestawczym. Tekla Structures nie robi tego automatycznie.
-
Pamiętaj też, że jeśli masz dla opcji zaawansowanej XS_UPSIDE_DOWN_TEXT_ALLOWED wybrane ustawienie
TRUEkierunek odczytu tekstu wskazuje kierunek montażu elementu.
Przykład
Znak elementu jest umieszczany po stronie żebra:
Znaki są umieszczone po tej samej stronie bez względu na orientacje belek:
Wyświetlanie stron świata w znakach elementów
W znakach elementów można umieszczać informacje o kierunku przedniej strony. Niezależnie od tego, gdzie dodasz lub przeniesiesz znak, kierunek przedniej strony pozostanie taki sam. Kierunek powierzchni pokazuje stronę świata (północ, południe, wschód, zachód) powierzchni, na której jest wyświetlany znak.
Ograniczenie: Tekla Structures wskazuje kierunek powierzchni tylko wtedy, gdy jest on taki sam dla wszystkich zespołów lub zespołów betonowych o takim samym numerze pozycji.
Teraz na rysunkach zespołów i zespołów betonowych będą w znakach wyświetlane kierunki powierzchni.
Aby wyświetlić strony świata w rysunkach zestawczych, przejdź do i ustaw dla Na rysunku zestawczym znak zawsze pośrodku słupa wartość Nie.
Wyświetlanie znaków orientacji (znaków północy)
Za pomocą znaków orientacji lub znaków północy można wskazywać kierunek budowy zespołów. Domyślnym znakiem orientacji jest trójkąt wpisany w okrąg.
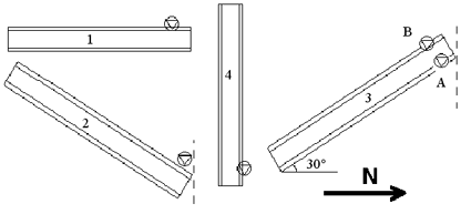
Dla różnych elementów Tekla Structures rysuje znaki orientacji w następujący sposób:
-
Do górnej półki w belkach, na końcu wskazującym kierunek najbliższy północy lub kierunek zdefiniowany w ustawieniu
XS_ORIENTATION_MARK_DIRECTION(zobacz elementy 1 i 2 na poniższej ilustracji) -
Do dolnego końca w słupach, na półce wskazującej kierunek najbliższy północy lub kierunek zdefiniowany w ustawieniu
XS_ORIENTATION_MARK_DIRECTION(zobacz element 4 na poniższej ilustracji) -
Do półki w stężeniu, na końcu wskazującym kierunek najbliższy północy lub kierunek zdefiniowany w ustawieniu
XS_ORIENTATION_MARK_DIRECTION(zobacz elementy 3 A i B na poniższej ilustracji)
Znaki orientacji dla widoków pojedynczych elementów zawartych w rysunkach zespołów można wyświetlać, ustawiając w opcji zaawansowanej XS_SINGLE_ORIENTATION_MARK wartość TRUE.
Wyświetlanie znaków stron połączenia
Symbol w rysunkach zespołów może służyć do wskazania strony elementu, do której jest przymocowany element łączący.
Należy pamiętać, że znaki stron połączenia można ustawiać tylko od właściwości poziomu widoku rysunku do części podrzędnych (zazwyczaj blach ścinanych, takich jak pokazane na przykładowej ilustracji poniżej). Znak strony połączenia z elementem głównym zespołu można ustawić na poziomie obiektu we właściwościach elementu rysunku.
W razie potrzeby można zmienić symbol znaku strony połączenia za pomocą opcji zaawansowanej XS_CONNECTING_SIDE_MARK_SYMBOL, a przy użyciu opcji XS_MIN_DISTANCE_FOR_CONNECTING_SIDE_MARK określić, czy znak strony połączenia ma być rysowany, czy nie.
Więcej informacji na temat dodawania i używania symboli na rysunkach Tekla Structures zawiera temat Dodawanie symboli na rysunkach.
