梁と柱の部材接合
ガセット プレート
| 例 | 説明 |
|---|---|
|
|
シンプルガセットプレートに柱フランジを接合。 [シンプルシアープレート (146)] を使用します。 |
|
|
シンプル ガセット プレートを縁端/柱フランジに接合。 [シンプルシアープレート (146)] を使用します。 |
|
|
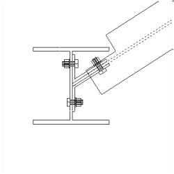
シート配置角度オプションを使用して、シンプル ガセット プレートを柱フランジに接合。 [シンプルシアープレート (146)] を使用します。 |
|
|
シンプルガセットプレートに柱フランジを接合。 ボルト削除オプション。 [シンプルシアープレート (146)] を使用します。 |
|
|
柱スチフナー付きガセット プレート。 [スチフナーコネクション 柱4 (182)] を使用します。 |
|
|
柱スチフナー付きガセット プレート。 副部材は勾配を持つ。 [スチフナーコネクション 柱4 (182)] を使用します。 |
|
|
柱スチフナー付きガセット プレート。 ボルトは副部材の方向に揃っている。 [スチフナーコネクション 柱4 (182)] を使用します。 |
|
|
柱スチフナー付きガセット プレート。 ボルト削除オプション。 [スチフナーコネクション 柱4 (182)] を使用します。 |
|
|
柱スチフナー付きガセットプレート。 [スチフナー付 (186)] を使用します。 |
|
|
柱スチフナー付きガセットプレート。 副部材は勾配を持つ。 [スチフナー付 (186)] を使用します。 |
|
|
柱スチフナー付きガセットプレート。 副部材は斜め。 [スチフナー付 (186)] を使用します。 |
|
|
ガセット プレートを柱フランジへ柱スチフナーで接合。 [スチフナー付 (188)] を使用します。 |
|
|
ガセット プレートを柱フランジへ柱スチフナーで接合。 モーメント コネクション オプション用の溶接開先およびスカラップ。 [スチフナー付 (188)] を使用します。 |
|
|
ボルト モーメント コネクションを柱フランジに柱スチフナーで接合。 [ボルト-モーメントコネクション (134)] を使用します。 |
|
|
ボルト モーメント コネクションを柱ウェブに接合。 [ボルト-モーメントコネクション (134)] を使用します。 |
|
|
ボルト モーメント コネクションを柱ウェブに接合。 副部材は勾配を持つ。 [ボルト-モーメントコネクション (134)] を使用します。 |
|
|
モーメント コネクションを柱フランジに溶接。 梁の溶接開先およびスカラップオプション。 [モーメントコネクション (181)] を使用します。 |
|
|
モーメント コネクションを柱フランジに溶接。 勾配を持つ。 [モーメントコネクション (181)] を使用します。 |
|
|
チューブ柱を貫通するガセット プレート。 [せん断プレートチューブ柱 (189)] を使用します。 |
|
|
チューブ柱を貫通するガセット プレート。 2 つの副部材。 [せん断プレートチューブ柱 (189)] を使用します。 |
|
|
チューブ柱を貫通するガセット プレート。 2 つの副部材。 プレートを柱の上まで延長するオプション。 [せん断プレートチューブ柱 (189)] を使用します。 |
|
|
チューブ柱を貫通するガセット プレート。 2 つの副部材、水平および/または勾配を持つ。 ボルト配置オプション。 [せん断プレートチューブ柱 (189)] を使用します。 |
|
|
チューブ柱を貫通するガセット プレート。 元の 2 つの副部材に後から 3 つ目の副部材を接合。 [せん断プレートチューブ柱 (189)] を使用します。 |
クリップ アングル
| 例 | 説明 |
|---|---|
|
|
柱フランジまたはウェブへのクリップ アングル ジョイント。 片側/両側クリップ。 溶接/ボルト、ボルト/ボルト、溶接/溶接オプションがあります。 [クリップアングル (141)] を使用します。 |
|
|
柱フランジまたはウェブへのクリップ アングル ジョイント。 片側/両側クリップ。 副部材は勾配を持つ。 副部材のカットは直角または斜めのオプションがあります。 [クリップアングル (141)] を使用します。 |
|
|
柱フランジまたはウェブへのクリップ アングル ジョイント。 片側/両側クリップ。 モーメント コネクション用の溶接開先およびスカラップ。 [クリップアングル (141)] を使用します。 |
|
|
クリップ アングル ジョイントを柱ナイフ ジョイントに接合。 下フランジは、架設のためにブロック化または切り取り。 [クリップアングル (141)] を使用します。 |
|
|
クリップ アングル ジョイントを柱に接合。 シート アングル オプション。 上面/下面/両方。 [クリップアングル (141)] を使用します。 |
|
|
柱フランジまたはウェブへのクリップ アングル ジョイント。 片側/両側クリップ。 ハンチ拡張オプション。 上面/下面/両方。 [クリップアングル (141)] を使用します。 |
|
|
柱フランジまたはウェブへのクリップ アングル ジョイント。 片側/両側クリップ。 回転した副部材。 [クリップアングル (141)] を使用します。 |
|
|
クリップ アングル ジョイント。 片側/両側クリップ。 2 つの副部材。 ボルト/ボルト、溶接/ボルト、溶接/溶接オプションがあります。 [両面クリップアングル (143)] を使用します。 |
|
|
クリップ アングル ジョイント。 片側/両側クリップ。 2 つの副部材。 ハンチ拡張オプション。 上面/下面/両方。 [両面クリップアングル (143)] を使用します。 |
|
|
クリップ アングル ジョイント。 片側/両側クリップ。 2 つの副部材。 モーメント コネクション用の溶接開先およびスカラップ。 [両面クリップアングル (143)] を使用します。 |
|
|
クリップ アングル ジョイント。 ボルトの許容精度を確保する副部材の自動ノッチ付け。 [両面クリップアングル (143)] を使用します。 |
|
|
クリップ アングル ジョイント。 片側/両側クリップ。 回転した 2 つの副部材。 [両面クリップアングル (143)] を使用します。 |
エンド プレート
| 例 | 説明 |
|---|---|
|
|
エンド プレート ジョイントを柱フランジまたはウェブに接合。 副部材は水平または勾配、直交または斜め。 [エンドプレート (144)] を使用します。 |
|
|
フル デプス エンド プレートジョイントを柱フランジまたはウェブに接合。 副部材は水平または勾配、直交または斜め。 [エンドプレート (144)] を使用します。 |
|
|
エンド プレート ジョイントを柱プレートに接合。 ハンチ付き拡張プレートのオプション。 [エンドプレート (144)] を使用します。 |
|
|
エンド プレート ジョイントを柱フランジに接合。 柱スチフナー オプション。 [エンドプレート (144)] を使用します。 |
|
|
エンド プレート ジョイントを柱に接合。 回転した副部材。 [エンドプレート (144)] を使用します。 |
|
|
エンド プレートのジョイント。 2 つの副部材。 ボルトの許容精度を確保する自動ノッチ付け。 ハンチ オプション。 [両面エンドプレート (142)] を使用します。 |
折れ板
| 例 | 説明 |
|---|---|
|
|
折れ板ジョイントを柱フランジに接合。 副部材は斜めまたは直交する。 プレートの手前側\向う側\両側。 [折れ板 (190)] を使用します。 |
|
|
折れ板ジョイントを柱ウェブに接合。 副部材は斜めまたは直交する。 プレートの手前側\向う側\両側。 [折れ板 (190)] を使用します。 |
溶接 T
| 例 | 説明 |
|---|---|
|
|
柱に T を溶接。 [溶接されたT (32)] を使用します。 |
シート ジョイント
| 例 | 説明 |
|---|---|
|
|
スチフナー付き梁シート。 [レールジョイント (170)] を使用します。 |
|
|
梁シートの上下にスチフナーを接合。 ボルト付けオプションが多数あります。 [レールジョイント (170)] を使用します。 |
|
|
梁シート。 複数スチフナー オプション。 [レールジョイント (170)] を使用します。 |
|
|
梁シート。 副部材をオフセット。 [レールジョイント (170)] を使用します。 |
ベアリング タイプ キャップ プレート
| 例 | 説明 |
|---|---|
|
|
片持ち梁をキャップ プレートで柱の上に接合。 [USベースプレート (71)] を使用します。 |
|
|
片持ち梁をキャップ プレートで柱の上に接合。 副部材は勾配を持つ。 [USベースプレート (71)] を使用します。 |
|
|
片持ち梁をキャップ プレートで柱の上に接合。 梁スチフナー オプション。 [USベースプレート (71)] を使用します。 |
|
|
片持ち梁をキャップ プレートで柱の上に接合。 柱スチフナー オプション。 [USベースプレート (71)] を使用します。 |
|
|
柱キャップ プレートに 2 つの梁を接合。 梁スチフナー オプション。 [シーティング(39)] を使用します。 |
|
|
梁柱間キャップ プレート。 メイン部材にチューブ レールを接合。 凸円またはボルト孔にアクセスするオプションがあります。 [間柱・レール (100)] を使用します。 |
|
|
耐風柱を梁に接合するジョイント。 [耐風柱-垂木 (5)] を使用します。 |
|
|
耐風柱を梁に接合するジョイント。 プレート オフセット オプション。 [耐風柱-垂木 (5)] を使用します。 |
胴縁を柱に接合
| 例 | 説明 |
|---|---|
|
|
1 つの胴縁を柱に接合。 アングル ジョイント。 [レールジョイント (70)] を使用します。 |
|
|
2 つの胴縁を柱に接合。 アングル ジョイント。 [レールジョイント (70)] を使用します。 |
|
|
梁を柱のアウトリガー ジョイントに接合。 メイン部材および副部材のスチフナー オプション。 [スタブ(28)] を使用します。 |
|
|
2 つの胴縁を柱に接合。 WT ジョイント。 [USシートジョイント3 (74)] を使用します。 |