Verbindingen ligger-tegen-kolomconstructie
Afschuifklampen
| Voorbeeld | Beschrijving |
|---|---|
|
|
Eenvoudige afschuifklamp aan kolomflens. Gebruik Afschuiving (146). |
|
|
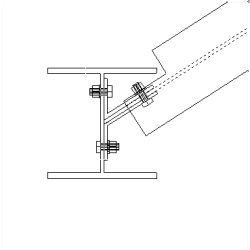
Eenvoudige afschuifklamp aan rand-/kolomflens. Gebruik Afschuiving (146). |
|
|
Eenvoudige afschuifklamp aan kolomflens met hoeksteunopties. Gebruik Afschuiving (146). |
|
|
Eenvoudige afschuifklamp aan kolomflens. Boutverwijderingsopties. Gebruik Afschuiving (146). |
|
|
Gevormde afschuifklamp met kolomschotjes. Gebruik Kolom-ligger (182). |
|
|
Gevormde afschuifklamp met kolomschotjes. Schuin aansluitend onderdeel. Gebruik Kolom-ligger (182). |
|
|
Gevormde afschuifklamp met kolomschotjes. Bouten uitgelijnd met aansluitend onderdeel. Gebruik Kolom-ligger (182). |
|
|
Gevormde afschuifklamp met kolomschotjes. Boutverwijderingsoptie. Gebruik Kolom-ligger (182). |
|
|
Afschuifklamp met kolomschotjes. Gebruik Kolom-ligger (186). |
|
|
Afschuifklamp met kolomschotjes. Schuin aansluitend onderdeel. Gebruik Kolom-ligger (186). |
|
|
Afschuifklamp met kolomschotjes. Schuin aansluitend onderdeel. Gebruik Kolom-ligger (186). |
|
|
Afschuifklamp naar kolomflens met kolomschotjes. Gebruik Kolom-ligger (188). |
|
|
Afschuifklamp naar kolomflens met kolomschotjes. Optie voor lasvoorbewerking en toegangsgaten voor lassen voor momentverbinding. Gebruik Kolom-ligger (188). |
|
|
Moment verbinding gebout naar kolomflens met kolomschotjes. Gebruik Moment verbinding gebout (134). |
|
|
Moment verbinding gebout aan kolomlijf. Gebruik Moment verbinding gebout (134). |
|
|
Moment verbinding gebout aan kolomlijf. Schuin aansluitend onderdeel. Gebruik Moment verbinding gebout (134). |
|
|
Aan kolomflens gelaste momentverbinding. Opties voor lasvoorbewerking voor liggers en voor las-toegangsgaten. Gebruik Momentverbinding (181). |
|
|
Aan kolomflens gelaste momentverbinding. Afgeschuind. Gebruik Momentverbinding (181). |
|
|
Afschuifklamp door buiskolom. Gebruik 2 liggers-kolom (189). |
|
|
Afschuifklamp door buiskolom. Twee aansluitende onderdelen. Gebruik 2 liggers-kolom (189). |
|
|
Afschuifklamp door buiskolom. Twee aansluitende onderdelen. Optie voor plaat die bij bovenzijde van kolom wordt verlengd. Gebruik 2 liggers-kolom (189). |
|
|
Afschuifklamp door buiskolom. Twee aansluitende onderdelen, recht en/of schuin. Opties voor boutuitlijning. Gebruik 2 liggers-kolom (189). |
|
|
Afschuifklamp door buiskolom. Derde aansluitende onderdeel na verbinding die bij oorspronkelijke twee aansluitende onderdelen wordt toegepast. Gebruik 2 liggers-kolom (189). |
Hoekstalen
| Voorbeeld | Beschrijving |
|---|---|
|
|
Hoekstaalverbinding met kolomflens of -lijf. Enkel- of dubbelzijdig hoekstaal. Opties: gelast/gebout, gebout/gebout, gelast/gelast. Gebruik Hoekstaal gebout (141). |
|
|
Hoekstaalverbinding met kolomflens of -lijf. Enkel- of dubbelzijdig hoekstaal. Schuin aansluitend onderdeel. Opties voor vierkant of bevel cut aansluitend onderdeel. Gebruik Hoekstaal gebout (141). |
|
|
Hoekstaalverbinding met kolomflens of -lijf. Enkel- of dubbelzijdig hoekstaal. Lasvoorbewerking en toegangsgaten voor lassen voor momentverbinding. Gebruik Hoekstaal gebout (141). |
|
|
Hoekstaalverbinding met de verbinding van de kolommen. Onderflens uitgeraveeld voor montage. Gebruik Hoekstaal gebout (141). |
|
|
Hoekstaalverbinding met kolom. Optie: hoeksteun. Onder/boven/beide. Gebruik Hoekstaal gebout (141). |
|
|
Hoekstaalverbinding met kolomflens of -lijf. Enkel- of dubbelzijdig hoekstaal. Optie: coupextensie. Onder/boven/beide. Gebruik Hoekstaal gebout (141). |
|
|
Hoekstaalverbinding met kolomflens of -lijf. Enkel- of dubbelzijdig hoekstaal. Geroteerd aansluitend onderdeel. Gebruik Hoekstaal gebout (141). |
|
|
Hoekstaalverbinding. Enkel- of dubbelzijdig hoekstaal. Twee aansluitende onderdelen. Opties gebout/gebout, gelast/gebout, gelast/gelast. Gebruik Hoekstaal gebout, 2 zijden (143). |
|
|
Hoekstaalverbinding. Enkel- of dubbelzijdig hoekstaal. Twee aansluitende onderdelen. Optie: coupextensie. Onder/boven/beide. Gebruik Hoekstaal gebout, 2 zijden (143). |
|
|
Hoekstaalverbinding. Enkel- of dubbelzijdig hoekstaal. Twee aansluitende onderdelen. Lasvoorbewerking en toegangsgaten voor lassen voor momentverbinding. Gebruik Hoekstaal gebout, 2 zijden (143). |
|
|
Hoekstaalverbinding. Automatische raveling van aansluitend onderdeel voor boutspeling. Gebruik Hoekstaal gebout, 2 zijden (143). |
|
|
Hoekstaalverbinding. Enkel- of dubbelzijdig hoekstaal. Twee aansluitende onderdelen geroteerd. Gebruik Hoekstaal gebout, 2 zijden (143). |
Eindplaten
| Voorbeeld | Beschrijving |
|---|---|
|
|
Eindplaatverbinding met een kolomflens of -lijf. Recht of schuin, vierkant of afgeschuind aansluitend onderdeel. Gebruik Eindplaat (144). |
|
|
Verbinding eindplaat ligger-ligger met kolomflens of -lijf. Recht of schuin, vierkant of afgeschuind aansluitend onderdeel. Gebruik Eindplaat (144). |
|
|
Eindplaatverbinding met kolomlijf. Optie voor verlengde plaat met coupplaten. Gebruik Eindplaat (144). |
|
|
Eindplaatverbinding met kolomflens. Optie voor kolomschotje. Gebruik Eindplaat (144). |
|
|
Eindplaatverbinding met kolom. Geroteerd aansluitend onderdeel. Gebruik Eindplaat (144). |
|
|
Eindplaatverbinding. Twee aansluitende onderdelen. Automatische raveling voor boutspeling. Optie: coup. Gebruik Eindplaat 2 zijden (142). |
Gezette plaat
| Voorbeeld | Beschrijving |
|---|---|
|
|
Gezette-plaatverbinding met kolomflens Schuin of vierkant aansluitend onderdeel. Plaat bij linkerzijde/rechterzijde/beide zijden. Gebruik Gezette plaat (190). |
|
|
Gezette-plaatverbinding met kolomlijf. Schuin of vierkant aansluitend onderdeel. Plaat bij linkerzijde/rechterzijde/beide zijden. Gebruik Gezette plaat (190). |
Gelaste T
| Voorbeeld | Beschrijving |
|---|---|
|
|
Gelast T-stuk met kolom. Gebruik Gelast hoekstaal (32). |
Gesteunde verbinding
| Voorbeeld | Beschrijving |
|---|---|
|
|
Liggersteun met schotjes. Gebruik Regel aansluiting (170). |
|
|
Liggersteun boven en onder met schotjes. Diverse boutopties. Gebruik Regel aansluiting (170). |
|
|
Liggersteun. Diverse schotjesopties. Gebruik Regel aansluiting (170). |
|
|
Liggersteun. Offset aansluitend onderdeel. Gebruik Regel aansluiting (170). |
Type ondersteuning kopplaat
| Voorbeeld | Beschrijving |
|---|---|
|
|
Liggercantilever over kolom met kopplaat. Gebruik U.S. Voetplaat (71). |
|
|
Liggercantilever over kolom met kopplaat. Schuin aansluitend onderdeel. Gebruik U.S. Voetplaat (71). |
|
|
Liggercantilever over kolom met kopplaat. Optie: liggerschotje. Gebruik U.S. Voetplaat (71). |
|
|
Liggercantilever over kolom met kopplaat. Optie voor kolomschotje. Gebruik U.S. Voetplaat (71). |
|
|
Twee liggers met kolomkopplaat. Opties voor liggerschotje. Gebruik Kolom - doorg. ligger (39). |
|
|
Kopplaat liggerkolom. Buisstaalregels naar hoofdonderdeel. Toegangsopties voor de bol- of gatenbout. Gebruik Kokers doorkoppelen (100). |
|
|
Verbinding windkolom met ligger. Gebruik Wind kolom (5). |
|
|
Verbinding windkolom met ligger. Optie: offset plaat. Gebruik Wind kolom (5). |
Girt met kolom
| Voorbeeld | Beschrijving |
|---|---|
|
|
Enkele girt met kolom. Hoekverbinding. Gebruik Regel aansluiting (70). |
|
|
Twee girts met kolom. Hoekverbinding. Gebruik Regel aansluiting (70). |
|
|
Ligger-kolom steunbalkverbinding Opties voor schotjes hoofdonderdeel en aansluitend onderdeel. Gebruik Kraanbaan console (28). |
|
|
Twee girts met kolom. GEWICHT-verbinding. Gebruik U.S. Seat Joint 3 (74). |