Uniones de estructura de viga a columna
Placas cortantes
| Ejemplo | Descripción |
|---|---|
|
|
Placa cortante simple a ala de columna. Utilice Placa simple (146). |
|
|
Placa cortante simple a borde/ala de columna. Utilice Placa simple (146). |
|
|
Placa cortante simple a ala de columna con opciones de angulares de montaje. Utilice Placa simple (146). |
|
|
Placa cortante simple a ala de columna. Opciones de eliminación de tornillos. Utilice Placa simple (146). |
|
|
Placa cortante con forma con rigidizadores de columna. Utilice Pilar con rigidizadores (182). |
|
|
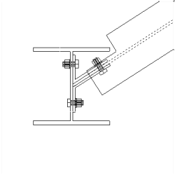
Placa cortante con forma con rigidizadores de columna. Parte secundaria inclinada. Utilice Pilar con rigidizadores (182). |
|
|
Placa cortante con forma con rigidizadores de columna. Tornillos alineados con la parte secundaria. Utilice Pilar con rigidizadores (182). |
|
|
Placa cortante con forma con rigidizadores de columna. Opción de eliminación de tornillos. Utilice Pilar con rigidizadores (182). |
|
|
Placa cortante con rigidizadores de columna. Utilice Pilar con rigidizadores (186). |
|
|
Placa cortante con rigidizadores de columna. Parte secundaria inclinada. Utilice Pilar con rigidizadores (186). |
|
|
Placa cortante con rigidizadores de columna. Parte secundaria sesgada. Utilice Pilar con rigidizadores (186). |
|
|
Placa cortante a ala de columna con rigidizadores de columna. Utilice Pilar con rigidizadores (188). |
|
|
Placa cortante a ala de columna con rigidizadores de columna. Preparación de soldadura y agujeros de acceso a soldaduras para la opción de unión momento. Utilice Pilar con rigidizadores (188). |
|
|
Unión momento atornillada a ala de columna con rigidizadores de columna. Utilice Unión momento atornillada (134). |
|
|
Unión momento atornillada a alma de columna. Utilice Unión momento atornillada (134). |
|
|
Unión momento atornillada a alma de columna. Parte secundaria inclinada. Utilice Unión momento atornillada (134). |
|
|
Unión momento soldada a ala de columna. Opciones de preparación de soldadura y de agujeros de acceso a soldaduras. Utilice Unión momento (181). |
|
|
Unión momento soldada a ala de columna. Inclinado. Utilice Unión momento (181). |
|
|
Placa cortante a través de columna tubular. Utilice Placa en pilar tubular (189). |
|
|
Placa cortante a través de columna tubular. Dos partes secundarias. Utilice Placa en pilar tubular (189). |
|
|
Placa cortante a través de columna tubular. Dos partes secundarias. Placa extendida a la parte superior de la opción de columna. Utilice Placa en pilar tubular (189). |
|
|
Placa cortante a través de columna tubular. Dos partes secundarias, a nivel y/o inclinadas. Opciones de alineación de tornillos. Utilice Placa en pilar tubular (189). |
|
|
Placa cortante a través de columna tubular. La tercera parte secundaria tras la unión aplicada a dos partes secundarias originales. Utilice Placa en pilar tubular (189). |
Ángulos de unión
| Ejemplo | Descripción |
|---|---|
|
|
Unión de ángulo de unión a ala o alma de columna. Unión de un lado/dos lados. Opciones de soldado/atornillado, atornillado/atornillado, soldado/soldado. Utilice Ángulo de unión (141). |
|
|
Unión de ángulo de unión a ala o alma de columna. Unión de un lado/dos lados. Parte secundaria inclinada. Opciones secundarias de corte oblicuo o en ángulo recto. Utilice Ángulo de unión (141). |
|
|
Unión de ángulo de unión a ala o alma de columna. Unión de un lado/dos lados. Preparación de soldadura y agujeros de acceso a soldaduras para unión momento. Utilice Ángulo de unión (141). |
|
|
Unión de ángulo de unión a unión cuchillo de columna. Ala inferior bloqueada o cortada para montaje. Utilice Ángulo de unión (141). |
|
|
Unión de ángulo de unión a columna. Opción de ángulo de montaje. Superior/Inferior/Ambos. Utilice Ángulo de unión (141). |
|
|
Unión de ángulo de unión a ala o alma de columna. Unión de un lado/dos lados. Opción de extensión de cantonera. Superior/Inferior/Ambos. Utilice Ángulo de unión (141). |
|
|
Unión de ángulo de unión a ala o alma de columna. Unión de un lado/dos lados. Parte secundaria rotada. Utilice Ángulo de unión (141). |
|
|
Unión de ángulo de unión. Unión de un lado/dos lados. Dos partes secundarias. Opciones de atornillado/atornillado, soldado/atornillado, soldado/soldado. Utilice Ángulo de unión dos lados (143). |
|
|
Unión de ángulo de unión. Unión de un lado/dos lados. Dos partes secundarias. Opción de extensión de cantonera. Superior/Inferior/Ambos. Utilice Ángulo de unión dos lados (143). |
|
|
Unión de ángulo de unión. Unión de un lado/dos lados. Dos partes secundarias. Preparación de soldadura y agujeros de acceso a soldaduras para unión momento. Utilice Ángulo de unión dos lados (143). |
|
|
Unión de ángulo de unión. Entalladura automática de parte secundaria para proporcionar juego a los tornillos. Utilice Ángulo de unión dos lados (143). |
|
|
Unión de ángulo de unión. Unión de un lado/dos lados. Dos partes secundarias rotadas. Utilice Ángulo de unión dos lados (143). |
Placas de unión
| Ejemplo | Descripción |
|---|---|
|
|
Unión de placa de unión a ala o alma de columna. Parte secundaria en ángulo recto o sesgada, a nivel o inclinada. Utilice Placa de unión (144). |
|
|
Unión de placa de unión de profundidad completa a ala o alma de columna. Parte secundaria en ángulo recto o sesgada, a nivel o inclinada. Utilice Placa de unión (144). |
|
|
Unión de placa de unión a alma de columna. Placa extendida con opción de cantoneras. Utilice Placa de unión (144). |
|
|
Unión de placa de unión a ala de columna. Opción de rigidizador de columna. Utilice Placa de unión (144). |
|
|
Unión de placa de unión a columna. Parte secundaria rotada. Utilice Placa de unión (144). |
|
|
Unión de placa de unión. Dos partes secundarias. Entalladura automática para juego de tornillos. Opción de cantonera. Utilice Placa de unión dos lados (142). |
Placa plegada
| Ejemplo | Descripción |
|---|---|
|
|
Unión de placa plegada a ala de columna. Parte secundaria sesgada o en ángulo recto. Placa de lado cercano/lado lejano/ambos lados. Utilice Placa plegada (190). |
|
|
Unión de placa plegada a alma de columna. Parte secundaria sesgada o en ángulo recto. Placa de lado cercano/lado lejano/ambos lados. Utilice Placa plegada (190). |
T soldada
| Ejemplo | Descripción |
|---|---|
|
|
T soldada a columna. Utilice T soldada (32). |
Unión de montaje
| Ejemplo | Descripción |
|---|---|
|
|
Montaje de viga con rigidizadores. Utilice Unión carril (170). |
|
|
Montaje de viga superior e inferior con rigidizadores. Varias opciones de atornillado. Utilice Unión carril (170). |
|
|
Montaje de viga. Varias opciones de rigidizador. Utilice Unión carril (170). |
|
|
Montaje de viga. Desplazamiento de parte secundaria. Utilice Unión carril (170). |
Placa capitel de apoyo
| Ejemplo | Descripción |
|---|---|
|
|
Viga sobre columna con placa capitel. Utilice Unión placa base U.S. (71). |
|
|
Viga sobre columna con placa capitel. Parte secundaria inclinada. Utilice Unión placa base U.S. (71). |
|
|
Viga sobre columna con placa capitel. Opción de rigidizador de viga. Utilice Unión placa base U.S. (71). |
|
|
Viga sobre columna con placa capitel. Opción de rigidizador de columna. Utilice Unión placa base U.S. (71). |
|
|
Dos vigas a placa capitel de columna. Opciones de rigidizador de viga. Utilice Montaje pilar (39). |
|
|
Placa capitel de columna de viga. Carriles de acero tubulares a parte principal. Opciones de acceso de tornillos de coronación o agujero. Utilice Montaje Tubo Pilar (100). |
|
|
Unión pilar a dintel. Utilice Pilar a dintel (5). |
|
|
Unión pilar a dintel. Opción de desplazamiento de placa. Utilice Pilar a dintel (5). |
Vigueta a columna
| Ejemplo | Descripción |
|---|---|
|
|
Una única vigueta a columna. Ángulo de unión. Utilice Unión carril (70). |
|
|
Dos viguetas a columna. Ángulo de unión. Utilice Unión carril (70). |
|
|
Unión de rigidizador de viga a columna. Opciones de rigidizador de parte secundaria y principal. Utilice Saliente (28). |
|
|
Dos viguetas a columna. Unión WT. Utilice Unión montaje U.S. 3 (74). |