Beam to column framing connections
Shear tabs
| Example | Description |
|---|---|
|
|
Simple shear tab to column flange. Use Shear plate simple (146). |
|
|
Simple shear tab to edge/column flange. Use Shear plate simple (146). |
|
|
Simple shear tab to column flange with seat angle options. Use Shear plate simple (146). |
|
|
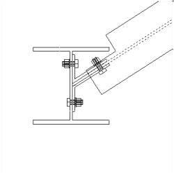
Simple shear tab to column flange. Bolt elimination options. Use Shear plate simple (146). |
|
|
Shaped shear tab with column stiffeners. Use Column with stiffeners W (182). |
|
|
Shaped shear tab with column stiffeners. Sloped secondary. Use Column with stiffeners W (182). |
|
|
Shaped shear tab with column stiffeners. Bolts aligned with secondary part. Use Column with stiffeners W (182). |
|
|
Shaped shear tab with column stiffeners. Bolt elimination option. Use Column with stiffeners W (182). |
|
|
Shear tab with column stiffeners. Use Column with stiffeners (186). |
|
|
Shear tab with column stiffeners. Sloped secondary. Use Column with stiffeners (186). |
|
|
Shear tab with column stiffeners. Skewed secondary. Use Column with stiffeners (186). |
|
|
Shear tab to column flange with column stiffeners. Use Column with stiffeners (188). |
|
|
Shear tab to column flange with column stiffeners. Weld preparation and weld access holes for moment connection option. Use Column with stiffeners (188). |
|
|
Bolted moment connection to column flange with column stiffeners. Use Bolted moment connection (134). |
|
|
Bolted moment connection to column web. Use Bolted moment connection (134). |
|
|
Bolted moment connection to column web. Sloped secondary part. Use Bolted moment connection (134). |
|
|
Welded moment connection to column flange. Beam weld preparation and weld access hole options. Use Moment connection (181). |
|
|
Welded moment connection to column flange. Sloped. Use Moment connection (181). |
|
|
Shear tab through tube column. Use Shear plate tube column (189). |
|
|
Shear tab through tube column. Two secondary parts. Use Shear plate tube column (189). |
|
|
Shear tab through tube column. Two secondary parts. Plate extended to top of column option. Use Shear plate tube column (189). |
|
|
Shear tab through tube column. Two secondary parts, level and/or sloped. Bolt alignment options. Use Shear plate tube column (189). |
|
|
Shear tab through tube column. Third secondary part after connection applied to original two secondary parts. Use Shear plate tube column (189). |
Clip angles
| Example | Description |
|---|---|
|
|
Clip angle connection to column flange or web. Single-sided /double-sided clip. Welded/bolted, bolted/bolted, welded/welded options. Use Clip angle (141). |
|
|
Clip angle connection to column flange or web. Single-sided /double-sided clip. Sloped secondary part. Square or bevel cut secondary options. Use Clip angle (141). |
|
|
Clip angle connection to column flange or web. Single-sided /double-sided clip. Weld preparation and weld access holes for moment connection. Use Clip angle (141). |
|
|
Clip angle connection to column knife connection. Bottom flange blocked or stripped for erection. Use Clip angle (141). |
|
|
Clip angle connection to column. Seat angle option. Top/Bottom/Both. Use Clip angle (141). |
|
|
Clip angle connection to column flange or web. Single-sided /double-sided clip. Haunch extension option. Top/Bottom/Both. Use Clip angle (141). |
|
|
Clip angle connection to column flange or web. Single-sided /double-sided clip. Rotated secondary part. Use Clip angle (141). |
|
|
Clip angle connection. Single-sided /double-sided clip. Two secondary parts. Bolted/bolted, welded/bolted, welded/welded options. Use Two sided clip angle (143). |
|
|
Clip angle connection. Single-sided /double-sided clip. Two secondary parts. Haunch extension option. Top/Bottom/Both. Use Two sided clip angle (143). |
|
|
Clip angle connection. Single-sided /double-sided clip. Two secondary parts. Weld preparation and weld access holes for moment connection. Use Two sided clip angle (143). |
|
|
Clip angle connection. Automatic notching of secondary part to provide bolt clearance. Use Two sided clip angle (143). |
|
|
Clip angle connection. Single-sided /double-sided clip. Two secondary parts rotated. Use Two sided clip angle (143). |
End plates
| Example | Description |
|---|---|
|
|
End plate connection to column flange or web. Level or sloped, square or skewed secondary part. Use End plate (144). |
|
|
Full depth end plate connection to column flange or web. Level or sloped, square or skewed secondary part. Use End plate (144). |
|
|
End plate connection to column web. Extended plate with haunches option. Use End plate (144). |
|
|
End plate connection to column flange. Column stiffener option. Use End plate (144). |
|
|
End plate connection to column. Secondary part rotated. Use End plate (144). |
|
|
End plate connection. Two secondary parts. Automatic notching for bolt clearance. Haunch option. Use Two sided end plate (142). |
Bent plate
| Example | Description |
|---|---|
|
|
Bent plate connection to column flange. Skewed or square secondary part. Plate near side\far side\both sides. Use Bent plate (190). |
|
|
Bent plate connection to column web. Skewed or square secondary part. Plate near side\far side\both sides. Use Bent plate (190). |
Welded tee
| Example | Description |
|---|---|
|
|
Welded tee to column. Use Welded tee (32). |
Seated connection
| Example | Description |
|---|---|
|
|
Beam seat with stiffeners. Use Rail joint (170). |
|
|
Beam seat top and bottom with stiffeners. Various bolting options. Use Rail joint (170). |
|
|
Beam seat. Multiple stiffener options. Use Rail joint (170). |
|
|
Beam seat. Offset secondary part. Use Rail joint (170). |
Bearing type cap plate
| Example | Description |
|---|---|
|
|
Beam cantilever over column with cap plate. Use U.S. Base plate joint (71). |
|
|
Beam cantilever over column with cap plate. Sloped secondary part. Use U.S. Base plate joint (71). |
|
|
Beam cantilever over column with cap plate. Beam stiffener option. Use U.S. Base plate joint (71). |
|
|
Beam cantilever over column with cap plate. Column stiffener option. Use U.S. Base plate joint (71). |
|
|
Two beams to column cap plate. Beam stiffener options. Use Seating (39). |
|
|
Beam column cap plate. Tube steel rails to main part. Cope or hole bolt access options. Use Column tube seating (100). |
|
|
Wind column to beam connection. Use Wind column (5). |
|
|
Wind column to beam connection. Plate offset option. Use Wind column (5). |
Girt to column
| Example | Description |
|---|---|
|
|
Single girt to column. Angle connection. Use Rail joint (70). |
|
|
Two girts to column. Angle connection. Use Rail joint (70). |
|
|
Beam to column outrigger connection. Main and secondary part stiffener options. Use Stub (28). |
|
|
Two girts to column. WT connection. Use U.S. seat joint 3 (74). |