보-기둥 프레이밍 접합부
전단 탭
| 예 | 설명 |
|---|---|
|
|
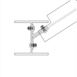
단순 전단 탭을 기둥 플랜지에 접합. Shear plate simple (146)을 사용합니다. |
|
|
단순 전단 탭을 가장자리/기둥 플랜지에 접합. Shear plate simple (146)을 사용합니다. |
|
|
시트 앵글 옵션을 이용해 단순 전단 탭을 기둥 플랜지에 접합. Shear plate simple (146)을 사용합니다. |
|
|
단순 전단 탭을 기둥 플랜지에 접합. 볼트 제거 옵션. Shear plate simple (146)을 사용합니다. |
|
|
기둥 스티프너를 포함한 형상 전단 탭. Column with stiffeners W (182)를 사용합니다. |
|
|
기둥 스티프너를 포함한 형상 전단 탭. 기울기 보조. Column with stiffeners W (182)를 사용합니다. |
|
|
기둥 스티프너를 포함한 형상 전단 탭. 보조 부재와 정렬된 볼트. Column with stiffeners W (182)를 사용합니다. |
|
|
기둥 스티프너를 포함한 형상 전단 탭. 볼트 제거 옵션. Column with stiffeners W (182)를 사용합니다. |
|
|
기둥 스티프너를 포함한 전단 탭. Column with stiffeners (186)를 사용합니다. |
|
|
기둥 스티프너를 포함한 전단 탭. 기울기 보조. Column with stiffeners (186)를 사용합니다. |
|
|
기둥 스티프너를 포함한 전단 탭. 경사 보조. Column with stiffeners (186)를 사용합니다. |
|
|
기둥 스티프너를 포함해 기둥 플랜지에 접합된 전단 탭. Column with stiffeners (188)를 사용합니다. |
|
|
기둥 스티프너를 포함해 기둥 플랜지에 접합된 전단 탭. 모멘트 접합을 위한 용접 개선 및 용접 부위 홀 옵션. Column with stiffeners (188)를 사용합니다. |
|
|
기둥 스티프너를 이용해 볼트 체결 모멘트 접합부를 기둥 플랜지에 접합. Bolted moment connection (134)을 사용합니다. |
|
|
볼트 체결 모멘트 접합부를 기둥 웨브에 접합. Bolted moment connection (134)을 사용합니다. |
|
|
볼트 체결 모멘트 접합부를 기둥 웨브에 접합. 기울기 보조 보재. Bolted moment connection (134)을 사용합니다. |
|
|
용접 모멘트 접합부를 기둥 플랜지에 접합. 보 용접 개선 및 용접 부위 홀 옵션. Moment connection (181)을 사용합니다. |
|
|
용접 모멘트 접합부를 기둥 플랜지에 접합. 기울기. Moment connection (181)을 사용합니다. |
|
|
튜브 기둥을 관통하는 전단 탭. Shear plate tube column (189)을 사용합니다. |
|
|
튜브 기둥을 관통하는 전단 탭. 보조 부재 2개. Shear plate tube column (189)을 사용합니다. |
|
|
튜브 기둥을 관통하는 전단 탭. 보조 부재 2개. 기둥 상단까지 플레이트 연장 옵션. Shear plate tube column (189)을 사용합니다. |
|
|
튜브 기둥을 관통하는 전단 탭. 보조 부재 2개, 수평 및/또는 기울기. 볼트 정렬 옵션. Shear plate tube column (189)을 사용합니다. |
|
|
튜브 기둥을 관통하는 전단 탭. 원래 보조 부재 2개에 접합부 적용 후 세 번째 보조 부재. Shear plate tube column (189)을 사용합니다. |
클립 앵글
| 예 | 설명 |
|---|---|
|
|
기둥 플랜지 또는 웨브에 접합된 클립 앵글. 단면/양면 클립. 용접/볼트 체결, 볼트 체결/볼트 체결, 용접/용접 옵션. Clip angle (141)을 사용합니다. |
|
|
기둥 플랜지 또는 웨브에 접합된 클립 앵글. 단면/양면 클립. 기울기 보조 보재. 정사각형 또는 베벨 절단 보조 옵션. Clip angle (141)을 사용합니다. |
|
|
기둥 플랜지 또는 웨브에 접합된 클립 앵글. 단면/양면 클립. 모멘트 접합을 위한 용접 개선 및 용접 부위 홀. Clip angle (141)을 사용합니다. |
|
|
클립 앵글을 기둥 나이프 접합부에 접합. 설치가 가능하도록 차단 또는 제거된 하단 플랜지. Clip angle (141)을 사용합니다. |
|
|
기둥에 접합된 클립 앵글. 시트 앵글 옵션. 상단/하단/모두. Clip angle (141)을 사용합니다. |
|
|
기둥 플랜지 또는 웨브에 접합된 클립 앵글. 단면/양면 클립. 헌치 연장 옵션. 상단/하단/모두. Clip angle (141)을 사용합니다. |
|
|
기둥 플랜지 또는 웨브에 접합된 클립 앵글. 단면/양면 클립. 회전한 보조 부재. Clip angle (141)을 사용합니다. |
|
|
클립 앵글 접합. 단면/양면 클립. 보조 부재 2개. 볼트 체결/볼트 체결, 용접/볼트 체결, 용접/용접 옵션. Two sided clip angle (143)을 사용합니다. |
|
|
클립 앵글 접합. 단면/양면 클립. 보조 부재 2개. 헌치 연장 옵션. 상단/하단/모두. Two sided clip angle (143)을 사용합니다. |
|
|
클립 앵글 접합. 단면/양면 클립. 보조 부재 2개. 모멘트 접합을 위한 용접 개선 및 용접 부위 홀. Two sided clip angle (143)을 사용합니다. |
|
|
클립 앵글 접합. 볼트 간격 지정을 위한 보조 부재의 자동 노치. Two sided clip angle (143)을 사용합니다. |
|
|
클립 앵글 접합. 단면/양면 클립. 보조 부재 2개 회전. Two sided clip angle (143)을 사용합니다. |
엔드 플레이트
| 예 | 설명 |
|---|---|
|
|
엔드 플레이트를 기둥 플랜지 또는 웨브에 접합. 수평 또는 기울기, 정사각형 또는 경사 보조 부재. End plate (144)를 사용합니다. |
|
|
전체 길이 엔드 플레이트를 기둥 플랜지 또는 웨브에 접합. 수평 또는 기울기, 정사각형 또는 경사 보조 부재. End plate (144)를 사용합니다. |
|
|
엔드 플레이트를 기둥 웨브에 접합. 헌치를 이용한 플레이트 연장 옵션. End plate (144)를 사용합니다. |
|
|
엔드 플레이트를 기둥 플랜지에 접합. 기둥 스티프너 옵션. End plate (144)를 사용합니다. |
|
|
엔드 플레이트를 기둥에 접합. 보조 부재 회전함. End plate (144)를 사용합니다. |
|
|
엔드 플레이트 접합부. 보조 부재 2개. 볼트 클리어런스 자동 노치. 헌치 옵션. Two sided end plate (142)를 사용합니다. |
벤트 플레이트
| 예 | 설명 |
|---|---|
|
|
벤트 플레이트를 기둥 플랜지에 접합. 경사 또는 정사각형 보조 부재. 플레이트 가까운 쪽\먼 쪽\양쪽. Bent plate (190)를 사용합니다. |
|
|
벤트 플레이트를 기둥 웨브에 접합. 경사 또는 정사각형 보조 부재. 플레이트 가까운 쪽\먼 쪽\양쪽. Bent plate (190)를 사용합니다. |
Welded tee
| 예 | 설명 |
|---|---|
|
|
용접된 tee를 기둥에 접합. Welded tee (32)를 사용합니다. |
받침 접합
| 예 | 설명 |
|---|---|
|
|
스티프너가 있는 보 시트. Rail joint (170)을 사용합니다. |
|
|
스티프너가 있는 보 시트 상단 및 하단. 다양한 볼트 체결 옵션. Rail joint (170)을 사용합니다. |
|
|
보 시트. 다수의 스티프너 옵션. Rail joint (170)을 사용합니다. |
|
|
보 시트. 오프셋 보조 부재. Rail joint (170)을 사용합니다. |
지지 유형 캡 플레이트
| 예 | 설명 |
|---|---|
|
|
캡 플레이트를 이용해 기둥 위에 접합된 보 캔틸레버. U.S. Base plate joint (71)를 사용합니다. |
|
|
캡 플레이트를 이용해 기둥 위에 접합된 보 캔틸레버. 기울기 보조 보재. U.S. Base plate joint (71)를 사용합니다. |
|
|
캡 플레이트를 이용해 기둥 위에 접합된 보 캔틸레버. 보 스티프너 옵션. U.S. Base plate joint (71)를 사용합니다. |
|
|
캡 플레이트를 이용해 기둥 위에 접합된 보 캔틸레버. 기둥 스티프너 옵션. U.S. Base plate joint (71)를 사용합니다. |
|
|
보 2개를 기둥 캡 플레이트에 접합. 보 스티프너 옵션. Seating (39)을 사용합니다. |
|
|
보 기둥 캡 플레이트. 튜브 철골 레일을 메인 부재에 접합. 코프 또는 홀 볼트 접근 옵션. Column tube seating (100)을 사용합니다. |
|
|
윈드 기둥-보 접합. Wind column (5)을 사용합니다. |
|
|
윈드 기둥-보 접합. 플레이트 오프셋 위치. Wind column (5)을 사용합니다. |
거트-기둥
| 예 | 설명 |
|---|---|
|
|
단일 거트를 기둥에 접합. 앵글 접합. Rail joint (70)을 사용합니다. |
|
|
거트 2개를 기둥에 접합. 앵글 접합. Rail joint (70)을 사용합니다. |
|
|
보-기둥 아웃리거 접합. 메인 및 보조 부재 스티프너 옵션. Stub (28)을 사용합니다. |
|
|
거트 2개를 기둥에 접합. WT 접합. U.S. seat joint 3 (74)을 사용합니다. |