Connessioni strutturali da trave a colonna
Piatti di taglio
| Esempio | Descrizione |
|---|---|
|
|
Piatto di taglio semplice a flangia colonna. Utilizzare Piastra di accoppiamento semplice (146). |
|
|
Piatto di taglio semplice a flangia colonna/bordo. Utilizzare Piastra di accoppiamento semplice (146). |
|
|
Piatto di taglio semplice a flangia colonna con opzioni angolare di montaggio. Utilizzare Piastra di accoppiamento semplice (146). |
|
|
Piatto di taglio semplice a flangia colonna. Opzioni di eliminazione bulloni. Utilizzare Piastra di accoppiamento semplice (146). |
|
|
Piatto di taglio sagomato con irrigidimenti colonna. Utilizzare Colonna con irrigidimenti W (182). |
|
|
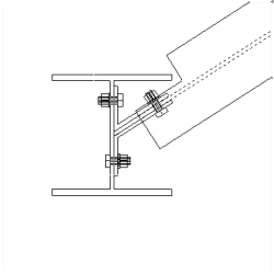
Piatto di taglio sagomato con irrigidimenti colonna. Parte secondaria inclinata. Utilizzare Colonna con irrigidimenti W (182). |
|
|
Piatto di taglio sagomato con irrigidimenti colonna. Bulloni allineati alla parte secondaria. Utilizzare Colonna con irrigidimenti W (182). |
|
|
Piatto di taglio sagomato con irrigidimenti colonna. Opzione di eliminazione bulloni. Utilizzare Colonna con irrigidimenti W (182). |
|
|
Piatto di taglio con irrigidimenti colonna. Utilizzare Colonna con irrigidimenti (186). |
|
|
Piatto di taglio con irrigidimenti colonna. Parte secondaria inclinata. Utilizzare Colonna con irrigidimenti (186). |
|
|
Piatto di taglio con irrigidimenti colonna. Secondario obliquo. Utilizzare Colonna con irrigidimenti (186). |
|
|
Piatto di taglio a flangia colonna con irrigidimenti colonna. Utilizzare Colonna con irrigidimenti (188). |
|
|
Piatto di taglio a flangia colonna con irrigidimenti colonna. Preparazione saldatura e fori di accesso saldatura per opzione di connessione a momento. Utilizzare Colonna con irrigidimenti (188). |
|
|
Connessione a momento bullonata a flangia colonna con irrigidimenti colonna. Utilizzare Connessione a momento bullonata (134). |
|
|
Connessione a momento bullonata ad anima colonna. Utilizzare Connessione a momento bullonata (134). |
|
|
Connessione a momento bullonata ad anima colonna. Parte secondaria inclinata. Utilizzare Connessione a momento bullonata (134). |
|
|
Connessione a momento saldata a flangia colonna. Preparazione saldatura trave e opzioni fori di accesso saldatura. Utilizzare Connessione a momento (181). |
|
|
Connessione a momento saldata a flangia colonna. Inclinato. Utilizzare Connessione a momento (181). |
|
|
Piatto di taglio attraverso colonna tubo. Utilizzare Colonna tubolare con piatto di taglio (189). |
|
|
Piatto di taglio attraverso colonna tubo. Due parti secondarie. Utilizzare Colonna tubolare con piatto di taglio (189). |
|
|
Piatto di taglio attraverso colonna tubo. Due parti secondarie. Opzione piatto esteso a parte superiore colonna. Utilizzare Colonna tubolare con piatto di taglio (189). |
|
|
Piatto di taglio attraverso colonna tubo. Due parti secondarie, allineate e/o inclinate. Opzioni di allineamento bulloni. Utilizzare Colonna tubolare con piatto di taglio (189). |
|
|
Piatto di taglio attraverso colonna tubo. Terza parte secondaria dopo la connessione applicata alle due parti secondarie originali. Utilizzare Colonna tubolare con piatto di taglio (189). |
Angolari
| Esempio | Descrizione |
|---|---|
|
|
Connessione angolari a flangia o anima della colonna. Angolare su un lato/su due lati. Opzioni saldato/imbullonato, imbullonato/imbullonato, saldato/saldato. Utilizzare Angolari (141). |
|
|
Connessione angolari a flangia o anima della colonna. Angolare su un lato/su due lati. Parte secondaria inclinata. Opzioni parte secondaria con taglio inclinato o a squadra. Utilizzare Angolari (141). |
|
|
Connessione angolari a flangia o anima della colonna. Angolare su un lato/su due lati. Preparazione saldatura e fori di accesso saldatura per connessione a momento. Utilizzare Angolari (141). |
|
|
Connessione angolari a connessione a coltello della colonna. Flangia inferiore bloccata o con distanza per costruzione. Utilizzare Angolari (141). |
|
|
Connessione angolari a colonna. Opzione angolare di montaggio. Superiore/Inferiore/Entrambi. Utilizzare Angolari (141). |
|
|
Connessione angolari a flangia o anima della colonna. Angolare su un lato/su due lati. Opzione di estensione rinforzo. Superiore/Inferiore/Entrambi. Utilizzare Angolari (141). |
|
|
Connessione angolari a flangia o anima della colonna. Angolare su un lato/su due lati. Parte secondaria ruotata. Utilizzare Angolari (141). |
|
|
Connessione angolari. Angolare su un lato/su due lati. Due parti secondarie. Opzioni imbullonato/imbullonato, saldato/imbullonato, saldato/saldato. Utilizzare Angolari su due lati (143). |
|
|
Connessione angolari. Angolare su un lato/su due lati. Due parti secondarie. Opzione di estensione rinforzo. Superiore/Inferiore/Entrambi. Utilizzare Angolari su due lati (143). |
|
|
Connessione angolari. Angolare su un lato/su due lati. Due parti secondarie. Preparazione saldatura e fori di accesso saldatura per connessione a momento. Utilizzare Angolari su due lati (143). |
|
|
Connessione angolari. Scantonatura automatica della parte secondaria per garantire la tolleranza tra i bulloni. Utilizzare Angolari su due lati (143). |
|
|
Connessione angolari. Angolare su un lato/su due lati. Due parti secondarie ruotate. Utilizzare Angolari su due lati (143). |
Piatti d'estremità
| Esempio | Descrizione |
|---|---|
|
|
Connessione piatto d'estremità a flange o anima della colonna. Parte secondaria allineata o inclinata, quadrata o obliqua. Utilizzare Piatto d'estremità (144). |
|
|
Connessione piatto d'estremità a completa penetrazione a flangia o anima della colonna. Parte secondaria allineata o inclinata, quadrata o obliqua. Utilizzare Piatto d'estremità (144). |
|
|
Connessione piatto d'estremità ad anima colonna. Opzione piatto esteso con rinforzi. Utilizzare Piatto d'estremità (144). |
|
|
Connessione piatto d'estremità a flange colonna. Opzione irrigidimento colonna. Utilizzare Piatto d'estremità (144). |
|
|
Connessione piatto d'estremità a colonna. Parte secondaria ruotata. Utilizzare Piatto d'estremità (144). |
|
|
Connessione piatto d'estremità. Due parti secondarie. Scantonatura automatica per la tolleranza tra i bulloni. Opzione rinforzo. Utilizzare Piatto d'estremità a due lati (142). |
Piatto piegato
| Esempio | Descrizione |
|---|---|
|
|
Connessione piatto piegato a flange colonna. Parte secondaria obliqua o quadrata. Piatto lato vicino\lato lontano\entrambi i lati. Utilizzare Piatto piegato (190). |
|
|
Connessione piatto piegato ad anima colonna. Parte secondaria obliqua o quadrata. Piatto lato vicino\lato lontano\entrambi i lati. Utilizzare Piatto piegato (190). |
T saldato
| Esempio | Descrizione |
|---|---|
|
|
T saldato a colonna. Utilizzare Profilo a T saldato (32). |
Connessione con appoggio
| Esempio | Descrizione |
|---|---|
|
|
Appoggio trave con irrigidimenti. Utilizzare Connessione parapetto (170). |
|
|
Appoggio trave superiore e inferiore con irrigidimenti. Varie opzioni di imbullonatura. Utilizzare Connessione parapetto (170). |
|
|
Appoggio trave. Più opzioni di irrigidimento. Utilizzare Connessione parapetto (170). |
|
|
Appoggio trave. Parte secondaria con offset. Utilizzare Connessione parapetto (170). |
Piatto di testa tipo di appoggio
| Esempio | Descrizione |
|---|---|
|
|
Mensola trave su colonna con piatto di testa. Utilizzare Giunto piastra di base U.S. (71). |
|
|
Mensola trave su colonna con piatto di testa. Parte secondaria inclinata. Utilizzare Giunto piastra di base U.S. (71). |
|
|
Mensola trave su colonna con piatto di testa. Opzione irrigidimento trave. Utilizzare Giunto piastra di base U.S. (71). |
|
|
Mensola trave su colonna con piatto di testa. Opzione irrigidimento colonna. Utilizzare Giunto piastra di base U.S. (71). |
|
|
Due travi a piatto di testa colonna. Opzioni irrigidimento trave. Utilizzare Seating (39). |
|
|
Piatto di testa colonna trave. Parapetti in acciaio tubo a parte principale. Opzioni di accesso bullone foro o campana. Utilizzare R_Rail on bayonnet (J10). |
|
|
Connessione colonna controvento a trave. Utilizzare Controvento Colonna (5). |
|
|
Connessione colonna controvento a trave. Opzione offset piatto. Utilizzare Controvento Colonna (5). |
Travetto a colonna
| Esempio | Descrizione |
|---|---|
|
|
Travetto singolo a colonna. Connessione angoli. Utilizzare Connessione parapetto (70). |
|
|
Due travetti a colonna. Connessione angoli. Utilizzare Connessione parapetto (70). |
|
|
Connessione rigger esterno da trave a colonna. Opzioni irrigidimento parte principale e parte secondaria. Utilizzare Tronchetto (28). |
|
|
Due travetti a colonna. Connessione WT. Utilizzare Giunto appoggio U.S. 3 (74). |