纵梁切割 (1023)
纵梁剪切 (1023) 在梁上选取的点进行切割并创建角钢截面。
已创建的组件
-
鼻板
-
角钢截面
-
螺栓
-
焊缝
适用于
| 情形 | 描述 |
|---|---|
|
|
在梁上选取的点处创建角钢截面 |
选择顺序
-
选择一根梁。
您可以使用区域选择来选择多个梁。
-
在梁上选择一个位置。
选取位置时将自动创建细部。
部件检索表

| 描述 | |
|---|---|
|
1 |
角钢截面 |
|
2 |
鼻板 |
“图形”选项卡
使用图形选项卡控制细部的几何形状。
尺寸

| 描述 | |
|---|---|
|
1 |
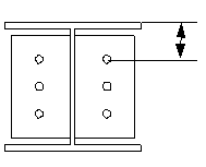
选取点和垂直切割边缘之间的水平距离。 默认情况下,距离为零。 |
|
2 |
鼻板顶部位置与切割梁边缘的垂直距离。 默认情况下,距离为零。 |
|
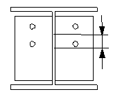
3 |
垂直切割高度。 |
|
4 |
角楔底部位置与梁边缘之间的垂直距离。 默认情况下,距离为零。 |
|
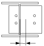
5 |
梁边缘到角钢截面中心线的水平距离。 默认情况下,距离为零。 |
梁末端切割
| 选项 | 描述 |
|---|---|
|
|
默认值 梁末端被切割。 自动默认值可更改此选项。 |
|
|
梁末端被切割。 |
|
|
梁末端未切割。 |
零件选项卡
使用零件选项卡可以定义零件属性。
零件
| 选项 | 描述 | 默认值 |
|---|---|---|
|
鼻板 |
鼻板的厚度、宽度和高度。 如果定义了厚度,将创建前端板,否则不会创建前端板。 |
默认情况下,鼻板尺寸等于垂直切割尺寸。 |
|
角钢截面 |
从型材目录中选择一个型材。 |
角钢夹板的长度由螺栓组和螺栓边距定义。 默认情况下,截面是 L100*100*10。 |
|
选项 |
描述 |
默认值 |
|---|---|---|
|
位置编号 |
零件位置编号的前缀和起始编号。 某些组件还有另一行字段,您可以在其中输入构件位置编号。 |
默认零件起始编号在中的组件设置中定义。 |
|
材料 |
材料级别。 |
默认材料在中的组件设置中的零件材料框中定义。 |
|
名称 |
显示在图纸和报告中的名称。 |
“螺栓”选项卡
使用螺栓选项卡可以定义螺栓组尺寸和螺栓属性。
螺栓组尺寸

| 描述 | |
|---|---|
|
1 |
水平螺栓组位置的尺寸。 |
|
2 |
选择水平螺栓组位置的尺寸测量方式。
|
|
3 |
螺栓边距。 边距指螺栓中心到零件边缘的距离。 |
|
4 |
螺栓的数量。 |
|
5 |
螺栓间距。 请使用空格分隔螺栓间距值。为螺栓间的每个间距输入一个值。例如,如果有 3 个螺栓,则输入 2 个值。 |
|
6 |
垂直螺栓组位置的尺寸。 |
|
7 |
选择垂直螺栓组位置的尺寸测量方式。
|
螺栓基本属性
|
选项 |
描述 |
默认值 |
|---|---|---|
|
螺栓尺寸 |
螺栓直径。 |
可用尺寸在螺栓构件目录中定义。 |
|
螺栓标准 |
组件中使用的螺栓标准。 |
可用标准在螺栓构件目录中定义。 |
|
容许误差 |
螺栓和孔之间的间隙。 |
|
|
垫板中的螺纹 |
定义在使用带螺杆的螺栓时,螺纹是否可以位于栓接的零件的内部。 这在使用全螺纹螺栓时无影响。 |
是 |
|
工地/工厂 |
应安装螺栓的位置。 |
工地 |
槽孔
您可以定义槽孔、扩大孔或内螺纹孔。
|
选项 |
描述 |
默认值 |
|---|---|---|
|
1 |
槽孔的垂直尺寸。 |
0,其结果为圆孔。 |
|
2 |
槽孔的水平尺寸或扩大孔的容许误差。 |
0,其结果为圆孔。 |
|
孔类型 |
开槽创建槽孔。 扩大创建扩大孔。 无孔将不创建孔。 内螺纹创建内螺纹孔。 |
|
|
旋转槽 |
当孔类型为开槽时,此选项旋转槽孔。 |
|
|
开槽于 |
在其中创建槽孔的零件。选项取决于所述的组件。 |
螺栓构件
选中的复选框定义螺栓构件中使用的组件对象(螺栓、垫片和螺母)。
如果您只想创建一个孔,请清除所有复选框。
要修改现有组件中的螺栓构件,请选中修改的效果复选框,然后单击修改。
增加螺栓长度
定义螺栓长度增加的量。例如,当涂装需要增加螺栓长度时,可使用此选项。
螺栓的交错排列
|
选项 |
描述 |
|---|---|
|
|
默认值 不交错 自动默认值可更改此选项。 |
|
|
不交错 |
|
|
交错类型 1 |
|
|
交错类型 2 |
|
|
交错类型 3 |
|
|
交错类型 4 |
通用选项卡
请单击下面的链接了解更多信息:
分析选项卡
请单击下面的链接了解更多信息:
焊缝
请单击下面的链接了解更多信息:



