Policzek-słupek-żebro (69)
Policzek-słupek-żebro (69) tworzy połączenie między podłużnicą schodów i słupkiem poręczy. Połączenie uwzględnia połączenie blachą ścinaną usztywniającą podłużnicę oraz połączenie blachy ścinanej słupka.
Utworzone obiekty
-
Blacha ścinana
-
Żebro
-
śruby
-
Spoiny
Zastosowania
| Sytuacja | Opis |
|---|---|
|
|
Podłużnica połączona ze słupkiem za pomocą blachy ścinanej. |
Kolejność wyboru
-
Wybierz element główny (podłużnica).
-
Wybierz element podrzędny (słupek).
Połączenie zostanie utworzone automatycznie po wybraniu elementu podrzędnego.
Klucz do identyfikacji elementów

|
Opis |
|
|---|---|
|
1 |
Blacha ścinana usztywniająca podłużnicę |
|
2 |
Blacha ścinana słupka |
karta Obraz
Na zakładce Obraz można określić wymiary połączenia.
Wymiary

|
Opis |
|
|---|---|
|
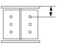
1 |
Odległość pionowa od górnej krawędzi blachy ścinanej słupka do górnej krawędzi podłużnicy. |
|
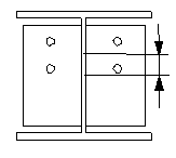
2 |
Odległość pionowa od dolnej krawędzi blachy ścinanej słupka do końca cięcia słupka poręczy. |
|
3 |
Odległość pozioma od górnej krawędzi żebra do podłużnicy. |
|
4 |
Odległość pozioma od dolnej krawędzi żebra do podłużnicy. |
karta Elementy
Zakładka Elementy umożliwia określenie właściwości elementu.
Elementy
|
Opcja |
Opis |
|---|---|
|
Żebro |
Grubość, szerokość i długość żebra. |
|
Profil łączący |
Grubość, szerokość i długość blachy ścinanej. |
|
Opcja |
Opis |
Domyślnie |
|---|---|---|
|
Nr pozycji |
Przedrostek i numer początkowy numeru pozycji elementu. Niektóre komponenty mają drugi wiersz pól, w którym można wprowadzić numer pozycji zespołu. |
Domyślny numer początkowy elementu jest zdefiniowany w ustawieniach Komponenty dostępnych po wybraniu . |
|
Materiał |
Klasa materiału. |
Materiał domyślny jest zdefiniowany w polu Materiał elementu w ustawieniach Komponenty dostępnych po wybraniu . |
|
Nazwa |
Ta nazwa będzie widoczna w rysunkach i raportach. |
|
|
Klasa |
Numer klasy elementu. |
karta Parametry
Na karcie Parametry można zdefiniować fazowanie blachy ścinanej, typ fazowania, pozycję słupka, pozycję połączenia oraz typ żebra.
Fazowanie blachy ścinanej

|
Opis |
|
|---|---|
|
1 |
Wymiar poziomy fazowania blachy ścinanej. |
|
2 |
Wymiar pionowy fazowania blachy ścinanej. |
|
3 |
Wymiar poziomy zewnętrznego fazowania blachy ścinanej. |
|
4 |
Wymiar pionowy zewnętrznego fazowania blachy ścinanej. |
Typ fazowania
|
Opcja |
Opis |
|---|---|
|
|
Domyślna Fazowanie liniowe Ustawienia AutoDefault mogą zmienić tą opcję. |
|
|
Bez fazowania |
|
|
Fazowanie liniowe |
|
|
Fazowanie łukiem wypukłym |
|
|
Fazowanie łukiem wklęsłym |
Położenie słupka
| Opcja | Opis |
|---|---|
![]() |
Domyślna Słupek jest tworzony na osi blachy ścinanej. Ustawienia AutoDefault mogą zmienić tą opcję. |
![]() |
Słupek jest tworzony po lewej stronie blachy ścinanej. |
![]() |
Słupek jest tworzony na osi blachy ścinanej. |
![]() |
Słupek jest tworzony po prawej stronie blachy ścinanej. |
Lokalizacja połączenia
| Opcja | Opis |
|---|---|
![]() |
Domyślna Blacha ścinana znajduje się po prawej stronie blachy żebra. Ustawienia AutoDefault mogą zmienić tą opcję. |
![]() |
Blacha ścinana znajduje się po prawej stronie blachy żebra. |
![]() |
Blacha ścinana znajduje się po lewej stronie blachy żebra. |
Typ żebra
| Opcja | Opis |
|---|---|
![]() |
Domyślna Połączenie o pełnej głębokości z żebrem jest przymocowane do podłużnicy. Ustawienia AutoDefault mogą zmienić tą opcję. |
![]() |
Połączenie o pełnej głębokości z żebrem jest przymocowane do podłużnicy. |
![]() |
Do podłużnicy przymocowana jest prosta blacha ścinana. |
Karta Śruby
Karta Śruby umożliwia określenie wymiarów grupy śrub i właściwości śrub.
Wymiary grupy śrub
|
Opis |
|
|---|---|
|
1 |
Wymiar pozycji pionowej grupy śrub. |
|
2 |
Umożliwia wybranie sposobu mierzenia wymiarów pozycji pionowej grupy śrub.
|
|
3 |
Odległość od krawędzi śruby. odległość od krawędzi to odległość od środka śruby do krawędzi elementu. |
|
4 |
Liczba śrub. |
|
5 |
Rozstaw śrub. Wartości rozstawu śrub należy oddzielać spacją. Należy wprowadzić wartość każdej odległości między śrubami. Na przykład w przypadku 3 śrub należy wprowadzić 2 wartości. |
|
6 |
Określ śruby, które mają być usunięte z grupy śrub. Wprowadzane numery śrub przeznaczonych do usunięcia należy oddzielać spacją. Numery śrub liczy się od lewej do prawej i od góry do dołu. |
Podstawowe właściwości śruby
|
Opcja |
Opis |
Domyślnie |
|---|---|---|
|
Rozmiar śruby |
Średnica śruby. |
Dostępne rozmiary są zdefiniowane w katalogu zespołów śrub. |
|
Norma śruby |
Norma śruby używana w komponencie. |
Dostępne normy są zdefiniowane w katalogu zespołów śrub. |
|
Tolerancja |
Odstęp między śrubą a otworem. |
|
|
Gwint w mat |
Umożliwia zdefiniowanie, czy gwint może się znajdować w elementach przykręcanych, gdy używane są śruby z gwintem częściowym. Ustawienie to nie wywiera efektu, gdy używane są śruby z pełnym gwintem. |
Tak |
Otwory podłużne
Istnieje możliwość zdefiniowania otworów podłużnych, powiększonych lub gwintowanych.
|
Opcja |
Opis |
Domyślnie |
|---|---|---|
|
1 |
Wymiar pionowy otworu owalnego. |
0 — okrągły otwór. |
|
2 |
Wymiar poziomy otworu owalnego lub naddatek dla otworów powiększonych. |
0 - okrągły otwór. |
|
Typ otworu |
Podłużny tworzy otwory podłużne. Powiększony tworzy otwory powiększone. Brak otworu powoduje, że otwory nie są tworzone. Gwintowany tworzy otwory gwintowane. |
|
|
Obróć otwory |
Gdy typ otworu jest ustawiony na Owalny, ta opcja obraca otwory owalne. |
|
|
Owalne otwory w |
Elementy, w których są tworzone otwory podłużne. Dostępne opcje zależą od komponentu. |
Zespół śruby
Zaznaczenie pól wyboru pozwala określić, które obiekty komponentu (śruba, podkładki i nakrętki) mają być używane w zespole śruby.
Aby utworzyć sam otwór, należy usunąć zaznaczenie wszystkich pól wyboru.
Aby zmienić zespół śruby w istniejącym komponencie, należy zaznaczyć pole wyboru Wynik modyfikacji i kliknąć Zmień.
Zwiększenie długości śruby
Umożliwia zdefiniowanie, o ile ma zostać zwiększona długość śruby. Tej opcji można na przykład użyć, gdy malowanie wymaga zwiększenia długości śruby.
Karta Ogólne
Kliknij poniższe łącze, aby uzyskać więcej informacji:
Zakładka Projekt
Kliknij poniższe łącze, aby uzyskać więcej informacji:
Karta Obliczenia
Kliknij poniższe łącze, aby uzyskać więcej informacji:
Spoiny
Kliknij poniższe łącze, aby uzyskać więcej informacji:










