스트링거 지지대 스티프너 (69)
스트링거 지지대 스티프너(69) 는 계단 스트링거와 핸드레일 지지대 사이의 접합부를 생성합니다. 접합부에는 보강된 전단 탭 스트링거 접합부와 전단 탭 지지대 접합부가 포함됩니다.
생성된 객체
-
전단 탭
-
스티프너
-
볼트
-
용접부
용도
| 문제 | 설명 |
|---|---|
|
|
전단 탭을 이용해 지지대에 연결된 스트링거 |
선택 순서
-
메인 부재(스트링거)를 선택합니다.
-
보조 부재(지지대)를 선택합니다.
보조 부재를 선택하면 접합부가 자동 생성됩니다.
부재 식별 키

|
설명 |
|
|---|---|
|
1 |
스트링거 보강 전단 탭 |
|
2 |
지지대 전단 탭 |
그림 탭
그림 탭을 사용하여 접합 치수를 정의합니다.
치수

|
설명 |
|
|---|---|
|
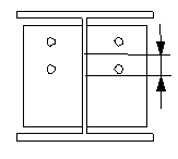
1 |
지지대 전단 탭의 상단 가장자리에서 스트링거 상단 가장자리까지의 수직 거리 |
|
2 |
지지대 전단 탭의 하단 가장자리부터 난간 지지대의 컷 단부까지 수직 거리. |
|
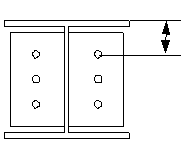
3 |
스티프너의 상단 가장자리에서 스트링거까지의 수평 거리. |
|
4 |
스티프너의 하단 가장자리에서 스트링거까지의 수평 거리. |
부재 탭
부재 탭을 사용하여 부재 속성을 정의합니다.
부재
|
옵션 |
설명 |
|---|---|
|
스티프너 |
스티프너의 두께, 너비 및 길이. |
|
접합 프로파일 |
전단 탭의 두께, 너비 및 길이 |
|
옵션 |
설명 |
기본값 |
|---|---|---|
|
번호 |
부재 번호의 접두사와 시작 번호. 일부 컴포넌트는 어셈블리 위치 번호를 입력할 수 있도록 두 번째 필드 열이 있습니다. |
기본값 부재 시작 번호는 의 컴포넌트 설정에서 정의합니다. |
|
재질 |
재질 등급. |
기본 재질은 의 컴포넌트 설정 내 부재 재질 상자에서 정의합니다. |
|
이름 |
도면 및 보고서에 표시되는 이름. |
|
|
클래스 |
부재 클래스 번호. |
매개변수 탭
매개변수 탭을 사용하여 전단 탭 모따기, 모따기 유형, 지지대 위치, 접합 위치 및 스티프너 유형을 정의합니다.
전단 탭 모따기

|
설명 |
|
|---|---|
|
1 |
전단 탭 모따기의 수평 치수 |
|
2 |
전단 탭 모따기의 수직 치수 |
|
3 |
전단 탭 외부 모따기의 수평 치수. |
|
4 |
전단 탭 외부 모따기의 수직 치수. |
모따기 유형
|
옵션 |
설명 |
|---|---|
|
|
기본값 선 모따기 이 옵션은 오토디폴트에서 변경할 수 있습니다. |
|
|
모따기 없음 |
|
|
선 모따기 |
|
|
볼록 호 모따기 |
|
|
오목 호 모따기 |
지지대 위치
| 옵션 | 설명 |
|---|---|
![]() |
기본값 지지대가 전단 탭의 중심선에 생성됩니다. 이 옵션은 오토디폴트 변경할 수 있습니다. |
![]() |
지지대가 전단 탭의 왼쪽에 생성됩니다. |
![]() |
지지대가 전단 탭의 중심선에 생성됩니다. |
![]() |
지지대가 전단 탭의 오른쪽에 생성됩니다. |
연결 위치
| 옵션 | 설명 |
|---|---|
![]() |
기본값 전단 탭은 스티프너 플레이트의 오른쪽에 있습니다. 이 옵션은 오토디폴트 변경할 수 있습니다. |
![]() |
전단 탭은 스티프너 플레이트의 오른쪽에 있습니다. |
![]() |
전단 탭은 스티프너 플레이트의 왼쪽에 있습니다. |
스티프너 유형
| 옵션 | 설명 |
|---|---|
![]() |
기본값 전체 깊이의 스티프너 플레이트가 스트링거에 부착됩니다. 이 옵션은 오토디폴트 변경할 수 있습니다. |
![]() |
전체 깊이의 스티프너 플레이트가 스트링거에 부착됩니다. |
![]() |
단순 전단 탭이 스트링거에 부착됩니다. |
볼트 탭
볼트 탭을 사용하여 볼트 그룹 치수 및 볼트 속성을 제어합니다.
볼트 그룹 치수
|
설명 |
|
|---|---|
|
1 |
수직 볼트 그룹 위치에 대한 치수. |
|
2 |
수직 볼트 그룹 위치에 대한 치수 측정 방법을 선택합니다.
|
|
3 |
볼트 가장자리 거리 가장자리 거리는 볼트 중심에서 부재 가장자리까지 거리입니다. |
|
4 |
볼트 개수 |
|
5 |
볼트 간격. 스페이스를 사용하여 볼트 간격 값을 구분합니다. 볼트 사이의 각 간격 값을 입력합니다. 예를 들어 볼트가 3개라면 값을 2개 입력합니다. |
|
6 |
볼트 그룹에서 삭제할 볼트를 정의합니다. 삭제할 볼트 번호를 입력하고, 각 번호는 스페이스로 구분합니다. 볼트 번호는 왼쪽에서 오른쪽, 그리고 상단에서 하단 순서입니다. |
볼트 기본 속성
|
옵션 |
설명 |
기본값 |
|---|---|---|
|
볼트 크기 |
볼트 직경. |
사용 가능한 크기는 볼트 어셈블리 카탈로그에서 정의합니다. |
|
볼트 표준 |
컴포넌트 내부에서 사용할 볼트 표준 |
사용 가능한 표준은 볼트 어셈블리 카탈로그에서 정의합니다. |
|
허용오차 |
볼트와 홀 사이의 간격 |
|
|
재료의 스레드 |
샤프트와 함께 볼트를 사용할 때 볼트 이음 부재 내부의 스레드 여부를 정의합니다. 완전 스레드 볼트를 사용할 때는 이 옵션이 아무런 효과가 없습니다. |
예 |
슬롯 홀
슬롯, 특대 또는 태핑 홀을 정의할 수 있습니다.
|
옵션 |
설명 |
기본값 |
|---|---|---|
|
1 |
슬롯 홀의 수직 치수 |
0, 원형 홀 |
|
2 |
슬롯 홀의 수평 치수 또는 특대 홀의 허용 치수 |
0, 원형 홀 |
|
홀 유형 |
슬롯은 슬롯 홀을 생성합니다. 특대는 특대 홀을 생성합니다. 홀 없음은 홀을 생성하지 않습니다. 태핑은 태핑 홀을 생성합니다. |
|
|
슬롯 회전 |
홀 유형이 슬롯이면 이 옵션은 슬롯 홀을 회전시킵니다. |
|
|
슬롯 위치 |
슬롯 홀이 생성되는 부재. 이 옵션은 해당 컴포넌트에 따라 달라집니다. |
볼트 어셈블리
선택되어 있는 확인란에 따라 볼트 어셈블리에서 사용할 컴포넌트 객체(볼트, 와셔 및 너트)가 정의됩니다.
홀만 생성하려면 확인란 선택을 모두 지웁니다.
기존 컴포넌트에서 볼트 어셈블리를 수정하려면 수정 시의 효과 확인란을 선택하고 수정을 클릭합니다.
볼트 길이 늘리기
볼트 길이를 얼만큼 늘릴지 정의합니다. 예를 들어 도장을 하려면 볼트 길이를 늘려야 할 때 이 옵션을 사용합니다.
일반 탭
자세한 정보를 살펴보려면 아래 링크를 클릭하십시오.
설계 탭
자세한 정보를 살펴보려면 아래 링크를 클릭하십시오.
해석 탭
자세한 정보를 살펴보려면 아래 링크를 클릭하십시오.
용접부
자세한 정보를 살펴보려면 아래 링크를 클릭하십시오.










