Baluster trapboom schotjes (69)
Met Baluster - trapboom schotje (69) wordt een verbinding gemaakt tussen een trapboom en een baluster van een handregel. De verbinding bestaat uit een verstevigde verbinding tussen de afschuifklamp en de trapboom en een verbinding tussen de afschuifklamp en de baluster.
Gemaakte objecten
-
Afschuifklamp
-
Schotje
-
Bouten
-
Lassen
Gebruiken voor
| Situatie | Beschrijving |
|---|---|
|
|
Trapboom verbonden met een baluster met een afschuifklamp. |
Volgorde van selectie
-
Selecteer het hoofdonderdeel (trapboom).
-
Selecteer het aansluitende onderdeel (baluster).
De verbinding wordt automatisch gemaakt als het aansluitend onderdeel wordt geselecteerd.
Onderdeelidentificatiecode

|
Beschrijving |
|
|---|---|
|
1 |
Verstevigde afschuifklamp trapboom |
|
2 |
Afschuifklamp baluster |
Tabblad Afbeelding
Gebruik het tabblad Afbeelding om de verbindingsafmetingen te definiëren.
Afmetingen

|
Beschrijving |
|
|---|---|
|
1 |
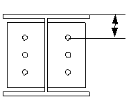
Verticale afstand van de bovenrand van de balusterafschuifklamp tot de bovenrand van de trapboom. |
|
2 |
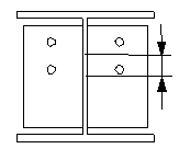
Verticale afstand van de onderrand van de afschuifklamp van de baluster tot het uitgesneden uiteinde van de handregelbaluster. |
|
3 |
Horizontale afstand van de bovenrand van het schotje tot de trapboom. |
|
4 |
Horizontale afstand van de onderrand van het schotje tot de trapboom. |
Tabblad Onderdelen
Gebruik het tabblad Onderdelen om de onderdeeleigenschappen te definiëren.
Onderdelen
|
Optie |
Beschrijving |
|---|---|
|
Schotje |
Dikte, breedte en lengte van het schotje. |
|
Profiel verbinden |
Dikte, breedte en lengte van de afschuifklamp. |
|
Optie |
Beschrijving |
Standaard |
|---|---|---|
|
Pos.nr. |
Prefix en startnummer voor het positienummer van het onderdeel. Sommige componenten hebben een tweede rij met velden waarin u het positienummer van het merk kunt invoeren. |
Het standaard startnummer van het onderdeel wordt gedefinieerd in de categorie Componenten in het menu . |
|
Materiaal |
Materiaalkwaliteit. |
Het standaardmateriaal wordt gedefinieerd in het vak Materiaal van onderdelen in de categorie Componenten in het menu . |
|
Naam |
De naam die in tekeningen en lijsten wordt weergegeven. |
|
|
Klasse |
Onderdeelklassenummer. |
Tabblad Parameters
Op het tabblad Parameters kunt u de afwerking van de afschuifklamp, het type afwerking, de positie van de baluster, de locatie van de verbinding en het type schotje definiëren.
Afwerking afschuifklamp

|
Beschrijving |
|
|---|---|
|
1 |
Horizontale afmeting van de afwerking van de afschuifklamp. |
|
2 |
Verticale afmeting van de afwerking van de afschuifklamp. |
|
3 |
Horizontale afmeting van de buitenste afwerking van de afschuifklamp. |
|
4 |
Verticale afmeting van de buitenste afwerking van de afschuifklamp. |
Type afwerking
|
Optie |
Beschrijving |
|---|---|
|
|
Standaard Lijnvormige afwerking AutoDefaults kan deze optie wijzigen. |
|
|
Geen afwerking |
|
|
Lijnvormige afwerking |
|
|
Bolvormige afwerking |
|
|
Holvormige afwerking |
Positie van de baluster
| Optie | Beschrijving |
|---|---|
![]() |
Standaard De baluster wordt op de hartlijn van de afschuifklamp gemaakt. Deze optie kan worden gewijzigd met behulp van AutoDefaults. |
![]() |
De baluster wordt aan de linkerzijde van de afschuifklamp gemaakt. |
![]() |
De baluster wordt op de hartlijn van de afschuifklamp gemaakt. |
![]() |
De baluster wordt aan de rechterzijde van de afschuifklamp gemaakt. |
Verbindingslocatie
| Optie | Beschrijving |
|---|---|
![]() |
Standaard De afschuifklamp bevindt zich aan de rechterzijde van het schotje. Deze optie kan worden gewijzigd met behulp van AutoDefaults. |
![]() |
De afschuifklamp bevindt zich aan de rechterzijde van het schotje. |
![]() |
De afschuifklamp bevindt zich aan de linkerzijde van de schotje. |
Type schotje
| Optie | Beschrijving |
|---|---|
![]() |
Standaard Een schotje met volledige diepte wordt bevestigd aan de trapboom. Deze optie kan worden gewijzigd met behulp van AutoDefaults. |
![]() |
Een schotje met volledige diepte wordt bevestigd aan de trapboom. |
![]() |
Aan de trapboom wordt een eenvoudige afschuifklamp bevestigd. |
Tabblad Bouten
Gebruik het tabblad Bouten om de afmetingen van boutgroepen en de bouteigenschappen in te stellen.
Maatlijnen van de boutgroep
|
Beschrijving |
|
|---|---|
|
1 |
Maatlijn voor de verticale positie van de boutgroep. |
|
2 |
Selecteer hoe de afmeting voor de verticale positie van de boutgroep moeten worden gemeten.
|
|
3 |
Randafstand bouten. De randafstand is de afstand van het hart van een bout tot de rand van het onderdeel. |
|
4 |
Aantal bouten. |
|
5 |
Boutafstand. Gebruik een spatie als scheidingsteken tussen de waarden voor de boutafstand. Voer een waarde in voor elke afstand tussen de bouten. Voer bijvoorbeeld twee waarden in als er drie bouten in zitten. |
|
6 |
Definieer welke bouten uit de boutgroep worden verwijderd. Voer de boutnummers in van de bouten die moeten worden verwijderd en scheid de nummers met een spatie. Boutnummers lopen van links naar rechts en van boven naar beneden. |
Basiseigenschappen van bouten
|
Optie |
Beschrijving |
Standaard |
|---|---|---|
|
Boutdiameter |
Boutdiameter. |
Beschikbare diameters worden in de boutsamenstellingendatabase gedefinieerd. |
|
Boutnorm |
De boutnorm die in de component moet worden gebruikt. |
Beschikbare normen worden in de boutsamenstellingendatabase gedefinieerd. |
|
Tolerantie |
De ruimte tussen de bout en het gat. |
|
|
Draad in mat |
Hiermee definieert u of de draad van de bout zich in de geboute onderdelen kan bevinden. Deze optie heeft geen effect wanneer er bouten met volledige draad worden gebruikt. |
Ja |
Sleufgaten
U kunt sleufgaten, oversized gaten of tapgaten definiëren.
|
Optie |
Beschrijving |
Standaard |
|---|---|---|
|
1 |
Verticale maat van sleufgat. |
0 heeft een rond gat als resultaat. |
|
2 |
Horizontale maat van sleufgat of speling van oversized gaten. |
0 heeft een rond gat als resultaat. |
|
Gattype |
Met Sleufgat maakt u sleufgaten. Oversized maakt oversized gaten. Geen gat maakt geen gaten. Tapgat maakt tapgaten. |
|
|
Roteer sleufgaten |
Als het type gat Sleufgat is, worden de sleufgaten met deze optie gedraaid. |
|
|
Sleufgat in |
Onderde(el)(len) waarin sleufgaten worden gemaakt. De opties zijn afhankelijk van de betreffende component. |
Boutsamenstelling
Met de selectievakjes wordt gedefinieerd welke componentobjecten (bout, ringen en moeren) in de samenstelling van de bout worden gebruikt.
Als u alleen een gat wilt maken, moet u alle selectievakjes uitschakelen.
Als u de boutsamenstelling van een bestaande component wilt aanpassen, schakelt u het selectievakje Effect bij wijzigen in en klikt u op Wijzigen.
Extra boutlengte
Definieer hoeveel de bout langer moet worden. Gebruik deze optie bijvoorbeeld wanneer diverse verflagen een langere boutlengte vereisen.
Tabblad Algemeen
Klik voor meer informatie op de onderstaande koppeling:
Tabblad Berekening
Klik voor meer informatie op de onderstaande koppeling:
Tabblad Berekening
Klik voor meer informatie op de onderstaande koppeling:
Lassen
Klik voor meer informatie op de onderstaande koppeling:










