Bracing connections

Tekla Structures
Modified: 20 Aug 2024
2024
Tekla Structures

Bracing connections

Simple gusset plate connections

Example Description

Gusset plate to single brace. Horizontal and vertical bracing. Various bracing profiles.

Use Bolted gusset (11).

Load connection attribute < Defaults > and select Defaults for Rule group for best results.

Gusset plate to single brace. Horizontal and vertical bracing. Hollow round brace with pin bolt option.

Use Bolted gusset (11).

Load connection attribute < Defaults > and select Defaults for Rule group for best results.

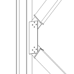
Gusset plate to single brace. Brace and main part at the same elevation.

Use Bolted gusset (11).

Gusset plate to single brace at base plate of column.

Use Bolted gusset (11).

Gusset plate hollow section "Birds mouth" connection to secondary parts.

Use Tube gusset (20).

Gusset plate hollow section tongue plate connection to secondary parts.

Use Tube gusset (20).

Gusset plate to twin profile brace. Vertical or horizontal brace. Multiple bracing members.

Use Bolted gusset (11).

Gusset plate to twin profile brace. Twin profile main part. Welded or bolted to main part.

Use Bolted gusset (11).

Gusset plate with connection plate. Bolted to main part.

Use Bolted gusset (11).

Gusset plate with connection plate. Bolted to main part. Various gusset plate shaping options.

Use Bolted gusset (11).

Gusset plate to hollow section brace. Pin bolt and tension angle option.

Use Bolted gusset (11).

Gusset plate to hollow section brace. Pin bolt and tension angle option.

Use Bolted gusset (11).

Gusset plate to WT section brace. Notching option.

Use Bolted gusset (11).

Load connection attribute < Defaults > and select Defaults for Rule group for best results.

Gusset plate through hollow section column to hollow section bracing at base plate.

Use Bolted gusset (11).

Select column, then brace and brace.

Gusset plate through hollow section column to WT bracing at base plate.

Use Bolted gusset (11).

Select column, then brace and brace.

Gusset plate through hollow section column to angle bracing at base plate. Single or twin profile.

Use Bolted gusset (11).

Select column, then brace and brace.

Wrapped gusset plate W section bracing. Various bracing connection options. Welded/bolted, bolted/bolted.

Use Gusset wrapped cross (62).

Wrapped gusset plate W section bracing. Various bracing connection options. Welded/bolted, bolted/bolted.

Use Gusset wrapped cross (62).

Wrapped gusset plate W section bracing. Various bracing connection options for each brace.

Use Gusset wrapped cross (62).

Wrapped gusset plate W section bracing. Various gusset plate connection options.

Use Gusset wrapped cross (62).

Hollow section bracing tongue plate connection to existing gusset plate.

Use Tube crossing (22).

Wrapped gusset W section bracing connection to existing gusset plate.

Use Wrapped cross (61).

Hollow section bracing WT end connection to existing gusset plate.

Use Portal bracing (105).

Bolted brace connection to existing gusset plate.

Use Bracing cross (19).

Was this helpful?
Submit
Previous
Next