管子连接(6)
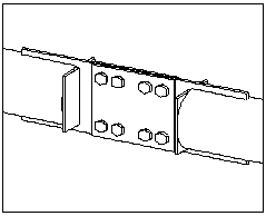
管子连接(6) 将两个矩形中空截面或圆管与接头板连接在一起。会在连接的两端创建端板。节点板将在所连接的零件内部创建切割。
已创建的组件
-
接头板
-
节点板
-
端板
-
焊缝
-
螺栓
-
切割
适用于
|
情形 |
描述 |
|---|---|
|
|
与矩形中空截面的管结合连接。 |
|
|
与圆管的管结合连接。 |
选择顺序
-
选择主零件(柱或梁)。
-
选择次零件(柱或梁)。
选择次零件后自动创建该节点。
部件检索表
|
零件 |
|
|---|---|
|
1 |
接头板 |
|
2 |
节点板 |
|
3 |
端板 |
图片选项卡
使用图片选项卡可控制板的位置。
板位置
|
描述 |
默认值 |
|
|---|---|---|
|
1 |
接头板和端板之间的距离。 |
10 mm |
|
2 |
节点板切割深度。 切割深度影响节点板的尺寸。 |
150 mm |
|
3 |
节点板之间的距离。 |
20 mm |
创建切割
定义节点板是否为它们连接的零件创建切口,以及是否切割端板。
|
选项 |
描述 |
|---|---|
|
|
默认值 节点板不创建切割。 自动默认值可更改此选项。 |
|
|
节点板不创建切割。 |
|
|
节点板创建一个矩形切割。 定义水平和垂直切割尺寸。 |
|
|
节点板创建一个圆形切割。 定义水平和垂直切割尺寸以及切割半径。 |
|
选项 |
描述 |
|---|---|
|
|
默认值 不切割端板。 自动默认值可更改此选项。 |
|
|
不切割端板。 |
|
|
切割端板。 |
零件选项卡
使用零件选项卡可控制板的尺寸、位置、材料、名称和抛光。
板
| 选项 |
描述 |
|---|---|
|
接头板 |
接头板厚度。 |
|
节点板 |
节点板厚度。 |
|
端板 |
端板厚度。 |
|
选项 |
描述 |
默认值 |
|---|---|---|
|
位置编号 |
零件位置编号的前缀和起始编号。 某些组件还有另一行字段,您可以在其中输入构件位置编号。 |
默认零件起始编号在中的组件设置中定义。 |
|
材料 |
材料级别。 |
默认材料在中的组件设置中的零件材料框中定义。 |
|
名称 |
显示在图纸和报告中的名称。 |
|
|
抛光 |
描述如何处理零件表面。 |
螺栓选项卡
使用螺栓选项卡可以控制将接头板连接到节点板的螺栓的属性。
螺栓组尺寸
|
描述 |
|
|---|---|
|
1 |
水平螺栓组位置的尺寸。 |
|
2 |
螺栓边距。 边距指螺栓中心到零件边缘的距离。 |
|
3 |
螺栓的数量。 |
|
4 |
螺栓间距。 请使用空格分隔螺栓间距值。为螺栓间的每个间距输入一个值。例如,如果有 3 个螺栓,则输入 2 个值。 |
|
5 |
螺栓组与所连接零件的中心线的距离。 |
螺栓的交错排列
|
选项 |
描述 |
|---|---|
|
|
默认值 不交错 自动默认值可更改此选项。 |
|
|
不交错 |
|
|
交错类型 1 |
|
|
交错类型 2 |
|
|
交错类型 3 |
|
|
交错类型 4 |
螺栓基本属性
|
选项 |
描述 |
默认值 |
|---|---|---|
|
螺栓尺寸 |
螺栓直径。 |
可用尺寸在螺栓构件目录中定义。 |
|
螺栓标准 |
组件中使用的螺栓标准。 |
可用标准在螺栓构件目录中定义。 |
|
容许误差 |
螺栓和孔之间的间隙。 |
|
|
垫板中的螺纹 |
定义在使用带螺杆的螺栓时,螺纹是否可以位于栓接的零件的内部。 这在使用全螺纹螺栓时无影响。 |
是 |
|
工地/工厂 |
应安装螺栓的位置。 |
工地 |
槽孔
您可以定义槽孔、扩大孔或内螺纹孔。
|
选项 |
描述 |
默认值 |
|---|---|---|
|
1 |
槽孔的垂直尺寸。 |
0,其结果为圆孔。 |
|
2 |
槽孔的水平尺寸或扩大孔的容许误差。 |
0,其结果为圆孔。 |
|
孔类型 |
开槽创建槽孔。 扩大创建扩大孔。 无孔将不创建孔。 内螺纹创建内螺纹孔。 |
|
|
旋转槽 |
当孔类型为开槽时,此选项旋转槽孔。 |
|
|
开槽于 |
在其中创建槽孔的零件。选项取决于所述的组件。 |
螺栓构件
选中的复选框定义螺栓构件中使用的组件对象(螺栓、垫片和螺母)。
如果您只想创建一个孔,请清除所有复选框。
要修改现有组件中的螺栓构件,请选中修改的效果复选框,然后单击修改。
增加螺栓长度
定义螺栓长度增加的量。例如,当涂装需要增加螺栓长度时,可使用此选项。
端板选项卡
使用端板选项卡可以控制端板的形状和尺寸。
端板形状
|
选项 |
描述 |
|---|---|
|
|
方形 默认值 |
|
|
方形 |
|
|
圆形 |
端板折角尺寸
|
描述 |
|
|---|---|
|
1 |
水平折角尺寸。 |
|
2 |
垂直折角尺寸。 |
|
3 |
选择折角类型。 |
端板尺寸
定义方形端板的尺寸。
|
描述 |
|
|---|---|
|
1 |
从端板边缘到柱或梁边缘的水平尺寸。 |
|
2 |
从端板边缘到柱或梁边缘的垂直尺寸。 |
端板尺寸
定义圆形端板的尺寸。
|
描述 |
|
|---|---|
|
1 |
从端板边缘到柱或梁外边缘的尺寸。 |
通用选项卡
请单击下面的链接了解更多信息:
设计选项卡
请单击下面的链接了解更多信息:
分析选项卡
请单击下面的链接了解更多信息:
焊缝
请单击下面的链接了解更多信息:




