梁接梁框架节点
剪切板
| 示例 | 描述 |
|---|---|
|
|
全深度剪切板 - 主零件的次梁切短。 使用带加劲肋的梁(129)。 |
|
|
全深度剪切板 - 次零件倾斜。 使用带加劲肋的梁(129)。 |
|
|
简支剪切板到梁。 使用单剪板(146)。 |
|
|
简支剪切板到梁 - 螺栓排除选项。 使用单剪板(146)。 |
|
|
简支剪切板到梁 - 倾斜的次零件。 使用单剪板(146)。 |
|
|
简支剪切板到梁 - 倾斜的次零件。螺栓和板用次零件定向。 使用单剪板(146)。 |
|
|
简支剪切板到梁 - 倾斜的次零件。斜梁条件。 使用单剪板(146)。 |
|
|
简支剪切板到梁 - 倾斜的次零件。斜梁条件。 使用单剪板(146)。 |
|
|
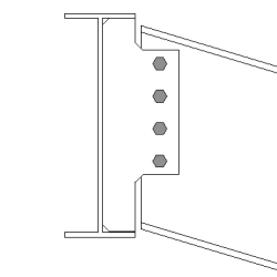
到梁的上翼缘的部分深度剪切板 - 方形或倾斜、加劲肋选项。 使用焊接到上翼缘(147)。 |
|
|
到梁的上翼缘的部分深度剪切板。倾斜/方形或倾斜的。 使用焊接到上翼缘(147)。 |
|
|
到梁的上翼缘的部分深度剪切板,主零件的次梁切短。方形、倾斜。 使用特殊的焊接到上翼缘(149)。 |
|
|
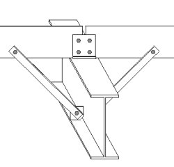
全深度剪切板。方形、倾斜。 使用全深度(184)。 |
|
|
全深度剪切板。主零件的次梁切短。 使用特殊的全深度(185)。 |
|
|
全深度剪切板。主零件的次梁切短。倾斜的次构件。 使用特殊的全深度(185)。 |
|
|
全深度剪切板。主零件的次梁切短。倾斜的次构件(斜梁)。 使用特殊的全深度(185)。 |
|
|
全深度剪切板。主零件的次梁切短。次构件偏移。螺栓排除选项。 使用特殊的全深度(185)。 |
角钢夹板
| 示例 | 描述 |
|---|---|
|
|
角钢节点 – 单侧夹板/双侧夹板。 使用角钢夹板(141)。 |
|
|
角钢节点 – 单侧夹板/双侧夹板。倾斜的次零件。各种槽口选项。 使用角钢夹板(141)。 |
|
|
角钢节点 – 单侧夹板/双侧夹板。焊接预加工选项。 使用角钢夹板(141)。 |
|
|
角钢节点 – 单侧夹板/双侧夹板。倾斜的次零件。 使用角钢夹板(141)。 |
|
|
角钢节点 – 单侧夹板/双侧夹板。两个次零件。螺栓连接-螺栓连接、焊接-螺栓连接、焊接-焊接选项。 使用两侧角钢(143)。 |
|
|
角钢节点 – 单侧夹板/双侧夹板。两个次零件位于不同高度。 使用两侧角钢(143)。 |
|
|
角钢节点 – 单侧夹板/双侧夹板。两个次零件。保险节点。 使用两侧角钢(143)。 |
|
|
角钢节点 – 单侧夹板/双侧夹板。两个次零件。一个倾斜。 使用两侧角钢(143)。 |
端板
| 示例 | 描述 |
|---|---|
|
|
端板节点 - 水平或倾斜、方形或倾斜的次零件。各种槽口选项。 使用端板(144)。 |
|
|
端板节点 – 带或不带腋板的延长板。 使用端板(144)。 |
|
|
端板连接 – 两个次零件。自动开槽以提供螺栓净距。 使用两侧端板(142)。 |
|
|
端板连接 – 两个不同高度次零件。 使用两侧端板(142)。 |
|
|
端板连接 – 两个次零件。方形和/或倾斜。 使用两侧端板(142)。 |
|
|
端板连接 – 两个次零件。保险节点。 使用两侧端板(142)。 |
|
|
端板连接 – 两个次零件。水平和/或倾斜。 使用两侧端板(142)。 |
弯板
| 示例 | 描述 |
|---|---|
|
|
弯板连接 – 倾斜或方形的次零件,近侧和远侧板。 使用弯板(190)。 |
|
|
弯板节点 – 倾斜或方形的次零件,一侧板。 使用弯板(190)。 |
|
|
弯板节点 – 倾斜或方形的次零件,一侧板。各个板放置选项。 使用弯板(190)。 |
|
|
弯板节点 – 倾斜(斜梁)。 使用弯板(190)。 |
承载类型
| 示例 | 描述 |
|---|---|
|
|
梁与梁承载连接。1、2、3 或 4 螺栓的选项。 使用垫座(30)。 |
|
|
梁与梁承载连接。隔板选项。 使用垫座(30)。 |
|
|
梁与梁承载连接。支撑支持。 使用垫座(30)。 |
|
|
使用短柱的梁与梁承载连接。方形、倾斜的情况。 使用相交(4)。 |
|
|
梁与梁夹板类型节点。 使用有铆钉的垫板(36)。 |
|
|
到单个檩条的梁与梁承载檩条节点。 使用檩条连接(93)。 |
|
|
到两个檩条的梁与梁承载檩条节点。 使用檩条连接(93)。 |
|
|
梁与梁承载开槽的支座节点。方形和倾斜的情况。 使用有槽口的垫板(9)。 |
|
|
到主零件的梁与梁承载管钢扶手。割挖或孔螺栓入口选项。 使用钢管轨道(113)。 |
|
|
带角度的梁与梁承载开槽支座。 使用扶手节点(70)。 |
|
|
到两个次零件的梁与梁承载橼子节点。需要槽口。 使用扶手节点(70)。 |
|
|
到两个次零件的梁与梁承载橼子节点。板。需要槽口。 使用扶手节点(70)。 |
|
|
到两个次零件的梁与梁承载橼子节点。需要水平/倾斜的槽口。 使用扶手节点(70)。 |
|
|
到两个次零件的梁与梁完整承载橼子节点。板。 使用冷弯卷边搭接(1)。 |
|
|
到两个次零件的梁与梁完整承载橼子节点。角度。 使用冷弯卷边搭接(1)。 |
|
|
到两个次零件的梁与梁完整承载橼子节点。护膝垫选项。 使用冷弯卷边搭接(1)。 |