Platine (1042)
Platine (1042) crée une platine soudée en pied de poteau.
Objets créés
-
Platine
-
Boulons
-
Plats supplémentaires connectés aux barres d'ancrage
-
Barre d'ancrage
-
Boulons
-
Soudures
-
Composant supplémentaire (facultatif)
Utilisation
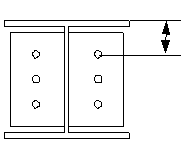
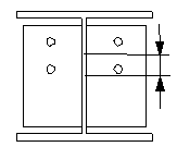
| Situation | Description |
|---|---|
|
|
Détails du pied de poteau |
|
|
Platine excentrée vue de dessus |
Avant de démarrer
Créez un poteau.
Ordre de sélection
-
Sélectionnez la pièce principale (poteau).
-
Sélectionnez une position.
Le détail est créé automatiquement.
Clé d'identification de pièce
|
Pièces |
|
|---|---|
|
1 |
Platine |
Onglet Graphique
Utilisez l'onglet Graphique pour paramétrer la position de la platine.
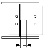
Dimensions
|
Description |
|
|---|---|
|
1 |
Distance entre l'aile de la pièce principale et l'arête de la platine. |
|
2 |
Jeu pour la soudure. |
Onglets Pièces
Utilisez l'onglet Pièces pour paramétrer les dimensions de la platine.
Platine
|
Option |
Description |
Par défaut |
|---|---|---|
|
Plat |
Epaisseur, largeur et hauteur de la platine. |
Epaisseur = 30 mm Largeur = 500 mm Hauteur = 500 mm |
|
Option |
Description |
Défaut |
|---|---|---|
|
Repère |
Préfixe et numéro de début pour le repère de la pièce. Certains composants possèdent une deuxième ligne de champs où vous pouvez entrer le repère de l'assemblage. |
Le numéro de début de pièce par défaut est défini dans les paramètres Composants sous . |
|
Matériau |
Qualité de matériau. |
Le matériau par défaut est défini dans la zone Matériau dans les paramètres Composants sous . |
|
Nom |
Nom à afficher dans les dessins et les listes. |
|
|
Finition |
Décrit le traitement de surface de la pièce. |
Onglet Paramètres
Utilisez l'onglet Paramètres pour paramétrer les dimensions des soudures, le diamètre et la position du trou d'injection, le type de plat, le contrôle de conception et la valeur de l'effort tranchant.
Contrôle de conception
|
Option |
Description |
|---|---|
|
Vérification résistance |
Définit si le contrôle de conception est activé ou désactivé. |
|
Appui |
Définit si le détail et ses composants supportent l'effort tranchant saisi. |
|
Effort normal pondéré (kN) |
Définit l'effort normal pondéré lorsque le contrôle de conception est activé. |
|
Fcu Minimum (N/mm^2) |
Définit le Fcu minimum lorsque le contrôle de conception est activé. |
Effort tranchant
|
Description |
|
|---|---|
|
1 |
Valeur de l'effort tranchant. Entrez une valeur positive si le contrôle de conception est activé. Si aucun effort tranchant n'est appliqué, entrez 0. |
Dimensions de la soudure
|
Description |
|
|---|---|
|
1 |
Dimension de la soudure sur l'aile du poteau. |
|
2 |
Dimension de la soudure sur l'âme du poteau. |
Types de soudures
|
Option |
Description |
|---|---|
|
|
Par défaut Soudure complète Autodéfauts permet de modifier cette option. |
|
|
Soudure complète |
|
|
Soudure partielle |
Diamètre et décalage du trou d'injection
|
Description |
|
|---|---|
|
1 |
Décalage horizontal du trou d'injection par rapport au centre du poteau. |
|
2 |
Diamètre du trou d'injection. |
|
3 |
Décalage vertical du trou d'injection par rapport au centre du poteau. |
Platine dotée d'un trou d'injection
|
Option |
Description |
|---|---|
|
|
Par défaut Aucun trou d'injection n'est créé. Autodéfauts permet de modifier cette option. |
|
|
Aucun trou d'injection n'est créé. |
|
|
Le trou d'injection est créé. |
Encoches de montage de platine
| Option | Description |
|---|---|
|
|
Défaut Les encoches de montage ne sont pas créées. Autodéfauts permet de modifier cette option. |
|
|
Les encoches de montage ne sont pas créées. |
|
|
Les encoches de montage sont créées horizontalement. |
|
|
Les encoches de montage sont créées verticalement pour la première et la dernière ligne de boulons. Pour les autres lignes de boulons, les encoches de montage sont créées horizontalement. |
Tolérance pour les encoches de montage
Définit la tolérance des encoches de montage dans les platines. La largeur de l'encoche est égale au diamètre du boulon, plus la tolérance. Si vous n'entrez pas de valeur, la valeur de tolérance des boulons est utilisée.
Platine avec trous ou boulons
|
Option |
Description |
|---|---|
|
|
Par défaut Les trous sont créés. Autodéfauts permet de modifier cette option. |
|
|
Les trous sont créés. |
|
|
Des boulons sont créés. |
Utilisation de composants supplémentaires
Vous pouvez utiliser des composants système ou personnalisés supplémentaires pour modifier l'extrémité du poteau ou la platine. Par exemple, vous pouvez créer des platines d'appui, des préparations de soudures et des trous d'accès à des soudures spécifiques à l'extrémité du poteau.
Si vous utilisez des composants système ou personnalisés supplémentaires, vous devez gérer les propriétés de l'extrémité du poteau ou de la platine dans le composant supplémentaire en question. Lorsque vous utilisez plusieurs composants, il peut y avoir plusieurs soudures et coupes.
|
Option |
Description |
|---|---|
|
Composant |
Sélectionnez un composant système ou personnalisé dans le catalogue Applications & composants. |
|
Attributs |
Sélectionnez un fichier attributs pour le composant. |
|
Mis en place sur |
Définissez les pièces auxquelles s'applique le composant sélectionné.
|
Onglet Barre d'ancrage
Utilisez l'onglet Barre d'ancrage pour paramétrer la création de divers types de barres d'ancrage.
Pièces de barre d’ancrage
|
Option |
Description |
|---|---|
|
Profil tige |
Profil de barre d'ancrage. Vous pouvez ajouter un commentaire sur la pièce. |
|
Profil écrou |
Profil de l'écrou. |
|
Profil rondelle |
Profil de rondelle. |
|
Rondelle plat |
Epaisseur, largeur et hauteur de la rondelle plat. |
|
Prescel. (CP) |
Epaisseur, largeur et hauteur de la platine de prescellement. |
|
Mortier calage |
Epaisseur du mortier de calage. Le mortier de calage aide à positionner des poteaux au-dessus de pièces en béton et place la platine correctement. Il est également plus facile de coter le détail dans les plans d'ensemble. Le type d'élément béton du mortier de calage est Coulé sur site. Par défaut, aucun mortier de calage n'est créé. Indiquez si le mortier de calage est créé avec ou sans pentes au-dessus ou en dessous du point de création de détail. Cette option affecte également les cales. |
Propriétés des pièces des barres d'ancrage
| Option | Description | Défaut |
|---|---|---|
|
Repère |
Préfixe et numéro de début pour le repère de la pièce. Certains composants possèdent une deuxième ligne de champs où vous pouvez entrer le repère de l'assemblage. |
Le numéro de début de pièce par défaut est défini dans les paramètres Composants sous . |
|
Matériau |
Qualité de matériau. |
Le matériau par défaut est défini dans la zone Matériau dans les paramètres Composants sous . |
|
Nom |
Nom à afficher dans les dessins et les listes. |
|
|
Classe |
Numéro de classe de la pièce. |
|
|
Finition |
Décrit le traitement de surface de la pièce. |
|
|
Commentaire |
Ajoute un commentaire sur la pièce. |
Platine avec
Indiquez si vous voulez créer la platine avec des boulons, des barres d'ancrage ou un composant personnalisé.
Par défaut, la platine est créée avec Boulons.
Dimensions de la barre d'ancrage

| Description | Défaut | |
|---|---|---|
|
1 |
Taille ou longueur de l'écrou. |
Diamètre de la barre d'ancrage |
|
2 |
Taille ou épaisseur de la rondelle. |
Moitié de la dimension de l'écrou |
|
3 |
Jeu entre la platine et l’écrou ou rondelle créé au-dessus de la platine. |
|
|
4 |
Longueur de la barre d'ancrage. |
500 mm |
|
5 |
Longueur de la barre d'ancrage au-dessus de la platine. |
50 mm |
|
6 |
Distance entre la platine de préscellement et la platine. |
60 mm |
|
7 |
Longueur de la partie filetée. |
0 mm |
|
8 |
Types de barres d’ancrage. |
|
|
9 |
Dimensions de la barre d’ancrage. |
Types de barres d'ancrage
|
Option |
Description |
|
|---|---|---|
|
|
Par défaut Type 1 Autodéfauts permet de modifier cette option. |
|
|
|
Type 1 |
|
|
|
a Rayon du crochet b Largeur du crochet |
a = 2 x diamètre de la barre d'ancrage b = 1/5 de la longueur de la barre d'ancrage |
|
|
a Rayon du crochet b Largeur du crochet c Hauteur du crochet |
c = largeur du crochet |
|
|
d Longueur de la barre d'ancrage sous le plat supplémentaire e Longueur du filet inférieur |
d = 2 x dimension écrou e = 4 x dimension écrou plus épaisseur du plat supplémentaire |
Orientation crochet
|
Option |
Description |
|---|---|
|
|
Par défaut Type 1 Autodéfauts permet de modifier cette option. |
|
|
Type 1 |
|
|
Type 2 |
|
|
Type 3 |
|
|
Type 4 |
Sens de boulonnage
Vous pouvez définir le sens de boulonnage si vous avez créé la platine avec des boulons.
|
Option |
Description |
|---|---|
|
|
Par défaut Sens de boulonnage 1 Autodéfauts permet de modifier cette option. |
|
|
Sens de boulonnage 1 |
|
|
Sens de boulonnage 2 |
Tolérance trou platine de prescellement
|
Option |
Description |
Par défaut |
|---|---|---|
|
Tol. trous platine de prescellement |
Définit la tolérance des trous de la platine de prescellement. |
Identique à la tolérance des boulons |
Tolérance trou dans rondelle
|
Option |
Description |
|---|---|
|
Créer un trou dans une rondelle |
Par défaut, aucun trou n'est créé dans la rondelle. Tolérance du trou de la rondelle. |
Créer assemblage pour les ancrages
Définit si les ancrages sont inclus dans l'assemblage de barres d'ancrage. Vous pouvez également inclure les prescellements dans l'assemblage.
Créer
|
Description |
|
|---|---|
|
1 |
Créer le profil écrou. Vous pouvez choisir de créer deux écrous en haut des barres d'ancrage. |
|
2 |
Créez le profil rondelle. |
|
3 |
Créez la rondelle plat. |
Assemblage de barres d'ancrage
Définit les pièces à inclure dans l'assemblage de barres d'ancrage.
Vous pouvez souder les fourrures au-dessus et en dessous de la platine.
Onglet Plats suppl.
Utilisez l'onglet Plats suppl. pour paramétrer le placement, la rotation et le type des profils (Profil sup. 1) créés dans la partie inférieure de chaque barre d'ancrage ainsi que les profils (Profil sup. 2) qui relient les lignes de barres d'ancrage.
Dimensions de la pièce
|
Option |
Description |
Par défaut |
|---|---|---|
|
Profil sup. 1 |
Premier profil supplémentaire défini par sélection dans le catalogue de profils. |
PL10 x 100 |
|
Profil sup. 2 |
Deuxième profil supplémentaire défini par sélection dans le catalogue de profils. |
Propriétés des pièces
|
Option |
Description |
Défaut |
|---|---|---|
|
Repère |
Préfixe et numéro de début pour le repère de la pièce. Certains composants possèdent une deuxième ligne de champs où vous pouvez entrer le repère de l'assemblage. |
Le numéro de début de pièce par défaut est défini dans les paramètres Composants sous . |
|
Matériau |
Qualité de matériau. |
Le matériau par défaut est défini dans la zone Matériau dans les paramètres Composants sous . |
|
Nom |
Nom à afficher dans les dessins et les listes. |
|
|
Classe |
Numéro de classe de la pièce. |
|
|
Finition |
Décrit le traitement de surface de la pièce. |
Pince du profil supplémentaire 1
|
Description |
Défaut |
|
|---|---|---|
|
1 |
Pince du profil supplémentaire 1. |
0 mm |
Type et direction du profil supplémentaire 1
|
Option |
Description |
|---|---|
|
|
Par défaut Type 1 Autodéfauts permet de modifier cette option. |
|
|
Type 1 |
|
|
Type 2 |
|
|
Type 3 |
Pince du profil supplémentaire 2
|
Description |
Par défaut |
|
|---|---|---|
|
1 |
Distance du profil supplémentaire 2 depuis l'axe de la barre d'ancrage. |
Moitié de la dimension de l'écrou ou diamètre de la barre d'ancrage |
Type de profil supplémentaire 2
|
Option |
Description |
|---|---|
|
|
Par défaut Type 1 Autodéfauts permet de modifier cette option. |
|
|
Type 1 |
|
|
Type 2 |
|
|
Type 3 |
|
|
Type 4 |
|
|
Type 5 |
|
|
Type 6 |
Longueur du profil supplémentaire 2
|
Description |
Par défaut |
|
|---|---|---|
|
1 |
Longueur du profil supplémentaire 2 depuis l'axe de la barre d'ancrage. |
0 mm |
Direction du profil supplémentaire 2
|
Option |
Description |
|---|---|
|
|
Par défaut Type 1 Autodéfauts permet de modifier cette option. |
|
|
Type 1 |
|
|
Type 2 |
Propriétés du profil supplémentaire 1
|
Option |
Description |
Défaut |
|---|---|---|
|
Tolérance trous |
Tolérance de perçage du profil supplémentaire 1. |
Identique à la tolérance des boulons |
|
Hauteur du profil circulaire |
Entrez la hauteur du profil supplémentaire circulaire 1. |
|
|
Rotation du profil |
Rotation du profil supplémentaire 1. |
Face |
Rotation profil sup. 2
|
Option |
Description |
Par défaut |
|---|---|---|
|
Rotation profil sup. 2 |
Rotation du profil supplémentaire 2. |
Face |
Onglet Boulons
Utilisez l'onglet Boulons pour paramétrer les propriétés des boulons.
Dimensions du groupe de boulons

|
Description |
|
|---|---|
|
1 |
Sélectionnez la manière dont les dimensions doivent être comptées pour la position horizontale du groupe de boulons.
|
|
2 |
Dimension de la position horizontale du groupe de boulons. |
|
3 |
Pince de la platine. La pince représente la distance entre le centre d'un boulon et l'arête de la pièce. |
|
4 |
Quantité de boulons. |
|
5 |
Ecartement des boulons. Utilisez un espace pour séparer les valeurs d'écartement des boulons. Entrez une valeur pour chaque écartement entre les boulons. Par exemple, s'il y a trois boulons, entrez deux valeurs. |
|
6 |
Sélectionnez la manière dont les dimensions doivent être comptées pour la position verticale du groupe de boulons.
|
|
7 |
Dimension de la position verticale du groupe de boulons. |
|
8 |
Définit les boulons supprimés du groupe de boulons. Entrez les numéros des boulons à supprimer et séparez-les par un espace. Les boulons sont numérotés de gauche à droite et de haut en bas. |
Propriétés de base des boulons
|
Option |
Description |
Défaut |
|---|---|---|
|
Diamètre boulon |
Diamètre du boulon. |
Les longueurs disponibles sont définies dans le catalogue d'assemblages de boulons. |
|
Standard boulon |
Standard boulon à utiliser dans le composant. |
Les standards disponibles sont définis dans le catalogue d'assemblages de boulons. |
|
Tolérance |
Jeu entre le boulon et le trou. |
|
|
Filet dans matière |
Définit si le filet peut se trouver à l'intérieur des pièces boulonnées lorsque des boulons sont utilisés avec un axe. Ceci n'a aucun effet si vous utilisez des boulons entièrement filetés. |
Oui |
|
Montage/Atelier |
Lieu de montage des boulons. |
Site |
Longueur de recherche
Définit la zone dans laquelle Tekla Structures recherche des pièces à boulonner. Vous pouvez déterminer si le boulon traverse une ou deux ailes.
Commentaire
Vous pouvez définir un commentaire.
Trous oblongs
Vous pouvez définir des trous oblongs, surdimensionnés ou taraudés.
|
Option |
Description |
Défaut |
|---|---|---|
|
1 |
Cotation verticale du trou oblong. |
0, ce qui équivaut à un trou rond. |
|
2 |
Cotation horizontale du trou oblong ou tolérance des trous surdimensionnés. |
0, ce qui équivaut à un trou rond. |
|
Type trou |
L'option Oblong crée des trous oblongs. L'option Surdimensionné crée des trous surdimensionnés. Aucun trou ne crée pas de trous. Taraudé crée des trous taraudés. |
|
|
Rotation oblongs |
Si le trou est de type Oblong, cette option fait pivoter les trous oblongs. |
|
|
Oblongs dans |
Pièce(s) dans la(es)quelle(s) les trous oblongs sont créés. Les options dépendent du composant. |
Assemblage de boulon
Les cases à cocher activées définissent les objets du composant (boulons, rondelles et écrous) utilisés dans l'assemblage de boulon.
Si vous voulez créer uniquement un trou, désactivez toutes les cases à cocher.
Pour modifier l'assemblage de boulons d'un composant existant, activez la case à cocher A modifier et cliquez sur Modifier.
Augmentation de la longueur de boulon
Définit l'augmentation de la longueur du boulon. Utilisez cette option lorsque, par exemple, la peinture nécessite l'augmentation de la longueur du boulon.
Disposition des boulons en quinconce
|
Option |
Description |
|---|---|
|
|
Défaut Pas de quinconce Autodéfauts permet de modifier cette option. |
|
|
Pas de quinconce |
|
|
Type de quinconce 1 |
|
|
Type de quinconce 2 |
|
|
Type de quinconce 3 |
|
|
Type de quinconce 4 |
Onglet Général
Pour en savoir plus, cliquez sur le lien ci-dessous :
Onglet Analyse
Pour en savoir plus, cliquez sur le lien ci-dessous :
Soudures
Pour en savoir plus, cliquez sur le lien ci-dessous :



