Crear tornillos
Para crear tornillos, puede crear un grupo de tornillos individual o aplicar un componente que cree automáticamente grupos de tornillos.
Tekla Structures utiliza el mismo comando para crear tornillos, pernos y agujeros. Si desea crear únicamente agujeros, no utilice ningún elemento de tornillo (como tornillos, arandelas y tuercas).
Puede crear marcas diferentes para tornillos y agujeros en los dibujos.
Crear un grupo de tornillos
Crear un solo tornillo
-
En la pestaña
Acero , mantenga pulsada la tecla Mayús y haga clic en
Tornillo
para abrir las propiedades de
Tornillo .
- En Grupo tornillos, seleccione Matriz en la lista Forma.
- En los cuadros Dist tornillo X y Dist tornillo Y, introduzca 0.
-
Cree el tornillo de la misma forma que crearía un grupo de tornillos:
- Seleccione la parte principal a la que se atornillarán las partes secundarias.
- Seleccione las partes secundarias.
- Haga clic con el botón central del ratón para finalizar la selección de partes.
- Elija un punto para indicar el origen del grupo de tornillos.
- Elija un segundo punto para indicar la dirección del eje x.
Crear tornillos usando el componente Tornillo auto
Utilice el componente Tornillo auto para atornillar partes y partes cercanas, placas de adaptación, placas de empalme u otras placas. Tornillo auto sigue la rotación de la parte y encuentra la mejor rotación, de modo que no necesita definir el plano de trabajo. Con Tornillo auto un grupo de tornillos puede abarcar muchas partes, por ejemplo, gestionar un empalme como un solo grupo.
Ejemplos
A continuación, se muestran ejemplos de partes atornilladas usando el componente Tornillo auto. Se resaltan las partes principales y los puntos seleccionados.
Crear un grupo de tornillos desglosando un componente
Un método alternativo de crear tornillos consiste en aplicar primero un componente que incluya grupos de tornillos y, a continuación, desglosar el componente.
Cambiar o añadir partes atornilladas
Puede cambiar las partes que conecta un grupo de tornillos.
- En la pestaña Acero, haga clic en Partes atornilladas.
- Seleccione el grupo de tornillos.
- Vuelva a seleccionar las partes principal y secundarias.
- Haga clic con el botón central del ratón para finalizar la selección de partes.
Forma del grupo de tornillos
Tekla Structures utiliza los valores de los cuadros Dist tornillo X y Dist tornillo Y en las propiedades de Tornillo para determinar la cantidad de tornillos que contiene el grupo de tornillos, tal como se muestra en la tabla siguiente:
|
Forma |
Dist tornillo X |
Dist tornillo Y |
|---|---|---|
|
Matriz |
Separación entre tornillos, en la dirección x del grupo de tornillos. |
Separación entre tornillos, en la dirección y del grupo de tornillos. |
|
Círculo |
Número de tornillos. |
Diámetro del grupo de tornillos. |
|
Lista |
Coordenada x de cada tornillo, desde el punto de origen del grupo de tornillos. |
Coordenada y de cada tornillo, desde el punto de origen del grupo de tornillos. |
Ejemplos
|
Forma del grupo de tornillos |
Dimensiones |
Resultado |
|---|---|---|
|
Matriz |
Dist tornillo X: 150 Dist tornillo Y: 100 |
|
|
Círculo |
Número de tornillos: 6 Diámetro: 100 |
|
|
Lista |
Dist tornillo X: 75 175 250 Dist tornillo Y: 75 -50 0 |
|
Propiedades de tornillo
Utilice las propiedades de Tornillo para ver o modificar las propiedades de un grupo de tornillos. Utilice la sección Agujeros para definir las propiedades de los agujeros de tornillo. Las unidades dependen de las configuraciones en el menú .
|
Opción |
Descripción |
|---|---|
|
Tornillo |
|
|
Tamaño |
Diámetro de tornillo. |
|
Standard |
Estándar/calidad del conjunto de tornillo. |
|
Tipo tornillo |
Permite definir si los tornillos se montan en la obra o en el taller. |
|
Conectar como |
Permite indicar si se va a atornillar una parte secundaria o un sub-conjunto. |
|
Rosca en material |
Indica si la rosca del tornillo puede estar dentro de las partes atornilladas. Tekla Structures no utiliza este valor al calcular la longitud de los tornillos con rosca completa. |
|
Longitud corte |
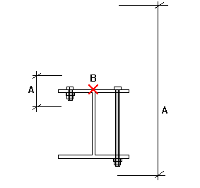
Permite indicar las partes que conecta el tornillo. El valor define el área en la que Tekla Structures debe buscar partes que pertenezcan al grupo de tornillos. Con la longitud de corte puede determinar si el tornillo pasa por un ala o dos. Tekla Structures busca partes utilizando la mitad del valor de la longitud de corte en ambas direcciones desde el plano del grupo de tornillos. En la ilustración siguiente, A es la longitud de corte y B es el origen de tornillo. Tekla Structures calcula el área de búsqueda como A/2 en ambas direcciones desde el punto B.
Tekla Structures muestra una advertencia si la longitud de corte es demasiado pequeña (es decir, el grupo de tornillos no contiene ninguna parte) y cambia la longitud de tornillo a 100 mm. Si hay huecos grandes entre las partes conectadas, el hueco se añade a la longitud del tornillo. Tekla Structures calcula la longitud de tornillo usando la distancia total entre la primera y la última superficie. NOTA: Si desea forzar que un tornillo tenga una determinada longitud, introduzca un valor negativo para la longitud de corte (por ejemplo, -150). NOTA: Si no se pueden crear agujeros o agujeros ciegos, aumente la longitud de corte. |
|
Longitud extra |
Longitud de tornillo adicional. Aumenta el espesor de material que utiliza Tekla Structures al calcular la longitud de tornillo. Por ejemplo, es posible que necesite longitud de tornillo adicional para pintura. También puede incorporar longitudes adicionales en conjuntos de tornillos. |
|
Conjunto |
Seleccione si desea crear arandelas y tuercas con el tornillo. Si desea crear solo agujeros sin tornillos, desactive todas las casillas. |
|
Grupo tornillos |
|
|
Forma |
Forma del grupo de tornillos. Dispone de las siguientes opciones:
|
|
Dist tornillo X |
Separación entre tornillos, número de tornillos o coordenada, según la forma del grupo de tornillos. |
|
Dist tornillo Y |
Separación entre tornillos, diámetro del grupo o coordenada, según la forma del grupo de tornillos. |
|
Número de tornillos |
Número de tornillos en un grupo de tornillos circular. |
|
Diámetro |
Diámetro de un grupo de tornillos circular. |
|
Agujeros |
|
|
Tolerancia |
Tolerancia = Diámetro agujero - Diámetro tornillo |
| Tipo agujero simple |
Seleccione A través para crear agujeros que atraviesan toda la parte. Seleccione Ciego para crear agujeros de profundidad parcial que no se extiendan completamente a través de las partes. |
| Profundidad agujero |
Profundidad de un agujero ciego medida a partir de los puntos de referencia del tornillo/agujero (identificadores amarillo y magenta). Tenga en cuenta que también puede necesitar ajustar el valor de Longitud corte. |
|
Partes con agujeros especiales |
Si desea crear agujeros sobredimensionados u ovalados, seleccione las casillas que desee para indicar las capas de la unión que obtienen agujeros especiales. |
|
Tipo agujero especial |
Sobredimensionado, ovalado o sin agujero. Esta opción se activa al seleccionar las casillas de verificación Agujero especial situadas junto a Partes con agujeros especiales. |
|
Agujero ovalado X |
Juego x de un agujero ovalado. Cero para un agujero redondo. |
|
Agujero ovalado Y |
Juego y de un agujero ovalado. Cero para un agujero redondo. |
|
Rotar ovalados |
Si el tornillo une varias partes, puede rotar alternativamente los agujeros 90 grados. Esto permite que el tornillo se mueva en diferentes direcciones. |
|
Sobredimensionado |
Juego de un agujero sobredimensionado. |
|
Posición |
|
|
En plano |
Permite mover el grupo de tornillos perpendicular al eje x del grupo de tornillos.
|
|
Rotación |
Permite definir a qué distancia se rota el grupo de tornillos alrededor del eje x relativo al plano de trabajo actual. Por ejemplo, puede utilizar este cuadro para indicar en qué lado de las partes conectadas desea que esté la cabeza del tornillo.
|
|
En profundidad |
Permite mover el grupo de tornillos perpendicular al plano de trabajo actual. |
|
Desplazamiento desde |
|
|
Dx, Dy, Dz |
Desplazamientos que mueven el grupo de tornillos moviendo el eje x del grupo de tornillos. Se utilizan para cambiar la posición del grupo de tornillos. Los valores de punto inicial Dx, Dy y Dz mueven el primer extremo del grupo de tornillos en relación con el eje de las x del grupo. Los valores de punto final mueven el segundo extremo del grupo de tornillos.
Ejemplo de grupo de tornillos con el punto inicial Dx definido en 75:
|
|
Más |
|
|
ADUs |
Haga clic en el botón Atributos definidos por usuario para abrir los atributos definidos por el usuario (ADU) del tornillo. Los ADU proporcionan más información sobre los tornillos. |
|
Mostrar longitud de corte como líneas temporales |
Esta opción está disponible en el componente Tornillo auto. Muestra dónde se deberían colocar los tornillos aunque no se creen.
|
del panel lateral para abrir la base de datos
