挡风支撑节点 (110)
挡风支撑节点 (110) 将 1 到 10 个支撑连接到梁或柱上,方法是将它们用螺栓固定到节点板上,然后将节点板焊接或用螺栓固定到梁或柱上。
支撑可以:
-
位于与梁或柱相同的工作平面中,或是倾斜的
-
位于梁或柱的同一侧,或在每一侧
已创建的组件
-
节点板
-
一个节点板,如果支撑位于梁或柱的同一侧
-
如果支撑位于梁或柱的任一侧,则梁或柱的每一侧都有一个节点板。这些板在车间焊接成折叠的节点板。
-
-
螺栓
-
焊缝
适用于
| 情形 | 描述 |
|---|---|
|
|
两个节点板在车间焊接形成折叠板。支撑直接用栓连接到节点板。 支撑截面:L |
|
|
节点板焊接到柱。支撑腹板用螺栓连接到节点板。不创建加劲肋。 柱或梁截面:L 支撑截面:L |
准备工作
创建一个梁或柱,以及 1 至 10 个支撑。
选择顺序
-
选择主零件(梁或柱)。
-
选择次零件(第一个支撑)。
-
选择第二个次零件(第 2 个支撑,最多 10 个支撑)。
-
单击鼠标中键创建节点。
部件检索表

| 描述 | |
|---|---|
|
1 |
节点板 |
图片选项卡
使用图片选项卡为主零件两侧的支撑端定义节点板尺寸、支撑间隙和切割选项。
尺寸

| 描述 | |
|---|---|
|
1 |
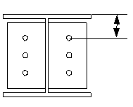
节点板边缘的长度 此值影响节点板形状。 |
|
2 |
节点板的拐角角度(以度为单位) 此值影响节点板形状。 |
|
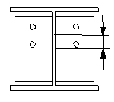
3 |
从主零件支撑边缘距离 |
|
4 |
节点板边缘与主零件的距离 |
支撑端部切割
| 选项 | 描述 |
|---|---|
|
|
默认值 支撑端被切成方形。 自动默认值可更改此选项。 |
|
|
支撑端被切成方形。 |
|
|
支撑端被垂直切割。 |
节点板选项卡
使用节点板选项卡定义节点板属性、支撑槽口属性和焊接。
零件
| 选项 | 描述 |
|---|---|
|
节点板 |
节点板的厚度、宽度和高度 |
|
选项 |
描述 |
默认值 |
|---|---|---|
|
位置编号 |
零件位置编号的前缀和起始编号。 某些组件还有另一行字段,您可以在其中输入构件位置编号。 |
默认零件起始编号在中的组件设置中定义。 |
|
材料 |
材料级别。 |
默认材料在中的组件设置中的零件材料框中定义。 |
|
名称 |
显示在图纸和报告中的名称。 |
|
|
抛光 |
描述如何处理零件表面。 |
节点板在支撑上的位置
定义节点板在支撑上的放置位置。如果需要,您可以通过在 z 方向或 y 方向上移动节点板来精细调整节点板位置。
| 选项 | 描述 |
|---|---|
|
|
默认值 节点板定位在支撑的中间。 自动默认值可更改此选项。 |
|
|
节点板定位在支撑的顶部翼缘上。 |
|
|
定义节点板在 z 方向上移动的距离。 |
|
|
定义节点板在 y 方向上移动的距离。 |
节点板形状
当您选择此选项优化节点板重量时,可以定义支撑的选择顺序是否影响支撑的位置。
| 选项 | 描述 |
|---|---|
|
|
默认值 自动默认值可更改此选项。 |
|
|
此选项可优化节点板重量。 |
支撑位置
| 选项 | 描述 |
|---|---|
|
|
默认值 支撑位置不受影响。 自动默认值可更改此选项。 |
|
|
选择的第一个支撑放置在距主零件最近之处。 |
支撑槽口
| 选项 | 描述 |
|---|---|
|
|
选择支撑是否开槽。 如果板与支撑法兰发生碰撞,或者如果您想在空心支撑中创建槽,您可能需要在支撑上开槽口。 最后一个选项创建一个槽口并使用螺栓将板固定到支架上。 |
|
|
|
节点板形状
| 选项 | 描述 |
|---|---|
|
|
选择节点板形状。 |
节点板切割
| 选项 | 描述 |
|---|---|
|
|
选择是否在顶部切割节点板。 |
节点板孔
您可能需要在节点板中创建一个定位孔,以便在工厂中装配连接时或在竖立时可以表明节点板的位置。
| 选项 | 描述 |
|---|---|
|
|
选择是否在节点板和孔侧创建孔。 |
|
|
|
节点板焊缝
| 选项 | 描述 |
|---|---|
|
|
选择节点板是否焊接到支撑上。 |
弯曲尺寸
| 选项 | 描述 |
|---|---|
|
|
输入倾斜连接中节点板的弯曲线尺寸。 节点板是由次零件创建的角度弯曲。 |
对图纸中的孔进行尺寸标注
将创建节点板额外螺栓孔设置为是,创建一个垂直于节点板的额外螺栓孔。这有助于确保在节点板倾斜时孔尺寸正确,从而使节点板孔不垂直于节点板。
节点板螺栓选项卡
使用节点板螺栓选项卡定义将节点板连接到梁或柱的螺栓的螺栓组尺寸和属性。
螺栓组尺寸

| 描述 | |
|---|---|
|
1 |
水平螺栓组位置的尺寸。 |
|
2 |
选择水平螺栓组位置的尺寸测量方式。
|
|
3 |
垂直螺栓组位置的尺寸。 |
|
4 |
选择垂直螺栓组位置的尺寸测量方式。
|
|
5 |
螺栓的数量。 |
|
6 |
螺栓间距。 请使用空格分隔螺栓间距值。为螺栓间的每个间距输入一个值。例如,如果有 3 个螺栓,则输入 2 个值。 |
节点板连接类型
| 选项 | 描述 |
|---|---|
|
|
默认值 焊接节点板。 自动默认值可更改此选项。 |
|
|
焊接节点板。 |
|
|
节点板已用螺栓固定。 |
螺栓基本属性
|
选项 |
描述 |
默认值 |
|---|---|---|
|
螺栓尺寸 |
螺栓直径。 |
可用尺寸在螺栓构件目录中定义。 |
|
螺栓标准 |
组件中使用的螺栓标准。 |
可用标准在螺栓构件目录中定义。 |
|
容许误差 |
螺栓和孔之间的间隙。 |
|
|
垫板中的螺纹 |
定义在使用带螺杆的螺栓时,螺纹是否可以位于栓接的零件的内部。 这在使用全螺纹螺栓时无影响。 |
是 |
|
工地/工厂 |
应安装螺栓的位置。 |
工地 |
螺栓的交错排列
|
选项 |
描述 |
|---|---|
|
|
默认值 不交错 自动默认值可更改此选项。 |
|
|
不交错 |
|
|
交错类型 1 |
|
|
交错类型 2 |
|
|
交错类型 3 |
|
|
交错类型 4 |
支柱螺栓 1 选项卡
使用支撑螺栓 1 选项卡定义将支撑连接到上支撑或仅连接到节点板的螺栓的螺栓组尺寸和属性。
螺栓组尺寸

| 描述 | |
|---|---|
|
1 |
垂直螺栓组位置的尺寸。 |
|
2 |
选择垂直螺栓组位置的尺寸测量方式。
|
|
3 |
螺栓边距。 边距指螺栓中心到零件边缘的距离。 |
|
4 |
螺栓的数量。 |
|
5 |
螺栓间距。 请使用空格分隔螺栓间距值。为螺栓间的每个间距输入一个值。例如,如果有 3 个螺栓,则输入 2 个值。 |
螺栓距离
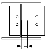
定义支撑螺栓到主零件与支撑中心线交点的最小距离。如果支撑垂直于主零件,则测量主零件中心线到最接近的螺栓的距离。

螺栓基本属性
|
选项 |
描述 |
默认值 |
|---|---|---|
|
螺栓尺寸 |
螺栓直径。 |
可用尺寸在螺栓构件目录中定义。 |
|
螺栓标准 |
组件中使用的螺栓标准。 |
可用标准在螺栓构件目录中定义。 |
|
容许误差 |
螺栓和孔之间的间隙。 |
|
|
垫板中的螺纹 |
定义在使用带螺杆的螺栓时,螺纹是否可以位于栓接的零件的内部。 这在使用全螺纹螺栓时无影响。 |
是 |
|
工地/工厂 |
应安装螺栓的位置。 |
工地 |
槽孔
您可以定义槽孔、扩大孔或内螺纹孔。
|
选项 |
描述 |
默认值 |
|---|---|---|
|
1 |
槽孔的垂直尺寸。 |
0,其结果为圆孔。 |
|
2 |
槽孔的水平尺寸或扩大孔的容许误差。 |
0,其结果为圆孔。 |
|
孔类型 |
开槽创建槽孔。 扩大创建扩大孔。 无孔将不创建孔。 内螺纹创建内螺纹孔。 |
|
|
旋转槽 |
当孔类型为开槽时,此选项旋转槽孔。 |
|
|
开槽于 |
在其中创建槽孔的零件。选项取决于所述的组件。 |
螺栓构件
选中的复选框定义螺栓构件中使用的组件对象(螺栓、垫片和螺母)。
如果您只想创建一个孔,请清除所有复选框。
要修改现有组件中的螺栓构件,请选中修改的效果复选框,然后单击修改。
增加螺栓长度
定义螺栓长度增加的量。例如,当涂装需要增加螺栓长度时,可使用此选项。
螺栓的交错排列
|
选项 |
描述 |
|---|---|
|
|
默认值 不交错 自动默认值可更改此选项。 |
|
|
不交错 |
|
|
交错类型 1 |
|
|
交错类型 2 |
|
|
交错类型 3 |
|
|
交错类型 4 |
支柱螺栓 2 选项卡
使用支撑螺栓 2 选项卡定义将支撑连接到下节点板的螺栓的螺栓组尺寸和属性。
螺栓组尺寸

| 描述 | |
|---|---|
|
1 |
垂直螺栓组位置的尺寸。 |
|
2 |
选择垂直螺栓组位置的尺寸测量方式。
|
|
3 |
螺栓边距。 边距指螺栓中心到零件边缘的距离。 |
|
4 |
螺栓的数量。 |
|
5 |
螺栓间距。 请使用空格分隔螺栓间距值。为螺栓间的每个间距输入一个值。例如,如果有 3 个螺栓,则输入 2 个值。 |
螺栓距离
定义支撑螺栓到主零件与支撑中心线交点的最小距离。如果支撑垂直于主零件,则测量主零件中心线到最接近的螺栓的距离。

螺栓基本属性
|
选项 |
描述 |
默认值 |
|---|---|---|
|
螺栓尺寸 |
螺栓直径。 |
可用尺寸在螺栓构件目录中定义。 |
|
螺栓标准 |
组件中使用的螺栓标准。 |
可用标准在螺栓构件目录中定义。 |
|
容许误差 |
螺栓和孔之间的间隙。 |
|
|
垫板中的螺纹 |
定义在使用带螺杆的螺栓时,螺纹是否可以位于栓接的零件的内部。 这在使用全螺纹螺栓时无影响。 |
是 |
|
工地/工厂 |
应安装螺栓的位置。 |
工地 |
槽孔
您可以定义槽孔、扩大孔或内螺纹孔。
|
选项 |
描述 |
默认值 |
|---|---|---|
|
1 |
槽孔的垂直尺寸。 |
0,其结果为圆孔。 |
|
2 |
槽孔的水平尺寸或扩大孔的容许误差。 |
0,其结果为圆孔。 |
|
孔类型 |
开槽创建槽孔。 扩大创建扩大孔。 无孔将不创建孔。 内螺纹创建内螺纹孔。 |
|
|
旋转槽 |
当孔类型为开槽时,此选项旋转槽孔。 |
|
|
开槽于 |
在其中创建槽孔的零件。选项取决于所述的组件。 |
螺栓的交错排列
|
选项 |
描述 |
|---|---|
|
|
默认值 不交错 自动默认值可更改此选项。 |
|
|
不交错 |
|
|
交错类型 1 |
|
|
交错类型 2 |
|
|
交错类型 3 |
|
|
交错类型 4 |
支柱选项卡
使用支柱选项卡在支撑和节点板之间创建垫板,用螺栓将支撑连接到梁或柱或者节点板。
垫板
| 选项 | 描述 |
|---|---|
|
|
默认值 垫板已创建。 自动默认值可更改此选项。 |
|
|
垫板未创建。 |
|
|
垫板已创建。 |
双栓接支撑
默认情况下,支撑是用螺栓连接到节点板的。您还可以选择将支撑螺栓连接到第一根或第二根梁,或者连接到选定的柱。
| 选项 | 描述 |
|---|---|
|
|
将支撑用螺栓固定到节点板。 此为默认选项。 |
|
|
将第一个选定的支撑栓接至节点板和第一个选定的梁或柱。 |
|
|
将第一个和随后选定的支撑用螺栓固定在节点板和第一个选定的梁或柱。 |
尺寸

| 描述 | |
|---|---|
|
1 |
螺栓边距 |
|
2 |
适合次零件的距离 |
|
3 |
适合次零件的距离 |
|
4 5 |
支撑边尺寸 |
通用选项卡
请单击下面的链接了解更多信息:
设计选项卡
请单击下面的链接了解更多信息:
分析
请单击下面的链接了解更多信息:
焊缝
请单击下面的链接了解更多信息:



























