冷弯卷边搭接 (1)
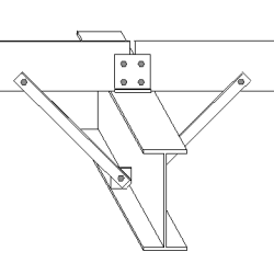
冷弯卷边搭接 (1) 将一根或两根檩条或扶手连接到一根椽子或支柱。直接从 overlap.dat 文件加载该组件的某些属性。如果您需要超出对话框允许的范围自定义组件,请联系您当地的 Tekla Structures 支持人员。
已创建的组件
-
角钢夹板
-
加劲肋
-
拉条
-
螺栓
-
焊缝
适用于
该节点可用于:
-
搭接
-
对接
-
连接双跨檩条或栏杆
-
山墙末端
不要在设计有专门节点的屋脊椽子的节点上使用。
| 情形 | 描述 |
|---|---|
|
|
到两个次零件的梁与梁完整承载椽子节点。板节点。 |
|
|
到两个次零件的梁与梁完整承载椽子节点。角度节点。 |
|
|
到两个次零件的梁与梁完整承载椽子节点。膝支撑节点。 |
准备工作
创建两个深度相同且中心线平行的檩条。
-
使用交替旋转来创建檩条,先是顶部,然后是底部,依此类推。
-
将檩条定位到椽子的中心线上。Tekla Structures 会自动将其延伸以形成所需的交叠。
-
如果需要,定义山墙悬垂。
对于椽子翼缘,使用制造商的标准偏移量。
这些设置会导致檩条发生冲突,因此在执行冲突检查时,您可以使用选择过滤器将其排除。例如,在过滤器中输入属性名称 PURLIN。
选择顺序
-
选择主零件(椽子或支柱)。
-
选择次零件(一个或两个檩条)。
-
单击鼠标中键创建此组件。
部件检索表


| 描述 | |
|---|---|
|
1 |
角钢截面 |
|
2 |
拉条截面 |
|
3 |
拉条板 |
“图形”选项卡
使用图形选项卡定义夹板的位置和尺寸。
挡块尺寸

| 描述 | |
|---|---|
|
1 |
当夹板截面的中心线高于椽子中心线的位置时,使用夹板高度。 |
|
2 |
夹板中心线到檩条边缘的距离。此距离仅适用于山墙末端。 预设是 0 mm。 |
|
3 |
当夹板截面的中心线与椽子平行时的夹板宽度。 |

| 描述 | |
|---|---|
|
1 |
从夹板中心到椽子中心的距离。 |
|
2 |
当有两根檩条时,从夹板中心到檩条末端的距离。 |
夹板选项卡
使用夹板选项卡定义夹板和加劲肋以及椽子螺栓和夹板椽子螺栓的属性和位置。
零件
| 选项 | 描述 |
|---|---|
|
夹板截面 |
从型材目录中选择一个型材。 |
|
加劲肋 |
定义加劲肋的厚度。 |
|
选项 |
描述 |
默认值 |
|---|---|---|
|
位置编号 |
零件位置编号的前缀和起始编号。 某些组件还有另一行字段,您可以在其中输入构件位置编号。 |
默认零件起始编号在中的组件设置中定义。 |
|
材料 |
材料级别。 |
默认材料在中的组件设置中的零件材料框中定义。 |
|
名称 |
显示在图纸和报告中的名称。 |
椽子螺栓属性
| 选项 | 描述 |
|---|---|
|
椽子螺栓标准 |
所有连接夹板与椽子的螺栓的螺栓标准。 要定义椽子螺栓标准和椽子螺栓公差,选择将夹板用螺栓固定在椽子上。
|
|
椽子螺栓公差 |
所有连接夹板与椽子的螺栓与椽子之间的间隙。 |
|
构件类型 |
应安装螺栓的位置。 |
螺栓构件
选中的复选框定义螺栓构件中使用的组件对象(螺栓、垫片和螺母)。
如果您只想创建一个孔,请清除所有复选框。
要修改现有组件中的螺栓构件,请选中修改的效果复选框,然后单击修改。
夹板椽子螺栓组尺寸
要定义椽子螺栓组尺寸,首先选择用螺栓将夹板固定在椽子上。


| 描述 | |
|---|---|
|
1 |
水平螺栓间距。 |
|
2 |
连接夹板与椽子的螺栓的直径。 |
|
3 |
夹板到椽子中心线的偏移量。 |
|
4 |
螺栓的数量。 |
|
5 |
螺栓间距。 请使用空格分隔螺栓间距值。为螺栓间的每个间距输入一个值。例如,如果有 3 个螺栓,则输入 2 个值。 |
|
6 |
螺栓边距。 边距指螺栓中心到零件边缘的距离。 |
夹板方向
| 选项 | 描述 |
|---|---|
|
|
默认值 夹板的中心线与椽子平行。 自动默认值可更改此选项。 |
|
|
夹板截面的中心线与椽子平行。 |
|
|
夹板截面的中心线与椽子垂直。 |
|
|
夹板的中心线与椽子平行。创建直线加劲肋。 定义加劲肋切割尺寸。 |
|
|
夹板截面的中心线与椽子垂直。创建了一个方形加劲肋。 |
加劲肋切割尺寸
定义线加劲肋或方形加劲肋的尺寸。

| 描述 | |
|---|---|
|
1 |
垂直折角尺寸 |
|
2 |
水平折角尺寸 |
|
3 |
水平切割尺寸 |
|
4 |
垂直切割尺寸 |

| 描述 | |
|---|---|
|
1 |
水平尺寸 |
|
2 |
垂直尺寸 |
夹板位置
| 选项 | 描述 |
|---|---|
|
|
默认值 夹板固定在檩条的前面。 Tekla Structures 根据所使用的檩条截面来定位夹板。 自动默认值可更改此选项。 |
|
|
夹板固定在檩条的前面。 |
|
|
夹板固定在檩条的背面。 |
夹板连接
| 选项 | 描述 |
|---|---|
|
|
默认值 夹板焊接在椽子上。 自动默认值可更改此选项。 |
|
|
夹板用螺栓固定在椽子上。 |
|
|
夹板焊接在椽子上。 |
拉条选项卡
使用 支撑 选项卡可以创建并定义支撑、支撑板和支撑螺栓的属性。
零件
| 选项 | 描述 |
|---|---|
|
拉条截面 |
从型材目录中选择一个型材。 |
|
拉条板 |
支撑板的厚度、宽度、高度。 |
|
支柱角钢 |
支柱角钢的厚度。 |
|
选项 |
描述 |
默认值 |
|---|---|---|
|
位置编号 |
零件位置编号的前缀和起始编号。 某些组件还有另一行字段,您可以在其中输入构件位置编号。 |
默认零件起始编号在中的组件设置中定义。 |
|
材料 |
材料级别。 |
默认材料在中的组件设置中的零件材料框中定义。 |
|
名称 |
显示在图纸和报告中的名称。 |
|
|
抛光 |
描述如何处理零件表面。 |
螺栓属性
| 选项 | 描述 |
|---|---|
|
檩拉条螺栓标准 椽子拉条螺栓标准 |
选择将拉条或椽子拉条与檩条连接的螺栓标准。 |
|
檩拉条螺栓容许误差 椽子拉条螺栓容许误差 |
定义将拉条或椽子拉条连接至檩条的螺栓与螺栓孔之间的间隙。 |
|
拉条旋转 |
定义支柱角钢的旋转。 |
拉条位置
| 选项 | 描述 |
|---|---|
|
|
默认值 未创建拉条。 自动默认值可更改此选项。 |
|
|
未创建拉条。 |
|
|
在两侧创建拉条。创建拉条板。 |
|
|
在右侧创建拉条。创建拉条板。 |
|
|
在左侧创建拉条。创建拉条板。 |
|
|
在右侧创建拉条。 两侧均制作有支撑板。 |
|
|
在左侧创建拉条。 两侧均制作有支撑板。 |
|
|
创建孔。未创建拉条和拉条板。 |
拉条连接
| 选项 | 描述 |
|---|---|
|
|
默认值 拉条连接到檩条腹板底部。 自动默认值可更改此选项。 |
|
|
支撑物固定在檩条腹板顶部。 |
|
|
拉条连接到檩条腹板中间。 |
|
|
拉条连接到檩条腹板底部。 |
在拉条中创建孔/螺栓
| 选项 | 描述 |
|---|---|
|
|
默认值 椽子上有一个孔或螺栓。 自动默认值可更改此选项。 |
|
|
椽子上有一个孔或螺栓。 |
|
|
当拉条上的孔或螺栓与椽子上另一个已经存在的孔或螺栓之间的距离在 d 所定义的范围内时,它们会结合在一起。 距离 d 在 overlap.dat 文件中定义。 |
拉条板连接到腋
| 选项 | 描述 |
|---|---|
|
|
默认值 拉条板连接到腋。 自动默认值可更改此选项。 |
|
|
支撑板固定在椽子上。必须在腋上方应用节点。 |
|
|
拉条板连接到腋。 |
支撑螺栓

| 描述 | |
|---|---|
|
1 |
螺栓边距。 边距指螺栓中心到零件边缘的距离。 |
|
2 |
螺栓边距。 边距指螺栓中心到零件边缘的距离。 |
|
3 |
螺栓的数量。 |
|
4 |
螺栓间距。 请使用空格分隔螺栓间距值。为螺栓间的每个间距输入一个值。例如,如果有 3 个螺栓,则输入 2 个值。 |
|
5 |
螺栓边缘距支撑边缘的距离。 |
|
6 |
拉条螺栓到椽子中心线的距离。 |
|
7 |
拉条板边缘到椽子边缘的距离。 |
|
8 |
螺栓直径。 |
折角尺寸

| 描述 | |
|---|---|
|
1 |
垂直折角尺寸 |
|
2 |
水平折角尺寸 |
折角形状
| 选项 | 描述 |
|---|---|
|
|
默认值 线折角 自动默认值可更改此选项。 |
|
|
无折角 |
|
|
线折角 |
|
|
凸起切角 |
|
|
凹入折角 |
“螺栓”选项卡
使用螺栓选项卡定义将夹板连接到檩条的螺栓组尺寸和螺栓属性。
螺栓组尺寸

| 描述 | |
|---|---|
|
1 |
垂直螺栓组位置的尺寸。 |
|
2 |
螺栓边距。 边距指螺栓中心到零件边缘的距离。 |
|
3 |
螺栓的数量。 |
|
4 |
螺栓间距。 请使用空格分隔螺栓间距值。为螺栓间的每个间距输入一个值。例如,如果有 3 个螺栓,则输入 2 个值。 |

| 描述 | |
|---|---|
|
1 |
水平螺栓组位置的尺寸。 |
|
2 |
螺栓边距。 边距指螺栓中心到零件边缘的距离。 |
|
3 |
螺栓间距。 |
螺栓基本属性
|
选项 |
描述 |
默认值 |
|---|---|---|
|
螺栓尺寸 |
螺栓直径。 |
可用尺寸在螺栓构件目录中定义。 |
|
螺栓标准 |
组件中使用的螺栓标准。 |
可用标准在螺栓构件目录中定义。 |
|
容许误差 |
螺栓和孔之间的间隙。 |
|
|
垫板中的螺纹 |
定义在使用带螺杆的螺栓时,螺纹是否可以位于栓接的零件的内部。 这在使用全螺纹螺栓时无影响。 |
是 |
|
工地/工厂 |
应安装螺栓的位置。 |
工地 |
槽孔
您可以定义槽孔、扩大孔或内螺纹孔。
|
选项 |
描述 |
默认值 |
|---|---|---|
|
1 |
槽孔的垂直尺寸。 |
0,其结果为圆孔。 |
|
2 |
槽孔的水平尺寸或扩大孔的容许误差。 |
0,其结果为圆孔。 |
|
孔类型 |
开槽创建槽孔。 扩大创建扩大孔。 无孔将不创建孔。 内螺纹创建内螺纹孔。 |
|
|
旋转槽 |
当孔类型为开槽时,此选项旋转槽孔。 |
|
|
开槽于 |
在其中创建槽孔的零件。选项取决于所述的组件。 |
螺栓构件
选中的复选框定义螺栓构件中使用的组件对象(螺栓、垫片和螺母)。
如果您只想创建一个孔,请清除所有复选框。
要修改现有组件中的螺栓构件,请选中修改的效果复选框,然后单击修改。
增加螺栓长度
定义螺栓长度增加的量。例如,当涂装需要增加螺栓长度时,可使用此选项。
螺栓方向
| 选项 | 描述 |
|---|---|
|
|
默认值 螺栓与主零件垂直放置。 自动默认值可更改此选项。 |
|
|
螺栓与主零件垂直放置。 |
|
|
螺栓与次零件成直角放置。 |
螺栓孔
| 选项 | 描述 |
|---|---|
|
|
默认值 未创建螺栓孔。 自动默认值可更改此选项。 |
|
|
未创建螺栓孔。 |
|
|
在椽子翼缘的山墙末端创建螺栓孔。 |
搭接螺栓
| 选项 | 描述 |
|---|---|
|
|
默认值 创建交叠翼缘螺栓。 自动默认值可更改此选项。 |
|
|
创建交叠翼缘螺栓。 |
|
|
创建交叠腹板螺栓。 |
创建交叠
| 选项 | 描述 |
|---|---|
|
|
默认值 已产生重叠。 自动默认值可更改此选项。 |
|
|
自动 已产生重叠。 |
|
|
已产生重叠。 |
|
|
未产生重叠。 |
“通用性”选项卡
请单击下面的链接了解更多信息:
分析选项卡
请单击下面的链接了解更多信息:
焊缝
请单击下面的链接了解更多信息:
















































