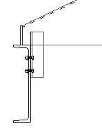
槽钢纵梁 (127)
槽钢纵梁 (127) 使用角钢截面将纵梁连接到槽钢。角钢截面焊接到纵梁上并用螺栓连接到槽钢上。向纵梁末端焊接一个垂直板。
已创建的组件
-
角钢板
-
垂直板(可选)
-
螺栓
-
焊缝
-
用于确定纵梁末端形状的切割
适用于
|
情形 |
描述 |
|---|---|
|
|
角钢截面用螺栓连接到槽钢并焊接到纵梁上。沿槽钢顶面水平切割纵梁。 |
|
|
纵梁中没有水平切割。 |
|
|
在纵梁末端创建垂直板。 |
限制
槽钢纵梁 (127) 仅在连接截面为角钢时适用。
开始之前
创建纵梁和槽钢。
选择顺序
-
选择主零件(槽钢)。
-
选择次零件(纵梁)。
选择次零件后自动创建该节点。
部件检索表
|
零件 |
|
|---|---|
|
1 |
角钢截面 |
|
2 |
垂直板 |
图片选项卡
使用图片选项卡可定义角钢截面和垂直板的位置,以及是否切割纵梁。
纵梁切割
|
选项 |
描述 |
|---|---|
|
|
选项 1 默认值 |
|
|
选项 2 沿槽钢顶面水平切割纵梁。 |
|
|
选项 3 纵梁中没有水平切割。 |
|
描述 |
默认值 |
|
|---|---|---|
|
1 |
垂直板的位置。 定义从纵梁上边缘到垂直板顶面的垂直距离。 |
0 |
|
2 |
角钢截面的位置。 定义从槽钢顶面到角钢截面顶面的垂直距离。 |
选项 1 或 2:
选项 3:
|
|
3 |
纵梁切割的位置。 定义从槽钢上边缘到板上垂直切割纵梁且定位垂直板底面之处的垂直距离。 |
|
|
4 |
纵梁切割的位置。 定义从槽钢腹板到纵梁的水平距离。 |
|
零件选项卡
使用零件选项卡可以控制垂直板和角钢截面的属性。
垂直板和角钢截面
|
选项 |
描述 |
默认值 |
|---|---|---|
|
垂直板 |
垂直板厚度。 如果将值设置为 0,则创建垂直板。 |
公制:10 mm 英制:3/8" 默认名称为 PROFILE。 |
|
角钢 |
通过从截面目录中进行选择来定义角钢截面。 如果您不选择 L 形截面,则不创建节点。 |
公制:L75*6 英制:L3X3X1/4 默认名称为 ANGLE。 |
|
选项 |
描述 |
默认值 |
|---|---|---|
|
位置编号 |
零件位置编号的前缀和起始编号。 某些组件还有另一行字段,您可以在其中输入构件位置编号。 |
默认零件起始编号在中的组件设置中定义。 |
|
材料 |
材料级别。 |
默认材料在中的组件设置中的零件材料框中定义。 |
|
名称 |
显示在图纸和报告中的名称。 |
参数选项卡
使用参数选项卡控制支架定位和角度截面的位置。
角钢截面支架定位
如果角钢截面的支架长度不均匀,您可以切换其位置。
|
选项 |
描述 |
|---|---|
|
|
默认值 角钢截面的长肢连接到槽钢。 自动默认值可更改此选项。 |
|
|
角钢截面的长肢连接到槽钢。 |
|
|
角钢截面的长肢连接到纵梁。 |
角钢截面位置
|
选项 |
描述 |
|---|---|
|
|
默认值 角钢截面位于槽钢的外表面。 自动默认值可更改此选项。 |
|
|
角钢截面位于槽钢的外表面。 |
|
|
角钢截面位于槽钢的内表面。 |
螺栓选项卡
使用螺栓选项卡可控制将角钢截面连接到槽钢的螺栓。
螺栓组尺寸
|
描述 |
默认值 |
|
|---|---|---|
|
1 |
从槽钢顶面到顶部螺栓中心的垂直距离。 |
公制:75 mm 英制:3" |
|
2 |
螺栓的数量。 |
2 |
|
3 |
螺栓间距。 请使用空格分隔螺栓间距值。为螺栓间的每个间距输入一个值。例如,如果有 3 个螺栓,则输入 2 个值。 |
公制:75 mm 英制:3" |
|
4 |
角钢截面的底面到底部螺栓中心的垂直距离。 |
公制:40 mm 英制:1"1/2 |
|
5 |
从纵梁边到螺栓中心线的水平距离。 |
公制:40 mm 英制:1"1/2 |
螺栓基本属性
|
选项 |
描述 |
默认值 |
|---|---|---|
|
螺栓尺寸 |
螺栓直径。 |
可用尺寸在螺栓构件目录中定义。 |
|
螺栓标准 |
组件中使用的螺栓标准。 |
可用标准在螺栓构件目录中定义。 |
|
容许误差 |
螺栓和孔之间的间隙。 |
|
|
垫板中的螺纹 |
定义在使用带螺杆的螺栓时,螺纹是否可以位于栓接的零件的内部。 这在使用全螺纹螺栓时无影响。 |
是 |
|
工地/工厂 |
应安装螺栓的位置。 |
工地 |
槽孔
您可以定义槽孔、扩大孔或内螺纹孔。
|
选项 |
描述 |
默认值 |
|---|---|---|
|
1 |
槽孔的垂直尺寸。 |
0,其结果为圆孔。 |
|
2 |
槽孔的水平尺寸或扩大孔的容许误差。 |
0,其结果为圆孔。 |
|
孔类型 |
开槽创建槽孔。 扩大创建扩大孔。 无孔将不创建孔。 内螺纹创建内螺纹孔。 |
|
|
旋转槽 |
当孔类型为开槽时,此选项旋转槽孔。 |
|
|
开槽于 |
在其中创建槽孔的零件。选项取决于所述的组件。 |
螺栓构件
选中的复选框定义螺栓构件中使用的组件对象(螺栓、垫片和螺母)。
如果您只想创建一个孔,请清除所有复选框。
要修改现有组件中的螺栓构件,请选中修改的效果复选框,然后单击修改。
增加螺栓长度
定义螺栓长度增加的量。例如,当涂装需要增加螺栓长度时,可使用此选项。
通用选项卡
请单击下面的链接了解更多信息:
分析选项卡
请单击下面的链接了解更多信息:
焊缝
请单击下面的链接了解更多信息: