Холоднокатаные элементы - нахлест (1)
Холоднокатаный перехлест (1) соединяет один или два прогона или перекладины с стропилом или стойкой. Некоторые свойства этого компонента загружаются непосредственно из файла overlap.dat. Обратитесь в службу поддержки Tekla Structures в вашем регионе, если вам нужно настроить компонент больше, чем позволяет диалоговое окно.
Создаваемые объекты
-
Крепление уголка
-
Ребро жесткости
-
Крепления
-
болты
-
Сварные швы
Применение
Соединение можно использовать для следующих объектов:
-
Соединения с перехлестом
-
Стыковые соединения
-
Соединение двух пролетных прогонов или перекладин
-
Фронтоны
Не используется для соединений с стропилами, имеющими специально разработанные соединения.
| Ситуация | Описание |
|---|---|
|
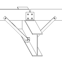
|
Соединение балки с балкой с полным опиранием — крепление стропила к двум второстепенным деталям. Соединение пластин. |
|
|
Соединение балки с балкой с полным опиранием — крепление стропила к двум второстепенным деталям. Соединение на уголках. |
|
|
Соединение балки с балкой с полным опиранием — крепление стропила к двум второстепенным деталям. Крепление угловых раскосов. |
Перед началом работы
Создайте два прогона на одинаковой глубине с параллельными центральными линиями.
-
Создайте прогоны с использованием попеременных поворотов: сначала сверху, затем снизу, и т. д.
-
Расположите прогоны по центральной линии стропила. Tekla Structures автоматически удлиняет их для образования требуемого перехлеста.
-
При необходимости задайте свес наклонного стержня.
Используйте стандартное смещение изготовителя для полки стропила.
Эти настройки приводят к конфликту прогонов, поэтому при проверке на конфликты их можно исключить с помощью фильтра выбора. Например, введите PURLIN в качестве имени свойства в фильтре.
Порядок выбора
-
Выберите главную деталь (стропила или стойку).
-
Выберите второстепенные детали (один или два прогона).
-
Щелкните средней кнопкой мыши, чтобы создать компонент.
Обозначение деталей


| Описание | |
|---|---|
|
1 |
Профиль уголка |
|
2 |
Профиль крепления |
|
3 |
Пластина крепления |
Вкладка «Рисунок»
Вкладка Рисунок служит для определения положения и размеров соединительной рейки.
Размеры соединительной рейки

| Описание | |
|---|---|
|
1 |
Высота соединительной рейки используется, когда центральная линия профиля соединительной рейки располагается выше центральной линии стропила. |
|
2 |
Расстояние от центральной линии соединительной рейки до кромки прогона. Это расстояние применяется только к фронтонам. Значение по умолчанию — 0 mm. |
|
3 |
Ширина соединительного рейки, когда центральная линия профиля соединительной рейки параллельна стропилу. |

| Описание | |
|---|---|
|
1 |
Расстояние от центра соединительной рейки до центра стропила. |
|
2 |
Расстояние от центра соединительной рейки до конца прогона при наличии двух прогонов. |
Вкладка «Соед. рейка»
Вкладка Соед. рейка служит для определения свойств и положения соединительных реек и ребер жесткости, а также болтов стропил, в том числе соединительных реек.
Детали
| Формат | Описание |
|---|---|
|
Профиль соед. рейки |
Выберите профиль из каталога профилей. |
|
Элемент жесткости |
Задайте толщину ребра жесткости. |
|
Параметр |
Описание |
По умолчанию |
|---|---|---|
|
Нумерация |
Префикс и начальный номер для номера позиции детали. Некоторые компоненты имеют вторую строку полей, где можно ввести номер марки. |
Начальный номер детали для использования по умолчанию задается на вкладке Компоненты (меню ). |
|
Материал |
Сорт материала. |
Материал для использования по умолчанию задается в поле Материал детали на вкладке Компоненты (меню ). |
|
Название |
Имя, отображаемое на чертежах и в отчетах. |
Свойства болтов стропил
| Формат | Описание |
|---|---|
|
Стандарт болта стропила |
Стандарт для всех болтов, которыми соединительная рейка крепится к стропилу. Чтобы задать стандарт и допуск болта стропила, выберите болт для крепления соединительной рейки к стропилу.
|
|
Допуск болтов стропил |
Зазор между болтами и стропилом для всех болтов, которыми соединительная рейка крепится к стропилу. |
|
Тип сборки |
Определяет, монтажным или заводским является соединение. |
Комплект болта
Флажки определяют, какие объекты компонента (болт, шайбы и гайки) входят в комплект болта.
Чтобы создать только отверстие, снимите все флажки.
Чтобы изменить комплект болтов в существующем компоненте, установите флажок Использовать при изменении и нажмите кнопку Изменить.
Размеры группы болтов стропила для соединительной рейки
Чтобы определить размеры группы болтов стропил, сначала выберите вариант крепления соединительной рейки к стропилу с помощью болтов.


| Описание | |
|---|---|
|
1 |
Расстояние между болтами по горизонтали. |
|
2 |
Диаметр болтов, которыми соединительная рейка крепится к стропилу. |
|
3 |
Смещение соединительной рейки от центральной линии стропила. |
|
4 |
Число болтов. |
|
5 |
Расстояние между болтами. Значения расстояний между болтами разделяются пробелами. Введите по значению для каждого расстояния между болтами. Например, для 3 болтов вводится 2 значения. |
|
6 |
Расстояние от болта до кромки. Расстояние до кромки — это расстояние от центра болта до кромки детали. |
Ориентация рейки
| Формат | Описание |
|---|---|
|
|
По умолчанию Центральная линия соединительной рейки параллельна стропилу. Этот параметр может быть изменен АвтоСтандартами. |
|
|
Центральная линия профиля параллельна стропилу. |
|
|
Центральная линия профиля перпендикулярна стропилу. |
|
|
Центральная линия соединительной рейки параллельна стропилу. Создается элемент жесткости на линии. Задайте размеры выреза ребра жесткости. |
|
|
Центральная линия профиля перпендикулярна стропилу. Создается квадратное ребро жесткости. |
Размеры выреза ребра жесткости
Задайте размеры для линейных или квадратных ребер жесткости.

| Описание | |
|---|---|
|
1 |
Вертикальный размер фаски |
|
2 |
Горизонтальный размер фаски |
|
3 |
Размер горизонтального разреза |
|
4 |
Размер вертикального разреза |

| Описание | |
|---|---|
|
1 |
Горизонтальный размер |
|
2 |
Вертикальный размер |
Местоположение монтажных реек
| Формат | Описание |
|---|---|
|
|
По умолчанию Соединительная рейка крепится к передней части прогона. Tekla Structures располагает соединительную рейку в соответствии с используемым профилем прогона. Этот параметр может быть изменен АвтоСтандартами. |
|
|
Соединительная рейка крепится к передней части прогона. |
|
|
Соединительная рейка крепится к задней стороне прогона. |
Крепление соединительной рейки
| Формат | Описание |
|---|---|
|
|
По умолчанию Соединительная рейка приваривается к стропилу. Этот параметр может быть изменен АвтоСтандартами. |
|
|
Зажимка крепится болтами к стропилу. |
|
|
Соединительная рейка приваривается к стропилу. |
Вкладка «Крепления»
Вкладка Крепления служит для создания и определения свойств креплений, их пластин и болтов.
Детали
| Формат | Описание |
|---|---|
|
Профиль крепления |
Выберите профиль из каталога профилей. |
|
Пластина крепления |
Толщина, ширина и высота пластины-подкладки. |
|
Угол крепления |
Толщина угла подкоса. |
|
Параметр |
Описание |
По умолчанию |
|---|---|---|
|
Нумерация |
Префикс и начальный номер для номера позиции детали. Некоторые компоненты имеют вторую строку полей, где можно ввести номер марки. |
Начальный номер детали для использования по умолчанию задается на вкладке Компоненты (меню ). |
|
Материал |
Сорт материала. |
Материал для использования по умолчанию задается в поле Материал детали на вкладке Компоненты (меню ). |
|
Имя |
Имя, отображаемое на чертежах и в отчетах. |
|
|
Обработка поверхности |
Описывает способ обработки поверхности детали. |
Свойства болта
| Формат | Описание |
|---|---|
|
Стандарт болта прогон-крепление Стандарт болта стропило-крепление |
Выберите стандарт болтов, которыми крепления или стропила соединяются с прогонами. |
|
Допуск болта прогон-крепление Допуск болта стропило-крепление |
Определите зазор между болтами и отверстиями для болтов, которыми крепления или стропила соединяются с прогонами. |
|
Поворот стойки |
Определите угол поворота крепления. |
Местоположение креплений
| Формат | Описание |
|---|---|
|
|
По умолчанию Крепления не создаются. Этот параметр может быть изменен АвтоСтандартами. |
|
|
Крепления не создаются. |
|
|
Крепления создаются с обеих сторон. Пластины крепления создаются. |
|
|
Крепление создается справа. Создается пластина крепления. |
|
|
Крепление создается слева. Создается пластина крепления. |
|
|
Крепление создается справа. Пластины крепления создаются с обеих сторон. |
|
|
Крепление создается слева. Пластины крепления создаются с обеих сторон. |
|
|
Создаются отверстия. Крепления и пластины крепления не создаются. |
Соединение крепления
| Формат | Описание |
|---|---|
|
|
По умолчанию Крепление соединяется с нижней частью стенки прогона. Этот параметр может быть изменен АвтоСтандартами. |
|
|
Крепление соединяется с верхней частью стенки прогона. |
|
|
Крепление соединяется с центральной частью стенки прогона. |
|
|
Крепление соединяется с нижней частью стенки прогона. |
Создание отверстия/болта в креплении
| Формат | Описание |
|---|---|
|
|
По умолчанию Одно отверстие или болт в стропиле. Этот параметр может быть изменен АвтоСтандартами. |
|
|
Одно отверстие или болт в стропиле. |
|
|
Когда отверстие или болт в креплении находится в пределах определенного расстояния, заданным параметром d, от другого уже существующего отверстия или болта в стропиле, они объединяются. Расстояние d задается в overlap.dat файле. |
Соединение пластины крепления с вутом
| Формат | Описание |
|---|---|
|
|
По умолчанию Пластины крепления соединяются с вутами. Этот параметр может быть изменен АвтоСтандартами. |
|
|
Пластины крепления соединяются со стропилами. Соединение необходимо применить над вутом. |
|
|
Пластины крепления соединяются с вутами. |
Болты крепления

| Описание | |
|---|---|
|
1 |
Расстояние от болта до кромки. Расстояние до кромки — это расстояние от центра болта до кромки детали. |
|
2 |
Расстояние от болта до кромки. Расстояние до кромки — это расстояние от центра болта до кромки детали. |
|
3 |
Число болтов. |
|
4 |
Расстояние между болтами. Значения расстояний между болтами разделяются пробелами. Введите по значению для каждого расстояния между болтами. Например, для 3 болтов вводится 2 значения. |
|
5 |
Расстояние от болта до кромки крепления. |
|
6 |
Расстояние от центральной линии стропила до болта крепления. |
|
7 |
Расстояние от кромки стропила до кромки пластины крепления. |
|
8 |
Диаметр болта. |
Размеры фаски

| Описание | |
|---|---|
|
1 |
Вертикальный размер фаски |
|
2 |
Горизонтальный размер фаски |
Форма фаски
| Формат | Описание |
|---|---|
|
|
По умолчанию Прямая фаска Этот параметр может быть изменен АвтоСтандартами. |
|
|
Без фаски |
|
|
Прямая фаска |
|
|
Фаска в виде выпуклой дуги |
|
|
Фаска в виде вогнутой дуги |
Вкладка «Болты»
Вкладка Болты служит для определения размеров группы болтов и свойств болтов, которыми соединительные рейки крепятся к прогонам.
Размеры группы болтов

| Описание | |
|---|---|
|
1 |
Размер, определяющий положение группы болтов по вертикали. |
|
2 |
Расстояние от болта до кромки. Расстояние до кромки — это расстояние от центра болта до кромки детали. |
|
3 |
Число болтов. |
|
4 |
Расстояние между болтами. Значения расстояний между болтами разделяются пробелами. Введите по значению для каждого расстояния между болтами. Например, для 3 болтов вводится 2 значения. |

| Описание | |
|---|---|
|
1 |
Размер, определяющий положение группы болтов по горизонтали. |
|
2 |
Расстояние от болта до кромки. Расстояние до кромки — это расстояние от центра болта до кромки детали. |
|
3 |
Расстояние между болтами. |
Базовые свойства болтов
|
Формат |
Описание |
По умолчанию |
|---|---|---|
|
Диаметр |
Диаметр болта. |
Возможные размеры определены в каталоге комплектов болтов. |
|
Стандарт болта |
Стандарт болта для использования в компоненте. |
Возможные стандарты определены в каталоге комплектов болтов. |
|
Допуск |
Зазор между болтом и отверстием. |
|
|
Резьба в детали |
Определяет, может ли резьба быть внутри деталей болтового соединения (при использовании болтов с участками без резьбы). При использовании болтов с резьбой под головку этот параметр не действует. |
Да |
|
Монтажный/заводской |
Определяет, монтажным или заводским является соединение. |
Монтажный |
Продолговатые отверстия
Можно создать продолговатые отверстия, отверстия с резьбой или отверстия завышенного размера.
|
Параметр |
Описание |
По умолчанию |
|---|---|---|
|
1 |
Вертикальный размер продолговатого отверстия. |
0 (создается круглое отверстие). |
|
2 |
Горизонтальный размер продолговатого отверстия или величина свободного хода болта в отверстии завышенного размера. |
0 (создается круглое отверстие). |
|
Тип отверстия |
Продолговатое — создаются продолговатые отверстия. Завышенного размера — создаются отверстия завышенного размера. Без отверстия — отверстия не создаются. С резьбой — создаются отверстия с резьбой. |
|
|
Повернуть отверстия |
Когда в качестве типа отверстий выбран вариант Продолговатое, этот параметр позволяет повернуть продолговатые отверстия. |
|
|
Продолговатые отверстия в |
Деталь (детали), в которых создаются продолговатые отверстия. Возможные варианты зависят от компонента. |
Комплект болта
Флажки определяют, какие объекты компонента (болт, шайбы и гайки) входят в комплект болта.
Чтобы создать только отверстие, снимите все флажки.
Чтобы изменить комплект болтов в существующем компоненте, установите флажок Использовать при изменении и нажмите кнопку Изменить.
Увеличение длины болта
Задает, насколько будет увеличена длина болта. Этот параметр используется, например, когда нужно увеличить длину болтов в связи с покраской.
Ориентация болтов
| Формат | Описание |
|---|---|
|
|
По умолчанию Болты размещаются перпендикулярно главной детали. Этот параметр может быть изменен АвтоСтандартами. |
|
|
Болты размещаются перпендикулярно главной детали. |
|
|
Болты размещаются под прямым углом к второстепенной детали. |
Отверстия под болты
| Формат | Описание |
|---|---|
|
|
По умолчанию Отверстия под болты не создаются. Этот параметр может быть изменен АвтоСтандартами. |
|
|
Отверстия под болты не создаются. |
|
|
На торцах полок стропила создаются отверстия для болтов. |
Болты для перехлеста
| Формат | Описание |
|---|---|
|
|
По умолчанию Создаются болты полки для перехлеста. Этот параметр может быть изменен АвтоСтандартами. |
|
|
Создаются болты полки для перехлеста. |
|
|
Создаются болты стенки для перехлеста. |
Создание нахлеста
| Формат | Описание |
|---|---|
|
|
По умолчанию Создается перехлест. Этот параметр может быть изменен АвтоСтандартами. |
|
|
Автоматически Создается перехлест. |
|
|
Создается перехлест. |
|
|
Перехлест не создается. |
вкладка «Общие»
См. ссылку ниже:
Вкладка «Расчет»
См. ссылку ниже:
Сварные швы
См. ссылку ниже:
















































