Сопряжение балки с колонной. Жесткий узел (181)
Компонент Сопряжение балки с колонной. Жесткий узел (181) соединяет балку с колонной или с балкой с помощью одной или двух монтажных пластин. Монтажная пластина приваривается к главной детали и крепится болтами к стенке второстепенной детали. Второстепенная балка может быть горизонтальной или иметь наклон в вертикальной плоскости. Пластины на верхней и нижней полке могут привариваться к второстепенной балке и привариваться монтажной сваркой к главной колонне.
Создаваемые объекты
-
Монтажная пластина (1 или 2)
-
Верхняя полочная пластина
-
Нижняя полочная пластина
-
Ребра жесткости (4) (опционально)
-
Пластина удвоения стенки (опционально)
-
Болты
-
Сварные швы
-
Срезы/вырезы
Применение
|
Ситуация |
Описание |
|---|---|
|
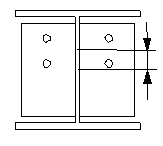
|
Соединение, воспринимающее изгибающий момент, приваренное к полке колонны. Второстепенная деталь наклонена в вертикальной плоскости. |
|
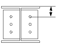
|
Соединение, воспринимающее изгибающий момент, приваренное к полке колонны. Возможность подготовки балки по сварку и создания технологических отверстий для сварки. |
Порядок выбора
-
Выберите главную деталь (колонну или балку).
-
Выберите второстепенную деталь (балку).
Соединение создается автоматически при выборе второстепенной детали.
Обозначение деталей
|
Деталь |
|
|---|---|
|
1 |
Монтажная пластина |
|
2 |
Верхняя полочная пластина |
|
3 |
Нижняя полочная пластина |
|
4 |
Верхняя пластина жесткости |
|
5 |
Нижняя пластина жесткости |
Tekla Structures использует для создания этого компонента значения из файла joints.def.
Вкладка «Рисунок»
Для задания положения монтажной пластины, а также и срезов полки и стенки балки служит вкладка Рисунок.
Размеры
|
Описание |
|
|---|---|
|
1 |
Расстояние монтажной сварки от кромки пластины на верхней полке до полки главной детали. |
|
2 |
Расстояние монтажной сварки от кромки пластины на нижней полке до полки главной детали. |
|
3 |
Расстояние от кромки монтажной пластины до верхней кромки второстепенной детали. |
|
4 |
Размер фаски на монтажной пластине. |
|
5 |
Расстояние от полки главной детали до кромки второстепенной детали. |
Срез торца балки
Способ срезания торца второстепенной балки. Балка показана в виде сбоку.
|
Параметр |
Описание |
|---|---|
|
|
По умолчанию Под косым углом Этот параметр может быть изменен АвтоСтандартами. |
|
|
Автоматически Если наклон второстепенной балки в вертикальной плоскости составляет менее 10 градусов, торец балки срезается под прямым углом. В остальных случаях торец балки срезается под косым углом. |
|
|
Под прямым углом Торец второстепенной балки срезается под прямым углом. |
|
|
Под косым углом Торец второстепенной балки срезается параллельно кромке главной детали. |
Срез полки балки
Способ срезания торца полки второстепенной балки. Балка показана в виде сверху.
|
Параметр |
Описание |
|---|---|
|
|
По умолчанию Под косым углом Этот параметр может быть изменен АвтоСтандартами. |
|
|
Под косым углом Торец полки срезается под косым углом. |
|
|
прямоугольная Часть полки срезается под прямым углом, а часть остается под косым углом. |
Вкладка «Пластины»
Для задания размера, положения, количества и формы монтажных пластин служит вкладка Пластины.
Пластины
| Параметр |
Описание |
|---|---|
|
Монтажная пластина |
Толщина, ширина и высота монтажной пластины. |
| Параметр |
Описание |
|---|---|
|
Верхняя пластина |
Толщина, ширина и высота верхней пластины. |
|
Нижняя пластина |
Толщина, ширина и высота нижней пластины. |
|
Параметр |
Описание |
По умолчанию |
|---|---|---|
|
Нумерация |
Префикс и начальный номер для номера позиции детали. Некоторые компоненты имеют вторую строку полей, где можно ввести номер марки. |
Начальный номер детали для использования по умолчанию задается на вкладке Компоненты (меню ). |
|
Материал |
Сорт материала. |
Материал для использования по умолчанию задается в поле Материал детали на вкладке Компоненты (меню ). |
|
Название |
Имя, отображаемое на чертежах и в отчетах. |
Размеры монтажной пластины
|
Описание |
|
|---|---|
|
1 |
Расстояние от кромки полки главной детали до кромки верхней и нижней пластины. |
|
2 |
Расстояние от полки второстепенной детали до кромки верхней и нижней пластины. |
|
3 |
Ширина зауженного торца верхней и нижней пластины. |
|
4 |
Размер фаски на верхней и нижней пластине. |
Положение монтажной пластины
Задайте количество и сторону расположения монтажных пластин в соединениях на монтажных пластинах.
|
Параметр |
Описание |
|---|---|
|
|
По умолчанию Монтажная пластина на дальней стороне Этот параметр может быть изменен АвтоСтандартами. |
|
|
Автоматически Компонент автоматически выбирает монтажную пластину на ближней или на дальней стороне. Монтажная пластина создается на стороне второстепенной детали, когда угол между главной деталью и второстепенной деталью меньше 90 градусов. |
|
|
Монтажная пластина на дальней стороне |
|
|
Монтажная пластина на ближней и дальней стороне |
|
|
Монтажная пластина на ближней стороне |
Вкладка «Ребра жесткости»
Для задания размеров, ориентации, положения и типа пластин жесткости служит вкладка Ребра жесткости.
Размеры пластин жесткости
| Параметр |
Описание |
|---|---|
|
Верх, БС |
Толщина, ширина и высота верхнего ребра жесткости на ближней стороне. |
|
Верх, ДС |
Толщина, ширина и высота верхнего ребра жесткости на дальней стороне. |
|
Низ, БС |
Толщина, ширина и высота нижнего ребра жесткости на ближней стороне. |
|
Низ, ДС |
Толщина, ширина и высота нижнего ребра жесткости на дальней стороне. |
|
Параметр |
Описание |
По умолчанию |
|---|---|---|
|
Нумерация |
Префикс и начальный номер для номера позиции детали. |
Начальный номер детали для использования по умолчанию задается на вкладке Компоненты (меню ). |
|
Материал |
Сорт материала. |
Материал для использования по умолчанию задается в поле Материал детали на вкладке Компоненты (меню ). |
|
Название |
Имя, отображаемое на чертежах и в отчетах. |
Положения ребер жесткости
|
Описание |
|
|---|---|
|
1 |
Величина зазора между ребром жесткости и кромкой стенки балки. |
|
2 |
Величина зазора между верхним ребром жесткости на ближней стороне и кромкой полки балки. |
|
3 |
Величина зазора между нижним ребром жесткости на ближней стороне и кромкой полки балки. |
|
4 |
Величина зазора между нижним ребром жесткости на дальней стороне и кромкой полки балки. |
|
5 |
Величина зазора между верхним ребром жесткости на дальней стороне и кромкой полки балки. |
Ориентация ребер жесткости
|
Параметр |
Описание |
|---|---|
|
|
По умолчанию Ребра жесткости параллельны второстепенной детали. Этот параметр может быть изменен АвтоСтандартами. |
|
|
Ребра жесткости параллельны второстепенной детали. |
|
|
Ребра жесткости перпендикулярны главной детали. |
Создание ребер жесткости
|
Параметр |
Описание |
|---|---|
|
|
По умолчанию Ребра жесткости создаются. Этот параметр может быть изменен АвтоСтандартами. |
|
|
Автоматически Ребра жесткости создаются по необходимости. |
|
|
Ребра жесткости не создаются. |
|
|
Ребра жесткости создаются. |
Форма ребра жесткости
|
Параметр |
Описание |
|---|---|
|
|
По умолчанию Пластины жесткости с прямой фаской Этот параметр может быть изменен АвтоСтандартами. |
|
|
Автоматически Пластины жесткости с прямой фаской |
|
|
Прямоугольные пластины жесткости Пластины жесткости с зазором под округление стенки главной детали |
|
|
Пластины жесткости с прямой фаской |
Зазор для ребра жесткости
|
Описание |
|
|---|---|
|
1 |
Расстояние от кромки полки до кромки ребра жесткости. |
|
2 |
Величина зазора между полками и ребром жесткости. |
Размеры фаски

|
Описание |
По умолчанию |
|
|---|---|---|
|
1 |
Вертикальный размер фаски. |
10 мм |
|
2 |
Горизонтальный размер фаски. |
10 мм |
Тип фаски
|
Параметр |
Описание |
|---|---|
|
|
Вариант по умолчанию. Прямая фаска Этот параметр может быть изменен АвтоСтандартами. |
|
|
Без фаски |
|
|
Прямая фаска |
|
|
Фаска в виде выпуклой дуги |
|
|
Фаска в виде вогнутой дуги |
Вкладка «Вырез»
Для автоматического создания вырезов во второстепенной балке и задания свойств вырезов служит вкладка Вырез. Вкладка Вырез содержит два раздела: свойства, используемые при автоматическом создании вырезов (верхний раздел), и свойства, используемые при создании вырезов вручную (нижний раздел). Свойства для автоматического и для ручного создания вырезов действуют независимо друг от друга.
Автоматическое создание вырезов
Параметры автоматического создания вырезов влияют и на верхнюю, и на нижнюю полки.
Форма выреза
Автоматическое создание вырезов включается при выборе формы выреза.
|
Параметр |
Описание |
|---|---|
|
|
По умолчанию Во второстепенной балке создаются вырезы. Этот параметр может быть изменен АвтоСтандартами. |
|
|
Во второстепенной балке создаются вырезы. Резы выполняются под прямым углом к стенке главной балки. |
|
|
Во второстепенной балке создаются вырезы. Резы выполняются под прямым углом к стенке второстепенной балки. |
|
|
Во второстепенной балке создаются вырезы. Вертикальный рез делается под прямым углом главной балке, а горизонтальный — под прямым углом к второстепенной балке. |
|
|
Выключение автоматического создания вырезов. |
Размер выреза
|
Формат |
Описание |
|---|---|
|
|
По умолчанию Размер выреза измеряется от кромки полки главной балки и от нижней стороны верхней полки главной балки. Этот параметр может быть изменен АвтоСтандартами. |
|
|
Размер выреза измеряется от кромки полки главной балки и от нижней стороны верхней полки главной балки. |
|
|
Размер выреза измеряется от центральной линии главной балки и от верхней полки главной балки. |
Введите размеры горизонтальных и вертикальных резов.
Форма среза полки
|
Формат |
Описание |
|---|---|
|
|
По умолчанию Полка второстепенной балки срезается параллельно главной балке. Этот параметр может быть изменен АвтоСтандартами. |
|
|
Полка второстепенной балки срезается параллельно главной балке. |
|
|
Полка второстепенной балки срезается под прямым углом. |
Округление размера выреза
Параметры округления размеров вырезов позволяют указать, округляются ли в большую сторону размеры вырезов. Даже когда округление размеров включено, размеры округляются только при необходимости.
|
Параметр |
Описание |
|---|---|
|
|
По умолчанию Размеры вырезов не округляются. Этот параметр может быть изменен АвтоСтандартами. |
|
|
Размеры вырезов не округляются. |
|
|
Размеры вырезов округляются. Введите значения округления по горизонтали и по вертикали. |
Размеры округляются до следующего числа, кратного введенному значению. Например, если фактический размер составляет 51 и введено значение округления 10, размер округляется до 60.
Положение выреза
|
Формат |
Описание |
|---|---|
|
|
По умолчанию Рез выполняется под полкой главной балки. Этот параметр может быть изменен АвтоСтандартами. |
|
|
Рез выполняется под полкой главной балки. |
|
|
Рез выполняется над полкой главной балки. |
Фаска на вырезе
|
Формат |
Описание |
|---|---|
|
|
По умолчанию Вырез создается без фаски. Этот параметр может быть изменен АвтоСтандартами. |
|
|
Вырез создается без фаски. |
|
|
Вырез создается с прямой фаской. |
|
|
Вырез создается с фаской введенного радиуса. |
Введите радиус фаски.
Создание вырезов вручную
Создавать вырез вручную имеет смысл в случаях, когда с второстепенной балкой конфликтует деталь, не относящаяся к соединению. При использовании ручного вырезания резы выполняются с использованием значений, введенных в полях на вкладке Вырез. Для верхней и нижней полок можно использовать разные значения.
Сторона выреза в полке
Сторона выреза в полке определяет, с какой стороны балки создаются вырезы.
|
Параметр |
Описание |
|---|---|
|
|
По умолчанию Вырезы создаются с обеих сторон полки. Этот параметр может быть изменен АвтоСтандартами. |
|
|
Автоматически Вырезы создаются с обеих сторон полки. |
|
|
Вырезы создаются с обеих сторон полки. |
|
|
Вырезы создаются на ближней стороне полки. |
|
|
Вырезы создаются на дальней стороне полки. |
Форма выреза в полке
Форма выреза в полке определяет форму выреза в полке балки.
|
Параметр |
Описание |
|---|---|
|
|
По умолчанию Полка второстепенной балки полностью срезается на заданную глубину. Этот параметр может быть изменен АвтоСтандартами. |
|
|
Автоматически Полка второстепенной балки полностью срезается на заданную глубину. По умолчанию глубина выреза равна удвоенной толщине полки второстепенной балки. Рез всегда выполняется по всей ширине полки второстепенной балки. |
|
|
На полке создаются фаски. Если горизонтальный размер не введен, создается фаска под углом 45 градусов. |
|
|
Выполняются резы по полке со значениями по умолчанию, если не введены значения в полях 1 и 2. |
|
|
Полка не срезается. |
|
|
Выполняются резы по полке в соответствии со значением в поле 1, чтобы полка была заподлицо со стенкой. |
|
|
Выполняются резы по полке в соответствии со значениями в полях 1 и 2. |
Глубина выреза в полке
|
Формат |
Описание |
|---|---|
|
|
По умолчанию Глубина выреза в полке. Этот параметр может быть изменен АвтоСтандартами. |
|
|
Глубина выреза в полке. |
|
|
Глубина выреза полки в виде расстояния от центральной линии стенки второстепенной балки до кромки выреза. |
Введите глубину выреза в полке.
Размеры резов
|
Описание |
По умолчанию |
|
|---|---|---|
|
1 |
Размеры горизонтальных резов по полкам. |
10 мм |
|
2 |
Размеры вертикальных резов по полкам. |
Зазор между кромкой выреза и полкой балки равен округлению стенки главной детали. Высота выреза округляется в большую сторону до ближайших 5 мм. |
Вкладка «Болты»
Для задания свойств болтов, которыми монтажная пластина крепится к второстепенной детали, служит вкладка Болты.
Размеры группы болтов
Размеры группы болтов влияют на размер и форму монтажной пластины.
|
Описание |
|
|---|---|
|
1 |
Размер, определяющий положение группы болтов по горизонтали. |
|
2 |
Расстояние от болта до кромки. Расстояние до кромки — это расстояние от центра болта до кромки детали. |
|
3 |
Число болтов. |
|
4 |
Расстояние между болтами. Значения расстояний между болтами разделяются пробелами. Введите по значению для каждого расстояния между болтами. Например, для 3 болтов вводится 2 значения. |
|
5 |
Размер, определяющий положение группы болтов по вертикали. |
|
6 |
Выберите, как измеряются размеры, определяющие положение группы болтов по вертикали.
|
|
7 |
Укажите, какие болты следует удалить из группы болтов. Введите номера удаляемых болтов, разделяя их пробелами. Болты нумеруются слева направо и сверху вниз. |
Размещение болтов в шахматном порядке
|
Формат |
Описание |
|---|---|
|
|
По умолчанию Без смещения болтов Этот параметр может быть изменен АвтоСтандартами. |
|
|
Без смещения болтов |
|
|
В шахматном порядке, тип 1 |
|
|
В шахматном порядке, тип 2 |
|
|
В шахматном порядке, тип 3 |
|
|
В шахматном порядке, тип 4 |
Ориентация группы болтов
|
Формат |
Описание |
|---|---|
|
|
По умолчанию Под прямым углом Этот параметр может быть изменен АвтоСтандартами. |
|
|
Автоматически Под прямым углом |
|
|
В шахматном порядке Болты размещаются в шахматном порядке в направлении второстепенной детали. |
|
|
Под прямым углом Прямоугольная группа болтов располагается горизонтально. |
|
|
Под наклоном Прямоугольная группа болтов располагается под наклоном в направлении второстепенной детали. |
Базовые свойства болтов
|
Формат |
Описание |
По умолчанию |
|---|---|---|
|
Диаметр |
Диаметр болта. |
Возможные размеры определены в каталоге комплектов болтов. |
|
Стандарт болта |
Стандарт болта для использования в компоненте. |
Возможные стандарты определены в каталоге комплектов болтов. |
|
Допуск |
Зазор между болтом и отверстием. |
|
|
Резьба в детали |
Определяет, может ли резьба быть внутри деталей болтового соединения (при использовании болтов с участками без резьбы). При использовании болтов с резьбой под головку этот параметр не действует. |
Да |
|
Монтажный/заводской |
Определяет, монтажным или заводским является соединение. |
Монтажный |
Продолговатые отверстия
Можно создать продолговатые отверстия, отверстия с резьбой или отверстия завышенного размера.
|
Параметр |
Описание |
По умолчанию |
|---|---|---|
|
1 |
Вертикальный размер продолговатого отверстия. |
0 (создается круглое отверстие). |
|
2 |
Горизонтальный размер продолговатого отверстия или величина свободного хода болта в отверстии завышенного размера. |
0 (создается круглое отверстие). |
|
Тип отверстия |
Продолговатое — создаются продолговатые отверстия. Завышенного размера — создаются отверстия завышенного размера. Без отверстия — отверстия не создаются. С резьбой — создаются отверстия с резьбой. |
|
|
Повернуть отверстия |
Когда в качестве типа отверстий выбран вариант Продолговатое, этот параметр позволяет повернуть продолговатые отверстия. |
|
|
Продолговатые отверстия в |
Деталь (детали), в которых создаются продолговатые отверстия. Возможные варианты зависят от компонента. |
Комплект болта
Флажки определяют, какие объекты компонента (болт, шайбы и гайки) входят в комплект болта.
Чтобы создать только отверстие, снимите все флажки.
Чтобы изменить комплект болтов в существующем компоненте, установите флажок Использовать при изменении и нажмите кнопку Изменить.
Увеличение длины болта
Задает, насколько будет увеличена длина болта. Этот параметр используется, например, когда нужно увеличить длину болтов в связи с покраской.
Вкладка «Вырез/срез балки»
Для определения технологических отверстий для сварки, подготовки торца балки и срезов полок служит вкладка Вырез/срез балки.
Размеры технологического отверстия для сварки
|
Описание |
|
|---|---|
|
1 |
Зазор между верхней полкой второстепенной детали и главной деталью. |
|
2 |
Вертикальные размеры для верхнего и нижнего технологических отверстий для сварки. |
|
3 |
Горизонтальные размеры для верхнего и нижнего технологических отверстий для сварки. |
|
4 |
Зазор между стенкой второстепенной детали и главной деталью. Tekla Structures добавляет введенное здесь значение к зазору, введенному на вкладке Рисунок. |
|
5 |
Зазор между нижней полкой второстепенной детали и главной деталью. Tekla Structures добавляет введенное здесь значение к зазору, введенному на вкладке Рисунок. |
Технологические отверстия для сварки
|
Формат |
Формат |
Описание |
|---|---|---|
|
|
|
По умолчанию Круглое технологическое отверстие для сварки Этот параметр может быть изменен АвтоСтандартами. |
|
|
|
Круглое технологическое отверстие для сварки |
|
|
|
Квадратное технологическое отверстие для сварки |
|
|
|
Круглое технологическое отверстие для сварки с радиусом, который можно задать в поле |
|
|
|
Удлиненное конусовидное технологическое отверстие для сварки с радиусом и размерами, которые можно задать в поле |
|
|
|
Конусовидное технологическое отверстие для сварки с радиусами, которые можно задать в полях Заглавной буквой R обозначен больший радиус (высота). Строчной буквой r обозначен меньший радиус. |
Подготовка торца балки
|
Параметр |
Описание |
|---|---|
|
|
По умолчанию Подготавливаются верхняя и нижняя полки. Этот параметр может быть изменен АвтоСтандартами. |
|
|
Автоматически Подготавливаются верхняя и нижняя полки. |
|
|
Подготовка торца балки не производится. |
|
|
Подготавливаются верхняя и нижняя полки. |
Выравнивание торца балки
|
Формат |
Описание |
|---|---|
|
|
По умолчанию Торец балки не выравнивается. Полка второстепенной детали не выравнивается по верхней или нижней пластинам. Этот параметр может быть изменен АвтоСтандартами. |
|
|
Торец балки не выравнивается. |
|
|
Торец балки выравнивается. |
Срез полки
|
Вариант для верхней фаски |
Вариант для нижней фаски |
Описание |
|---|---|---|
|
|
|
По умолчанию Полка не разрезается. Этот параметр может быть изменен АвтоСтандартами. |
|
|
|
Полка не разрезается. |
|
|
|
Полка разрезается. |
Вкладка «Пластина удвоения»
Для создания пластин удвоения для усиления стенки главной детали служит вкладка Пластина удвоения.
Стенка
| Параметр |
Описание |
|---|---|
|
Стенка |
Толщина и высота пластины на стенке. |
|
Параметр |
Описание |
По умолчанию |
|---|---|---|
|
Номер позиции |
Префикс и начальный номер для номера позиции детали. |
Начальный номер детали для использования по умолчанию задается на вкладке Компоненты (меню ). |
|
Материал |
Марка материала. |
Материал для использования по умолчанию задается в поле Материал детали на вкладке Компоненты (меню ). |
|
Имя |
Имя, отображаемое на чертежах и в отчетах. |
Пластины схемы удвоения
|
Вариант |
Описание |
|---|---|
|
|
По умолчанию Пластины схемы удвоения не создаются. Этот параметр можно изменить с помощью автоматических стандартов. |
|
|
Пластины схемы удвоения не создаются. |
|
|
Создается пластина схемы удвоения на дальней стороне. |
|
|
Создается пластина схемы удвоения на ближней стороне. |
|
|
Создаются пластины схемы удвоения с обеих сторон. |
Форма кромки пластины схемы удвоения
|
Вариант |
Описание |
|---|---|
|
|
По умолчанию Пластины схемы удвоения со скошенной кромкой Этот параметр можно изменить с помощью автоматических стандартов. |
|
|
Пластины схемы удвоения со скошенной кромкой Введите угол в поле |
|
|
Пластины схемы удвоения с прямой кромкой |
Срезы пластины удвоения
| Параметр | Описание |
|---|---|
|
|
По умолчанию Пластины удвоения не срезаются. Этот параметр можно изменить с помощью автоматических стандартов. |
|
|
Пластины удвоения не срезаются. |
|
|
Пластины удвоения срезаются в области соединения полки и стенки главной детали. |
Общие параметры

|
Описание |
|
|---|---|
|
1 |
Расстояние от кромки до полки колонны. |
|
2 |
Расстояние до кромки пластины удвоения. Расстояние до кромки — это расстояние от центра отверстия до кромки детали. |
|
3 |
Расстояние до кромки пластины удвоения относительно нижней кромки второстепенной детали. |
|
4 |
Число отверстий. |
|
5 |
Расстояния между отверстиями. Значения расстояний между отверстиями разделяются пробелами. Необходимо ввести значения всех расстояний между отверстиями. Например, для 3 отверстий вводится 2 значения. |
Размер отверстия для сварки

|
Описание |
|
|---|---|
|
1 |
Диаметр отверстия. |
|
2 |
Длина продолговатого отверстия. |
|
3 |
Ширина продолговатого отверстия. |
Вкладка «Общие»
См. ссылку ниже:
Вкладка «Тип конструкции»
См. ссылку ниже:
Вкладка «Расчет»
См. ссылку ниже:
Сварные швы
См. ссылку ниже:







