Двусторонняя соед. пластина (118)
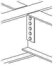
Компонент Двусторонняя соед. пластина (118) соединяет две балки с балкой или с колонной с помощью монтажных пластин. Монтажные пластины привариваются к главной балке или колонне и крепятся болтами к второстепенным балкам.
Создаваемые объекты
-
Монтажные пластины (2)
-
Болты
-
Сварные швы
-
Срезы/вырезы
Применение
|
Ситуация |
Описание |
|---|---|
|
|
Простые монтажные пластины, соединенные с балкой. |
|
|
Простые монтажные пластины, соединенные с балкой. Вторая второстепенная балка наклонена в вертикальной плоскости. |
|
|
Простые монтажные пластины, соединенные со стенкой колонны. |
Ограничения
Верхние кромки монтажных пластин должны находиться на одном уровне.
Порядок выбора
-
Выберите главную деталь (балку или колонну).
-
Выберите первую второстепенную деталь (балку).
-
Выберите вторую второстепенную деталь (балку).
-
Щелкните средней кнопкой мыши, чтобы создать соединение.
Обозначение деталей
| Деталь | |
|---|---|
|
1 |
Монтажная пластина |
Вкладка «Рисунок»
Для задания положения монтажных пластин служит вкладка Рисунок.
Размеры монтажной пластины
|
Описание |
По умолчанию |
|
|---|---|---|
|
1 |
Срез второстепенной детали. При срезании второстепенной детали создается зазор между главной деталью и второстепенной деталью. Точка срезания определяется относительно стенки главной детали. |
|
|
2 |
Расстояние от нижней кромки второстепенной балки до нижней кромки монтажной пластины. |
|
|
3 |
Расстояние от верхней кромки первой второстепенной балки до верхней кромки монтажной пластины. Верхние кромки монтажных пластин располагаются на одном и том же уровне. |
50 мм |
Положение монтажной пластины
|
Параметр |
Описание |
|---|---|
|
|
По умолчанию Монтажная пластина находится слева от стенки второстепенной балки. Этот параметр может быть изменен АвтоСтандартами. |
|
|
Монтажная пластина находится слева от стенки второстепенной балки. |
|
|
Монтажная пластина находится справа от стенки второстепенной балки. |
Срез полки балки
|
Параметр |
Описание |
|---|---|
|
|
По умолчанию Под прямым углом Этот параметр может быть изменен АвтоСтандартами. |
|
|
Под косым углом Торец полки срезается под косым углом. |
|
|
Под прямым углом Торец полки срезается под прямым углом. |
Вкладка «Детали»
Для задания свойств монтажной пластины служит вкладка Детали.
|
Деталь |
Описание |
|---|---|
|
Пластина |
Толщина и высота монтажной пластины. |
|
Параметр |
Описание |
По умолчанию |
|---|---|---|
|
Нумерация |
Префикс и начальный номер для номера позиции детали. Некоторые компоненты имеют вторую строку полей, где можно ввести номер марки. |
Начальный номер детали для использования по умолчанию задается на вкладке Компоненты (меню ). |
|
Материал |
Сорт материала. |
Материал для использования по умолчанию задается в поле Материал детали на вкладке Компоненты (меню ). |
|
Название |
Имя, отображаемое на чертежах и в отчетах. |
Вкладка «Вырез»
Для автоматического создания вырезов во второстепенных балках и задания свойств вырезов служит вкладка Вырез. Вырезы определяются для обеих второстепенных балок.
Форма выреза
Задайте форму выреза для верха и низа второстепенной балки.
|
Формат |
Формат |
Описание |
|---|---|---|
|
|
|
По умолчанию Создается прямоугольный вырез на верхней стороне или на нижней стороне второстепенной балки. Этот параметр может быть изменен АвтоСтандартами. |
|
|
|
Без выреза |
|
|
|
Создается прямоугольный вырез на верхней стороне или на нижней стороне второстепенной балки. Задайте размеры выреза. В соединениях балка с балкой, где второстепенная балка наклонена в вертикальной плоскости, глубина измеряется так, как показано на рисунке.
|
|
|
|
Создается вырез на обеих сторонах второстепенной детали. Задайте размеры выреза. |
|
|
|
Создается вырез с фаской на обеих сторонах второстепенной балки. Задайте размеры фаски. |
|
|
|
Создается планка. Задайте длину планки. Полки срезаются полностью. |
|
|
|
Создается особый тип прямоугольного выреза. Задайте размеры выреза. Вырез выполняется перпендикулярно второстепенной балке. Значения по умолчанию для длины или ширины не предусмотрены. |
Размеры выреза
Задайте размеры вырезов сверху и снизу, если в списке Определение выреза BCSA выбран вариант Нет.
|
Описание |
|
|---|---|
|
1 |
Вертикальный размер выреза. |
|
2 |
Горизонтальный размер выреза. |
Сторона создания выреза
Укажите, с какой стороны второстепенной балки создается вырез. Можно задать сторону и для верха, и для низа второстепенной балки.
|
Формат |
Описание |
|---|---|
|
|
По умолчанию Создаются вырезы с обеих сторон. Этот параметр может быть изменен АвтоСтандартами. |
|
|
Создаются вырезы с обеих сторон. |
|
|
Создается вырез с левой стороны. |
|
|
Создается вырез с правой стороны. |
Определение выреза BCSA
Укажите, создается ли вырез в соответствии с требованиями Британской ассоциации производителей строительных металлоконструкций (British Constructional Steelwork Association, BCSA).
|
Формат |
Описание |
|---|---|
|
По умолчанию |
Размеры выреза. |
|
Да |
Создается 50-миллиметровый вырез для простых соединений балки с балкой. |
|
Нет |
Задайте размеры выреза с помощью параметров на этой вкладке Вырез. |
Вкладка «Болты»
Для задания свойств болтов служит вкладка Болты.
Размеры группы болтов

|
Описание |
|
|---|---|
|
1 |
Расстояние от болта до кромки. Расстояние до кромки — это расстояние от центра болта до кромки детали. |
|
2 |
Число болтов. |
|
3 |
Расстояние между болтами. Значения расстояний между болтами разделяются пробелами. Введите по значению для каждого расстояния между болтами. Например, для 3 болтов вводится 2 значения. |
|
4 |
Горизонтальное расстояние от болта до кромки. |
|
5 |
Размер, определяющий положение группы болтов по вертикали. |
|
6 |
Выберите, как измеряются размеры, определяющие положение группы болтов по вертикали.
|
Размещение болтов в шахматном порядке
|
Формат |
Описание |
|---|---|
|
|
По умолчанию Без смещения болтов Этот параметр может быть изменен АвтоСтандартами. |
|
|
Без смещения болтов |
|
|
В шахматном порядке, тип 1 |
|
|
В шахматном порядке, тип 2 |
|
|
В шахматном порядке, тип 3 |
|
|
В шахматном порядке, тип 4 |
Базовые свойства болтов
|
Формат |
Описание |
По умолчанию |
|---|---|---|
|
Диаметр |
Диаметр болта. |
Возможные размеры определены в каталоге комплектов болтов. |
|
Стандарт болта |
Стандарт болта для использования в компоненте. |
Возможные стандарты определены в каталоге комплектов болтов. |
|
Допуск |
Зазор между болтом и отверстием. |
|
|
Резьба в детали |
Определяет, может ли резьба быть внутри деталей болтового соединения (при использовании болтов с участками без резьбы). При использовании болтов с резьбой под головку этот параметр не действует. |
Да |
|
Монтажный/заводской |
Определяет, монтажным или заводским является соединение. |
Монтажный |
Продолговатые отверстия
Можно создать продолговатые отверстия, отверстия с резьбой или отверстия завышенного размера.
|
Параметр |
Описание |
По умолчанию |
|---|---|---|
|
1 |
Вертикальный размер продолговатого отверстия. |
0 (создается круглое отверстие). |
|
2 |
Горизонтальный размер продолговатого отверстия или величина свободного хода болта в отверстии завышенного размера. |
0 (создается круглое отверстие). |
|
Тип отверстия |
Продолговатое — создаются продолговатые отверстия. Завышенного размера — создаются отверстия завышенного размера. Без отверстия — отверстия не создаются. С резьбой — создаются отверстия с резьбой. |
|
|
Повернуть отверстия |
Когда в качестве типа отверстий выбран вариант Продолговатое, этот параметр позволяет повернуть продолговатые отверстия. |
|
|
Продолговатые отверстия в |
Деталь (детали), в которых создаются продолговатые отверстия. Возможные варианты зависят от компонента. |
Комплект болта
Флажки определяют, какие объекты компонента (болт, шайбы и гайки) входят в комплект болта.
Чтобы создать только отверстие, снимите все флажки.
Чтобы изменить комплект болтов в существующем компоненте, установите флажок Использовать при изменении и нажмите кнопку Изменить.
Увеличение длины болта
Задает, насколько будет увеличена длина болта. Этот параметр используется, например, когда нужно увеличить длину болтов в связи с покраской.
Вкладка «Общие»
См. ссылку ниже:
Вкладка «Проектирование»
См. ссылку ниже:
Вкладка «Расчет»
См. ссылку ниже:
Сварные швы
См. ссылку ниже: