Zimnogięte z zakładem (1)
Karta walcowana na zimno (1) łączy jedną lub dwie płatwie lub szyny z krokwią lub słupkiem. Niektóre właściwości tego komponentu są wczytywane bezpośrednio z overlap.dat pliku. Skontaktuj się z lokalnym Tekla Structures centrum pomocy technicznej, jeśli chcesz dostosować komponent w stopniu większym, niż pozwala na to okno dialogowe.
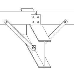
Utworzone obiekty
-
Łącznik z kątownika
-
Żebro
-
Zastrzały
-
śruby
-
Spoiny
Zastosowania
Połączenia można używać do:
-
Połączenia na zakład
-
Połączenia doczołowe
-
Łączenie płatwi lub rygli podwójnego przęsła
-
Końce szczytów
Nie należy stosować do połączeń z ryglami bocznymi, które mają specjalnie zaprojektowane połączenie.
| Sytuacja | Opis |
|---|---|
|
|
Pełne nośne połączenie belki rygla do dwóch elementów podrzędnych. Połączenie blachy. |
|
|
Pełne nośne połączenie belki rygla do dwóch elementów podrzędnych. Połączenie kątownikiem. |
|
|
Pełne nośne połączenie belki rygla do dwóch elementów podrzędnych. Połączenie usztywniane naroża. |
Przed rozpoczęciem
Utwórz dwie płatwie na tej samej głębokości i z równoległymi liniami środkowymi.
-
Utwórz płatwie, używając naprzemiennych obrotów, najpierw w górę, następnie w dół itd.
-
Umieść płatwie na środkowej linii rygla. Tekla Structures automatycznie rozszerzy je do wymaganego zakładu.
-
W razie potrzeby zdefiniuj zwis szczytu.
Użyj standardowego odsunięcia półki rygla podanego przez producenta.
Te ustawienia powodują kolizję płatwi, dlatego podczas przeprowadzania kontroli kolizji można je wykluczyć za pomocą filtra wyboru. Na przykład, jako nazwę właściwości w filtrze wprowadź PURLIN .
Kolejność wyboru
-
Wybierz element główny (rygiel lub słupek).
-
Wybierz elementy podrzędne (jedną lub dwie płatwie).
-
Kliknij środkowym przyciskiem myszy, aby utworzyć komponent.
Klucz do identyfikacji elementów


| Opis | |
|---|---|
|
1 |
Profil kątownika |
|
2 |
Profil zastrzału |
|
3 |
Blacha zastrzału |
karta Obraz
Karta Obraz służy do definiowania wymiarów i pozycji łącznika.
Wymiary łącznika

| Opis | |
|---|---|
|
1 |
Wysokość łącznika jest używana, gdy oś profilu łącznika znajduje się nad osią rygla. |
|
2 |
Odległość od osi łącznika do krawędzi płatwi. Odległość ta dotyczy tylko końców szczytów. Wartość domyślna to 0 mm. |
|
3 |
Szerokość łącznika, gdy oś profilu łącznika jest równoległa do rygla. |

| Opis | |
|---|---|
|
1 |
Odległość od środka łącznika do środka rygla |
|
2 |
Odległość od środka łącznika do końca płatwi, gdy występują dwie płatwie. |
Karta Łącznik
Karta Łącznik pozwala definiować właściwości i pozycje łączników, żeber oraz śrub rygla i śrub rygla łącznika.
Elementy
| Opcja | Opis |
|---|---|
|
Profil łącznika |
Umożliwia wybranie profilu z katalogu profili. |
|
Żebro |
Umożliwia zdefiniowanie grubości żebra. |
|
Opcja |
Opis |
Domyślnie |
|---|---|---|
|
Nr pozycji |
Przedrostek i numer początkowy numeru pozycji elementu. Niektóre komponenty mają drugi wiersz pól, w którym można wprowadzić numer pozycji zespołu. |
Domyślny numer początkowy elementu jest zdefiniowany w ustawieniach Komponenty dostępnych po wybraniu . |
|
Materiał |
Klasa materiału. |
Domyślny materiał jest określony w polu Materiał elementu w ustawieniach Komponenty dostępnych po wybraniu . |
|
Nazwa |
Ta nazwa będzie widoczna w rysunkach i raportach. |
Właściwości śruby rygla
| Opcja | Opis |
|---|---|
|
Norma śruby rygla |
Norma śruby dla wszystkich śrub łączących łącznik z ryglem. Aby zdefiniować normę śruby rygla i tolerancję śruby rygla, wybierz opcję przykręcenia łącznika do rygla.
|
|
Tolerancja śruby rygla |
Szczelina między a ryglem a śrubami dla wszystkich śrub łączących łącznik z ryglem. |
|
Typ zespołu |
Lokalizacja montażu śrub. |
Zespół śruby
Zaznaczenie pól wyboru pozwala określić, które obiekty komponentu (śruba, podkładki i nakrętki) mają być używane w zespole śruby.
Aby utworzyć sam otwór, należy usunąć zaznaczenie wszystkich pól wyboru.
Aby zmienić zespół śruby w istniejącym komponencie, należy zaznaczyć pole wyboru Wynik modyfikacji i kliknąć Zmień.
Wymiary grupy śrub rygla łącznika
Aby zdefiniować wymiary grupy śrub rygla, najpierw wybierz przykręcenie łącznika do rygla.


| Opis | |
|---|---|
|
1 |
Rozstaw śrub w poziomie. |
|
2 |
Średnica śrub łączących łącznik z ryglem. |
|
3 |
Offset łącznika od osi rygla. |
|
4 |
Liczba śrub. |
|
5 |
Rozstaw śrub. Wartości rozstawu śrub należy oddzielać spacją. Należy wprowadzić wartość każdej odległości między śrubami. Na przykład w przypadku 3 śrub należy wprowadzić 2 wartości. |
|
6 |
Odległość od krawędzi śruby. odległość od krawędzi to odległość od środka śruby do krawędzi elementu. |
Orientacja łącznika
| Opcja | Opis |
|---|---|
|
|
Domyślna Oś łącznika jest równoległa do rygla. Ustawienia AutoDefault mogą zmienić tą opcję. |
|
|
Oś profilu łącznika jest równoległa do rygla. |
|
|
Oś profilu łącznika jest ustawiona pionowo względem rygla. |
|
|
Oś łącznika jest równoległa do rygla. Tworzone jest żebro w linii. Zdefiniuj wymiary cięcia żebra. |
|
|
Oś profilu łącznika jest ustawiona pionowo względem rygla. Tworzone jest kwadratowe żebro. |
Wymiary cięcia żebra
Zdefiniuj wymiary żeber liniowych lub kwadratowych.

| Opis | |
|---|---|
|
1 |
Pionowy wymiar fazowania |
|
2 |
Poziomy wymiar fazowania |
|
3 |
Wymiar cięcia poziomego |
|
4 |
Wymiar cięcia pionowego |

| Opis | |
|---|---|
|
1 |
Wymiar poziomy |
|
2 |
Wymiar pionowy |
Pozycja łącznika
| Opcja | Opis |
|---|---|
|
|
Domyślna Łącznik jest przymocowany z przodu płatwi. Tekla Structures umieszcza łącznik zgodnie z użytym profilem płatwi. Ustawienia AutoDefault mogą zmienić tą opcję. |
|
|
Łącznik jest przymocowany z przodu płatwi. |
|
|
Łącznik jest przymocowany do tylnej części płatwi. |
Mocowanie łącznika
| Opcja | Opis |
|---|---|
|
|
Domyślna Łącznik jest przyspawany do rygla. Ustawienia AutoDefault mogą zmienić tą opcję. |
|
|
Łącznik jest przykręcona do rygla. |
|
|
Łącznik jest przyspawany do rygla. |
Karta Zastrzały
Karta Zastrzały umożliwia tworzenie i definiowanie właściwości zastrzałów, blach zastrzałów i śrub zastrzałów.
Elementy
| Opcja | Opis |
|---|---|
|
Profil zastrzału |
Umożliwia wybranie profilu z katalogu profili. |
|
Blacha zastrzału |
Grubość, szerokość i wysokość blachy zastrzału. |
|
Kąt zastrzału |
Wartość kąta zastrzału. |
|
Opcja |
Opis |
Domyślnie |
|---|---|---|
|
Nr pozycji |
Przedrostek i numer początkowy numeru pozycji elementu. Niektóre komponenty mają drugi wiersz pól, w którym można wprowadzić numer pozycji zespołu. |
Domyślny numer początkowy elementu jest zdefiniowany w ustawieniach Komponenty dostępnych po wybraniu . |
|
Materiał |
Klasa materiału. |
Domyślny materiał jest określony w polu Materiał elementu w ustawieniach Komponenty dostępnych po wybraniu . |
|
Nazwa |
Ta nazwa będzie widoczna w rysunkach i raportach. |
|
|
Wykończenie |
Opisuje sposób obróbki powierzchni elementu. |
Właściwości śrub
| Opcja | Opis |
|---|---|
|
Płatew-zastrzał - norma śruby Rygiel-zastrzał - norma śruby |
Wybierz standard śrub, które łączą zastrzały lub zastrzały rygla z płatwiami. |
|
Płatew-zastrzał - toler. śruby Belka-zastrzał - toler. śruby |
Definiuj odstęp między śrubami i otworami dla śrub, które łączą zastrzały lub zastrzały rygla z płatwiami. |
|
Obrót zastrzału |
Umożliwia zdefiniowanie obrotu zastrzału |
Lokalizacja zastrzałów
| Opcja | Opis |
|---|---|
|
|
Domyślna Zastrzały nie są tworzone. Ustawienia AutoDefault mogą zmienić tą opcję. |
|
|
Zastrzały nie są tworzone. |
|
|
Zastrzały są tworzone po obu stronach. Tworzone są płyty podporowe. |
|
|
Zastrzał jest tworzony po prawej stronie. Tworzona jest blacha zastrzału. |
|
|
Zastrzał jest tworzony po lewej stronie. Tworzona jest blacha zastrzału. |
|
|
Zastrzał jest tworzony po prawej stronie. Blachy zastrzału są tworzone po obu stronach. |
|
|
Zastrzał jest tworzony po lewej stronie. Blachy zastrzału są tworzone po obu stronach. |
|
|
Zostaną utworzone otwory. Nie są tworzone zastrzały ani blachy zastrzałów. |
Mocowanie zastrzału
| Opcja | Opis |
|---|---|
|
|
Domyślna Zastrzał jest dołączony do dolnej części środnika płatwi. Ustawienia AutoDefault mogą zmienić tą opcję. |
|
|
Zastrzał jest dołączony do górnej części sieci płatwi. |
|
|
Zastrzał jest dołączony do środkowej części środnika płatwi. |
|
|
Zastrzał jest dołączony do dolnej części środnika płatwi. |
Tworzenie otworu/śruby w zastrzale
| Opcja | Opis |
|---|---|
|
|
Domyślna Jeden otwór lub śruba w ryglu. Ustawienia AutoDefault mogą zmienić tą opcję. |
|
|
Jeden otwór lub śruba w ryglu. |
|
|
Gdy otwór lub śruba w zastrzale zostaną umieszczone w określonej odległości (zdefiniowanej w d) od innych istniejących otworów lub śrub w ryglu, zostaną scalone ze sobą. Odległość d jest zdefiniowana overlap.dat w pliku. |
Mocowanie blachy zastrzału do wstawki
| Opcja | Opis |
|---|---|
|
|
Domyślna Blachy zastrzału są mocowane do wstawek. Ustawienia AutoDefault mogą zmienić tą opcję. |
|
|
Blachy zastrzału są mocowane do rygli. Połączenie należy zastosować powyżej wstawki. |
|
|
Blachy zastrzału są mocowane do wstawek. |
Śruby zastrzału

| Opis | |
|---|---|
|
1 |
Odległość od krawędzi śruby. odległość od krawędzi to odległość od środka śruby do krawędzi elementu. |
|
2 |
Odległość od krawędzi śruby. odległość od krawędzi to odległość od środka śruby do krawędzi elementu. |
|
3 |
Liczba śrub. |
|
4 |
Rozstaw śrub. Wartości rozstawu śrub należy oddzielać spacją. Należy wprowadzić wartość każdej odległości między śrubami. Na przykład w przypadku 3 śrub należy wprowadzić 2 wartości. |
|
5 |
Odległość krawędzi śruby do krawędzi zastrzału. |
|
6 |
Odległość śruby zastrzału od osi rygla. |
|
7 |
Odległość krawędzi blachy od krawędzi rygla. |
|
8 |
Średnica śruby. |
Wymiary fazowania

| Opis | |
|---|---|
|
1 |
Pionowy wymiar fazowania |
|
2 |
Poziomy wymiar fazowania |
Kształt fazowania
| Opcja | Opis |
|---|---|
|
|
Domyślna Fazowanie liniowe Ustawienia AutoDefault mogą zmienić tą opcję. |
|
|
Bez fazowania |
|
|
Fazowanie liniowe |
|
|
Fazowanie wypukłe |
|
|
Fazowanie wklęsłe |
Karta Śruby
Na karcie Śruby można definiować wymiary grupy śrub i właściwości śrub łączących łączniki z płatwiami.
Wymiary grupy śrub

| Opis | |
|---|---|
|
1 |
Wymiar pozycji pionowej grupy śrub. |
|
2 |
Odległość od krawędzi śruby. odległość od krawędzi to odległość od środka śruby do krawędzi elementu. |
|
3 |
Liczba śrub. |
|
4 |
Rozstaw śrub. Wartości rozstawu śrub należy oddzielać spacją. Należy wprowadzić wartość każdej odległości między śrubami. Na przykład w przypadku 3 śrub należy wprowadzić 2 wartości. |

| Opis | |
|---|---|
|
1 |
Wymiary pozycji poziomej grupy śrub. |
|
2 |
Odległość od krawędzi śruby. odległość od krawędzi to odległość od środka śruby do krawędzi elementu. |
|
3 |
Rozstaw śrub. |
Podstawowe właściwości śruby
|
Opcja |
Opis |
Domyślna |
|---|---|---|
|
Rozmiar śruby |
Średnica śruby. |
Dostępne rozmiary są zdefiniowane w katalogu zespołów śrub. |
|
Norma śruby |
Norma śruby używana w komponencie. |
Dostępne normy są zdefiniowane w katalogu zespołów śrub. |
|
Tolerancja |
Odstęp między śrubą a otworem. |
|
|
Gwint w mat |
Umożliwia zdefiniowanie, czy gwint może się znajdować w elementach przykręcanych, gdy używane są śruby z gwintem częściowym. Ustawienie to nie wywiera efektu, gdy używane są śruby z pełnym gwintem. |
Tak |
|
Budowa/Warsztat |
Lokalizacja montażu śrub. |
Budowa |
Otwory podłużne
Istnieje możliwość zdefiniowania otworów podłużnych, powiększonych lub gwintowanych.
|
Opcja |
Opis |
Domyślnie |
|---|---|---|
|
1 |
Wymiar pionowy otworu owalnego. |
0 — okrągły otwór. |
|
2 |
Wymiar poziomy otworu owalnego lub naddatek dla otworów powiększonych. |
0 - okrągły otwór. |
|
Typ otworu |
Podłużny tworzy otwory podłużne. Powiększony tworzy otwory powiększone. Brak otworu powoduje, że otwory nie są tworzone. Gwintowany tworzy otwory gwintowane. |
|
|
Obróć otwory |
Gdy typ otworu jest ustawiony na Owalny, ta opcja obraca otwory owalne. |
|
|
Owalne otwory w |
Elementy, w których są tworzone otwory podłużne. Dostępne opcje zależą od komponentu. |
Zespół śruby
Zaznaczenie pól wyboru pozwala określić, które obiekty komponentu (śruba, podkładki i nakrętki) mają być używane w zespole śruby.
Aby utworzyć sam otwór, należy usunąć zaznaczenie wszystkich pól wyboru.
Aby zmienić zespół śruby w istniejącym komponencie, należy zaznaczyć pole wyboru Wynik modyfikacji i kliknąć Zmień.
Zwiększenie długości śruby
Umożliwia zdefiniowanie, o ile ma zostać zwiększona długość śruby. Tej opcji można na przykład użyć, gdy malowanie wymaga zwiększenia długości śruby.
Orientacja śruby
| Opcja | Opis |
|---|---|
|
|
Domyślna Śruby są umieszczane prostopadle do elementu głównego. Ustawienia AutoDefault mogą zmienić tą opcję. |
|
|
Śruby są umieszczane prostopadle do elementu głównego. |
|
|
Są umieszczane prostopadle do elementu podrzędnego. |
Otwory na śruby
| Opcja | Opis |
|---|---|
|
|
Domyślna Otwory śrub nie są tworzone. Ustawienia AutoDefault mogą zmienić tą opcję. |
|
|
Otwory śrub nie są tworzone. |
|
|
Otwory śrub są tworzone na końcu szczytu pasów rygli. |
Śruby zakładu
| Opcja | Opis |
|---|---|
|
|
Domyślna Tworzone są śruby zakładu pasa. Ustawienia AutoDefault mogą zmienić tą opcję. |
|
|
Tworzone są śruby zakładu pasa. |
|
|
Tworzone są śruby zakładu środnika. |
Tworzenie zakładu
| Opcja | Opis |
|---|---|
|
|
Domyślna Tworzony jest zakład. Ustawienia AutoDefault mogą zmienić tą opcję. |
|
|
Automatycznie Tworzony jest zakład. |
|
|
Tworzony jest zakład. |
|
|
Zakład nie jest tworzony. |
karta Ogólne
Kliknij poniższe łącze, aby uzyskać więcej informacji:
Karta Obliczenia
Kliknij poniższe łącze, aby uzyskać więcej informacji:
Spoiny
Kliknij poniższe łącze, aby uzyskać więcej informacji:
















































