Blacha końcowa z żebrem częściowym (65)
Komponent Blacha końcowa z żebrem częściowym (65) pozwala utworzyć połączenie belki z belką na blachę końcową. To połączenie tworzy blachę końcową na belce podrzędnej, blachę żebra i łączącą blachę czołową na belce głównej. Dodatkowo można dodać blachy żebra po obu stronach, dodać blachę dolną do spodu blachy żebra głównego, a także utworzyć podkładki z blachy.
Utworzone obiekty
-
Blacha końcowa
-
Blacha ścinana
-
Żebra
-
Podkładki z blachy
-
śruby
-
Spoiny
Zastosowania
| Sytuacja | Opis |
|---|---|
|
|
Dwie belki połączone za pomocą przykręcanych blach końcowych. |
Kolejność wyboru
-
Wybierz element główny (belkę).
-
Wybierz element podrzędny (belkę).
Połączenie zostanie utworzone automatycznie po wybraniu elementu podrzędnego.
Klucz do identyfikacji elementów

| Opis | |
|---|---|
|
1 |
Blacha końcowa |
|
2 |
Podkładka z blachy |
|
3 |
Blacha czołowa |
|
4 |
Blacha ścinana |
|
5 |
Żebro |
Karta Obraz
Na karcie Obraz można określić pozycję elementu.
Wymiary

| Opis | |
|---|---|
|
1 |
Odległość krawędzi blachy czołowej od półki elementu głównego. |
|
2 |
Odległość krawędzi blachy końcowej od półki elementu podrzędnego. |
|
3 |
Odległość krawędzi blachy czołowej od półki elementu podrzędnego. |
|
4 |
Szczelina między blachą czołową a podkładką z blachy. |
|
5 |
Szczelina między blachą ścinaną a blachą czołową. Dolne pole służy do kontrolowania blachy ścinanej po drugiej stronie elementu głównego. |
|
6 |
Odstęp między blachą ścinaną a środnikiem elementu głównego. Dolne pole służy do kontrolowania blachy ścinanej po drugiej stronie elementu głównego. |
|
7 |
Odległość krawędzi żebra od środnika elementu głównego. |
|
8 |
Odległość krawędzi blachy ścinanej od środnika elementu głównego. |
|
9 |
Odległość krawędzi blachy czołowej od półki elementu głównego. |
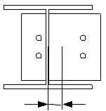
Wielkość odstępu

Umożliwia zdefiniowanie wartości granicznej szczeliny między blachą końcową a belką podrzędną. W sytuacji, gdy belka jest nieco zakrzywiona lub nachylona, za pomocą tego parametru można zdecydować, czy kąt końca belki jest na tyle mały, że koniec belki można potraktować jako prosty.
Jeśli rzeczywista wielkość szczeliny jest mniejsza niż ta wartość, koniec belki jest prosty.
Jeśli rzeczywista szczelina jest większa niż ta wartość, koniec belki jest dociągany do blachy końcowej.
Karta Elementy
Zakładka Elementy umożliwia określenie właściwości elementu.
Elementy
| Opcja | Opis |
|---|---|
|
Blacha końcowa |
Grubość blachy końcowej. |
|
Blacha czołowa |
Grubość i szerokość blachy czołowej. |
|
Blacha ścinana |
Grubość, szerokość i wysokość blachy końcowej. |
|
Wypełnij szerokość blachy ścinanej |
Określ, czy ma być używana opcja zaawansowana |
|
Żebro |
Grubość, szerokość i wysokość żebra. |
|
Żebro dolne jako jedna blacha |
Umożliwia określenie, czy dolne żebro ma zostać utworzone jako jedna blacha. |
|
Łącznik 1, Łącznik 2, Łącznik 3 |
Grubość podkładki z blachy. |
|
Blacha dolna |
Wybierz profil blachy dolnej z katalogu profili. |
|
Profil |
Wybierz profil. Kiedy wybierzesz profil, zamiast blachy czołowej tworzony jest ten profil. |
|
Obrót profilu |
Wybierz, czy profil jest obracany w poziomie, czy w pionie. |
|
Offset poziomy blachy czołowej |
Definiowanie odsunięcia poziomego od elementu głównego. |
|
Opcja |
Opis |
Domyślnie |
|---|---|---|
|
Nr pozycji |
Przedrostek i numer początkowy numeru pozycji elementu. Niektóre komponenty mają drugi wiersz pól, w którym można wprowadzić numer pozycji zespołu. |
Domyślny numer początkowy elementu jest zdefiniowany w ustawieniach Komponenty dostępnych po wybraniu . |
|
Materiał |
Klasa materiału. |
Materiał domyślny jest zdefiniowany w polu Materiał elementu w ustawieniach Komponenty dostępnych po wybraniu . |
|
Nazwa |
Ta nazwa będzie widoczna w rysunkach i raportach. |
|
|
Klasa |
Numer klasy elementu. |
|
|
Wykończenie |
Opisuje sposób obróbki powierzchni elementu. |
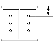
Odległość śruby do krawędzi podkładki z blachy

| Opis | |
|---|---|
|
1 |
Odległość poziomej krawędzi |
|
2 |
Odległość pionowej krawędzi |
Kształt podkładki z blachy
| Opcja | Opis |
|---|---|
|
|
Domyślna Otwory bazują na grupie śrub połączenia. Ustawienia AutoDefault mogą zmienić tą opcję. |
|
|
Otwory bazują na grupie śrub połączenia. |
|
|
Podkładka z blachy z poziomymi, skrajnymi otworami podłużnymi. Podkładkę można montować od prawej lub lewej strony połączenia. |
|
|
Podkładka z blachy z pionowymi, skrajnymi otworami podłużnymi. Podkładkę można montować od góry połączenia. |
|
|
Dwie oddzielne podkładki z blachy ze szczelinami poziomymi. |
|
|
Dwie oddzielne podkładki z blachy ze szczelinami pionowymi. |
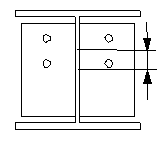
Tolerancja
Pozwala zdefiniować tolerancję otworów podłużnych w blachach ze skrajnymi otworami podłużnymi. Szerokość wcięć jest wyliczana ze wzoru: średnica śruby + tolerancja. W przypadku dwóch odrębnych podkładek z blachy należy również określić tolerancję między blachami.
karta Parametry
Karta Parametry umożliwia określenie fazowań blach ścinanych i żeber.
Wymiary fazowania blachy ścinanej

| Opis | Domyślna | |
|---|---|---|
|
1 |
Poziomy wymiar fazowania. |
30 mm |
|
2 |
Pionowy wymiar fazowania. |
30 mm |
| Opcja | Opis |
|---|---|
|
|
Domyślna Fazowanie liniowe Ustawienia AutoDefault mogą zmienić tą opcję. |
|
|
Bez fazowania |
|
|
Fazowanie liniowe |
|
|
Fazowanie wypukłe |
|
|
Fazowanie wklęsłe |
Kształt blachy ścinanej
| Opcja | Opis |
|---|---|
|
|
Domyślna Pełny Tworzy pełną blachę ścinaną o takiej samej wysokości jak środnika elementu głównego. Ustawienia AutoDefault mogą zmienić tą opcję. |
|
|
Pełny |
|
|
Blachy ścinanie są tworzone po obu stronach środnika elementu głównego. |
|
|
Częściowa blacha ścinana jest tworzona po drugiej stronie środnika elementu głównego. |
Typ fazowania
|
Opcja |
Opis |
|---|---|
|
|
Domyślna Fazowanie liniowe Ustawienia AutoDefault mogą zmienić tą opcję. |
|
|
Bez fazowania |
|
|
Fazowanie liniowe |
|
|
Fazowanie łukiem wypukłym |
|
|
Fazowanie łukiem wklęsłym |
Wymiary fazowania

|
Opis |
Domyślna |
|
|---|---|---|
|
1 |
Wymiar pionowy fazowania. |
Promień profilu |
|
2 |
Wymiar poziomy fazowania. |
Promień profilu |
Karta Śruby
Zakładka Śruby umożliwia zdefiniowanie wymiarów grupy śrub i właściwości śrub.
Wymiary grupy śrub

| Opis | |
|---|---|
|
1 |
Wymiary pozycji poziomej grupy śrub. |
|
2 |
Umożliwia wybranie sposobu mierzenia wymiarów pozycji poziomej grupy śrub.
|
|
3 |
Odległość od krawędzi śruby. odległość od krawędzi to odległość od środka śruby do krawędzi elementu. |
|
4 |
Liczba śrub. |
|
5 |
Rozstaw śrub. Wartości rozstawu śrub należy oddzielać spacją. Należy wprowadzić wartość każdej odległości między śrubami. Na przykład w przypadku 3 śrub należy wprowadzić 2 wartości. |
|
6 |
Umożliwia wybranie sposobu mierzenia wymiarów pozycji pionowej grupy śrub.
|
|
7 |
Wymiar pozycji pionowej grupy śrub. |
|
8 |
Określ śruby, które mają być usunięte z grupy śrub. Wprowadzane numery śrub przeznaczonych do usunięcia należy oddzielać spacją. Numery śrub liczy się od lewej do prawej i od góry do dołu. |
Podstawowe właściwości śruby
|
Opcja |
Opis |
Domyślnie |
|---|---|---|
|
Rozmiar śruby |
Średnica śruby. |
Dostępne rozmiary są zdefiniowane w katalogu zespołów śrub. |
|
Norma śruby |
Norma śruby używana w komponencie. |
Dostępne normy są zdefiniowane w katalogu zespołów śrub. |
|
Tolerancja |
Odstęp między śrubą a otworem. |
|
|
Gwint w mat |
Umożliwia zdefiniowanie, czy gwint może się znajdować w elementach przykręcanych, gdy używane są śruby z gwintem częściowym. Ustawienie to nie wywiera efektu, gdy używane są śruby z pełnym gwintem. |
Tak |
Typ śruby
Wybierz typ śruby w celu określenia położenia, do którego mają być dołączone śruby.
Komentarz
Można podać komentarz.
Otwory podłużne
Istnieje możliwość zdefiniowania otworów podłużnych, powiększonych lub gwintowanych.
|
Opcja |
Opis |
Domyślnie |
|---|---|---|
|
1 |
Wymiar pionowy otworu owalnego. |
0 — okrągły otwór. |
|
2 |
Wymiar poziomy otworu owalnego lub naddatek dla otworów powiększonych. |
0 - okrągły otwór. |
|
Typ otworu |
Podłużny tworzy otwory podłużne. Powiększony tworzy otwory powiększone. Brak otworu powoduje, że otwory nie są tworzone. Gwintowany tworzy otwory gwintowane. |
|
|
Obróć otwory |
Gdy typ otworu jest ustawiony na Owalny, ta opcja obraca otwory owalne. |
|
|
Owalne otwory w |
Elementy, w których są tworzone otwory podłużne. Dostępne opcje zależą od komponentu. |
Zespół śruby
Zaznaczenie pól wyboru pozwala określić, które obiekty komponentu (śruba, podkładki i nakrętki) mają być używane w zespole śruby.
Aby utworzyć sam otwór, należy usunąć zaznaczenie wszystkich pól wyboru.
Aby zmienić zespół śruby w istniejącym komponencie, należy zaznaczyć pole wyboru Wynik modyfikacji i kliknąć Zmień.
Zwiększenie długości śruby
Umożliwia zdefiniowanie, o ile ma zostać zwiększona długość śruby. Tej opcji można na przykład użyć, gdy malowanie wymaga zwiększenia długości śruby.
Kierunek śrubowania
|
Opcja |
Opis |
|---|---|
|
|
Domyślnie Kierunek śrubowania 1 Ustawienia AutoDefault mogą zmienić tą opcję. |
|
|
Kierunek śrubowania 1 |
|
|
Kierunek śrubowania 2 |
Rozmieszczanie śrub
|
Opcja |
Opis |
|---|---|
|
|
Domyślna Rozmieszczenie równoległe Ustawienia AutoDefault mogą zmienić tą opcję. |
|
|
Rozmieszczenie równoległe |
|
|
Typ rozmieszczenia na przemian 1 |
|
|
Typ rozmieszczenia na przemian 2 |
|
|
Typ rozmieszczenia na przemian 3 |
|
|
Typ rozmieszczenia na przemian 4 |
Karta Otwory - blacha końcowa
Karta Otwory - blacha końcowa umożliwia sterowanie otworami pod ocynk w blasze końcowej.
| Opcja | Opis |
|---|---|
|
Norma śruby |
Wybierz normę śruby. |
|
Typ śruby |
Wybierz typ śruby w celu określenia położenia, do którego mają być dołączone śruby. |
|
Wczytaj dane z |
Można wybrać, aby za pomocą pliku definicji sinkholes.dat określić domyślne wartości offsetów poziomych i pionowych oraz średnice górnych i dolnych otworów. Plik jest przeszukiwany w następującej kolejności: Folder ustawień dla stali w środowisku common (..\Environments\common\system\Steel), folder modelu Można również wybrać opcję, aby określić otwory w oknie dialogowym komponentu. |
Liczba otworów
Środkiem grupy otworów jest punkt środkowy belki oraz punkt środkowy wstawki, jeśli wstawka istnieje. Grupy otworów składają się z 0, 1, 2 lub 4 otworów.
| Opcja | Opis |
|---|---|
|
|
Domyślnie Brak otworów Ustawienia AutoDefault mogą zmienić tą opcję. |
|
|
Brak otworów |
|
|
1 otwór |
|
|
2 otwory |
|
|
4 otwory |
Pozycje otworów

| Opis | |
|---|---|
|
1 |
Odległość pozioma między środkiem belki podrzędnej a górnym otworem. |
|
2 |
Odległość pozioma między środkiem belki podrzędnej a dolnym otworem. |
|
3 |
Odległość pionowa między środkiem belki podrzędnej a górnym otworem. |
|
4 |
Odległość pionowa między środkiem belki podrzędnej a dolnym otworem. |
|
5 |
Średnica dolnego otworu. |
|
6 |
Średnica górnego otworu. |
Karta Otwory - blacha czołowa
Karta Otwory - blacha czołowa umożliwia sterowanie otworami pod ocynk w blasze czołowej.
| Opcja | Opis |
|---|---|
|
Norma śruby |
Wybierz normę śruby. |
|
Typ śruby |
Wybierz typ śruby w celu określenia położenia, do którego mają być dołączone śruby. |
|
Wczytaj dane z |
Można wybrać, aby za pomocą pliku definicji sinkholes.dat określić domyślne wartości offsetów poziomych i pionowych oraz średnice górnych i dolnych otworów. Plik jest przeszukiwany w następującej kolejności: Folder ustawień dla stali w środowisku common (..\Environments\common\system\Steel), folder modelu Można również wybrać opcję, aby określić otwory w oknie dialogowym komponentu. |
Liczba otworów
Środkiem grupy otworów jest punkt środkowy belki oraz punkt środkowy wstawki, jeśli wstawka istnieje. Grupy otworów składają się z 0, 1, 2 lub 4 otworów.
| Opcja | Opis |
|---|---|
|
|
Domyślnie Brak otworów Ustawienia AutoDefault mogą zmienić tą opcję. |
|
|
Brak otworów |
|
|
1 otwór |
|
|
2 otwory |
|
|
4 otwory |
Pozycje otworów

| Opis | |
|---|---|
|
1 |
Odległość pozioma między środkiem belki podrzędnej a górnym otworem. |
|
2 |
Odległość pozioma między środkiem belki podrzędnej a dolnym otworem. |
|
3 |
Odległość pionowa między środkiem belki podrzędnej a górnym otworem. |
|
4 |
Odległość pionowa między środkiem belki podrzędnej a dolnym otworem. |
|
5 |
Średnica dolnego otworu. |
|
6 |
Średnica górnego otworu. |
Karta Ogólne
Kliknij poniższe łącze, aby uzyskać więcej informacji:
Zakładka Projekt
Kliknij poniższe łącze, aby uzyskać więcej informacji:
Karta Obliczenia
Kliknij poniższe łącze, aby uzyskać więcej informacji:
Spoiny
Kliknij poniższe łącze, aby uzyskać więcej informacji:
Właściwości połączenia Dstv
Kliknij poniższe łącze, aby uzyskać więcej informacji:




















