Koud gewalste overlap (1)
Koud gewalst overlap (1) verbindt een of twee gordingen of regels met een dakligger of baluster. Sommige eigenschappen van deze component worden rechtstreeks uit het overlap.dat bestand geladen. Neem contact op met uw lokale Tekla Structures helpdesk als u de component meer moet aanpassen dan is toegestaan in het dialoogvenster.
Gemaakte objecten
-
Hoeksteun
-
Schotje
-
Kipsteun
-
Bouten
-
Lassen
Gebruiken voor
U kunt de verbinding gebruiken voor:
-
Overlappende verbindingen
-
Stuikverbindingen
-
Dubbele overspanning gordingen of regels verbinden
-
Kolommen gevel
Gebruik dit niet voor verbindingen met hoekkeperbalken die specifiek ontworpen verbindingen hebben.
| Situatie | Beschrijving |
|---|---|
|
|
Volledige ondersteuning ligger tegen ligger dakliggerverbinding aan twee aansluitende onderdelen. Plaatverbinding. |
|
|
Volledige ondersteuning ligger tegen ligger dakliggerverbinding aan twee aansluitende onderdelen. Hoekverbinding. |
|
|
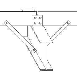
Volledige ondersteuning ligger tegen ligger dakliggerverbinding aan twee aansluitende onderdelen. Knieschoorverbinding. |
Voordat u begint
Maak twee gordingen op dezelfde diepte en met parallelle hartlijnen.
-
Maak de gordingen met afwisselende rotaties: eerst boven, dan onder, enzovoort.
-
Positioneer de gordingen ten opzichte van de hartlijn van de dakligter. Tekla Structures breidt deze automatisch uit naar de vereiste overlapping.
-
Definieer indien nodig de overstek van de gevel.
Gebruik de standaardoffset van de fabrikant voor de flens van de dakligger.
Deze instellingen veroorzaken een clash tussen gordingen, dus wanneer u de clash check uitvoert, kunt u ze uitsluiten met een selectiefilter. Voer bijvoorbeeld PURLIN in als de eigenschapsnaam in het filter.
Volgorde van selectie
-
Selecteer het hoofdonderdeel (dakligger of baluster).
-
Selecteer de aansluitende onderdelen (een of twee gordingen).
-
Klik met de middelste muisknop om de component te maken.
Onderdeelidentificatiecode


| Beschrijving | |
|---|---|
|
1 |
Hoekstaalprofiel |
|
2 |
Kipsteunprofiel |
|
3 |
Kipsteunplaat |
Tabblad Afbeelding
Definieer op het tabblad Afbeelding de positie en de afmetingen van de steun.
Afmetingen steun

| Beschrijving | |
|---|---|
|
1 |
De hoogte van de steun wordt gebruikt wanneer de hartlijn van het cleatprofiel hoger wordt geplaatst dan de hartlijn van de dakligger. |
|
2 |
De afstand van de hartlijn van de steun tot de rand van de gording. Deze afstand is alleen van toepassing op uiteinden van de gevel. De standaardwaarde is 0 mm. |
|
3 |
Breedte van de steun wanneer de hartlijn van het cleatprofiel parallel loopt aan de dakligger. |

| Beschrijving | |
|---|---|
|
1 |
De afstand vanaf het midden van de steun tot het midden van de dakligger. |
|
2 |
De afstand vanaf het midden van de steun tot het einde van de gording wanneer er twee gordingen zijn. |
Tabblad Steun
Op het tabblad Steun kunt u de eigenschappen en de positie van steunen en schotjes, en dakliggerbouten en dakliggerbouten voor de steunen definiëren.
Onderdelen
| Optie | Beschrijving |
|---|---|
|
Cleatprofiel |
Selecteer het profiel in de profielendatabase. |
|
Schotje |
Bepaal de dikte van het schotje. |
|
Optie |
Beschrijving |
Standaard |
|---|---|---|
|
Pos.nr. |
Prefix en startnummer voor het positienummer van het onderdeel. Sommige componenten hebben een tweede rij met velden waarin u het positienummer van het merk kunt invoeren. |
Het standaard startnummer van het onderdeel wordt gedefinieerd in de categorie Componenten in het menu . |
|
Materiaal |
Materiaalkwaliteit. |
Het standaardmateriaal wordt gedefinieerd in het vak Materiaal van onderdelen in de categorie Componenten in het menu . |
|
Naam |
De naam die in tekeningen en lijsten wordt weergegeven. |
Eigenschappen van dakliggerbouten
| Optie | Beschrijving |
|---|---|
|
Boutnorm |
Boutnorm voor alle bouten waarmee de steun op de dakligger is bevestigd. Kies ervoor om de steun met bouten op de dakligger vast te zetten als u de boutnorm en de bouttolerantie wilt definiëren.
|
|
Bouttolerantie |
De ruimte tussen de bouten en dakligger voor alle bouten waarmee de steun op de dakligger is bevestigd. |
|
Merktype |
Locatie waar de bouten moeten worden bevestigd. |
Boutsamenstelling
Met de selectievakjes wordt gedefinieerd welke componentobjecten (bout, ringen en moeren) in de samenstelling van de bout worden gebruikt.
Als u alleen een gat wilt maken, moet u alle selectievakjes uitschakelen.
Als u de boutsamenstelling van een bestaande component wilt aanpassen, schakelt u het selectievakje Effect bij wijzigen in en klikt u op Wijzigen.
Afmetingen boutgroep steun op dakligger
Kies eerst om de steun met bouten op de dakligger vast te zetten, als u de afmetingen van de boutgroep van de dakligger wilt definiëren.


| Beschrijving | |
|---|---|
|
1 |
Horizontale boutafstand. |
|
2 |
Diameter van de bouten waarmee de steun met de dakliggers wordt verbonden. |
|
3 |
Offset van de steun vanaf de hartlijn van de dakligger. |
|
4 |
Aantal bouten. |
|
5 |
Boutafstand. Gebruik een spatie als scheidingsteken tussen de waarden voor de boutafstand. Voer een waarde in voor elke afstand tussen de bouten. Voer bijvoorbeeld twee waarden in als er drie bouten in zitten. |
|
6 |
Randafstand bouten. De randafstand is de afstand van het hart van een bout tot de rand van het onderdeel. |
Oriëntatie van de steun
| Optie | Beschrijving |
|---|---|
|
|
Standaard De hartlijn van de steun loopt parallel aan de dakligger. AutoDefaults kan deze optie wijzigen. |
|
|
De hartlijn van het cleatprofiel loopt parallel aan de dakligger. |
|
|
De hartlijn van het cleatprofiel staat verticaal op de dakligger. |
|
|
De hartlijn van de steun loopt parallel aan de dakligger. Er wordt een lijnschotje gemaakt. Definieer de afmetingen van de zaagsnede van het verstijvingsschotje. |
|
|
De hartlijn van het cleatprofiel staat verticaal op de dakligger. Een vierkant schotje wordt gemaakt. |
Afmetingen van de zaagsnede van het verstijvingsschotje
Definieer de afmetingen van de lijnschotjes of vierkante schotjes.

| Beschrijving | |
|---|---|
|
1 |
Verticale afmeting van de afwerking |
|
2 |
Horizontale afmeting van de afwerking |
|
3 |
Maatlijn horizontale uitsnijding |
|
4 |
Maatlijn verticale uitsnijding |

| Beschrijving | |
|---|---|
|
1 |
Horizontale maatlijn |
|
2 |
Verticale maatlijn |
Locatie steun
| Optie | Beschrijving |
|---|---|
|
|
Standaard De gordingsteun wordt aan de voorzijde van de gording bevestigd. Tekla Structures plaatst de steun op basis van het gebruikte gordingprofiel. AutoDefaults kan deze optie wijzigen. |
|
|
De gordingsteun wordt aan de voorzijde van de gording bevestigd. |
|
|
De steun wordt op de achterkant van de gording bevestigd. |
Steun bouten of lassen
| Optie | Beschrijving |
|---|---|
|
|
Standaard De steun wordt aan de dakligger gelast. AutoDefaults kan deze optie wijzigen. |
|
|
De steun wordt aan de dakligger gebout. |
|
|
De steun wordt aan de dakligger gelast. |
Tabblad Kipsteun
Op het tabblad Kipsteun kunt u de eigenschappen van kipsteunen, kipsteunplaten en kipsteunbouten definiëren.
Onderdelen
| Optie | Beschrijving |
|---|---|
|
Kipsteunprofiel |
Selecteer het profiel in de profielendatabase. |
|
Kipsteunplaat |
Dikte, breedte en hoogte van de verstevigingsplaat. |
|
Hoek |
Dikte van de hoek. |
|
Optie |
Beschrijving |
Standaard |
|---|---|---|
|
Pos.nr. |
Prefix en startnummer voor het positienummer van het onderdeel. Sommige componenten hebben een tweede rij met velden waarin u het positienummer van het merk kunt invoeren. |
Het standaard startnummer van het onderdeel wordt gedefinieerd in de categorie Componenten in het menu . |
|
Materiaal |
Materiaalkwaliteit. |
Het standaardmateriaal wordt gedefinieerd in het vak Materiaal van onderdelen in de categorie Componenten in het menu . |
|
Naam |
De naam die in tekeningen en lijsten wordt weergegeven. |
|
|
Afwerking |
Beschrijft hoe het oppervlak van het onderdeel is behandeld. |
Bouteigenschappen
| Optie | Beschrijving |
|---|---|
|
Boutnorm gordingkipsteun Boutnorm dakliggerkipsteun |
Selecteer de boutnorm voor de bouten waarmee de kipsteunen of dakliggersteunen worden bevestigd aan de gordingen. |
|
Bouttolerantie voor gordingkipsteun Bouttolerantie voor dakliggerkipsteun |
Definieer de ruimte tussen de bouten en de gaten voor de bouten waarmee de kipsteunen of dakliggerkipsteunen zijn bevestigd aan de gordingen. |
|
Schoorrotatie |
Definieer de hoekrotatie van de schoor of kipsteun. |
Locatie van kipsteunen
| Optie | Beschrijving |
|---|---|
|
|
Standaard Kipsteunen worden niet gemaakt. AutoDefaults kan deze optie wijzigen. |
|
|
Kipsteunen worden niet gemaakt. |
|
|
Kipsteunen worden gemaakt aan beide zijden. Kipsteunplaten worden gemaakt. |
|
|
De kipsteun wordt gemaakt aan de rechterzijde. Een kipsteunplaat wordt gemaakt. |
|
|
De kipsteun wordt gemaakt aan de linkerzijde. Een kipsteunplaat wordt gemaakt. |
|
|
De kipsteun wordt gemaakt aan de rechterzijde. Kipsteunplaten worden gemaakt aan beide zijden. |
|
|
De kipsteun wordt gemaakt aan de linkerzijde. Kipsteunplaten worden gemaakt aan beide zijden. |
|
|
Er worden gaten gemaakt. Kipsteunen en kipsteunplaten worden niet gemaakt. |
Kipsteun bouten of lassen
| Optie | Beschrijving |
|---|---|
|
|
Standaard De kipsteun wordt bevestigd aan de onderzijde van het gordinglijf. AutoDefaults kan deze optie wijzigen. |
|
|
De kipsteun wordt bevestigd op de bovenzijde van het gordinglijf. |
|
|
De kipsteun wordt bevestigd op het midden van het gordinglijf. |
|
|
De kipsteun wordt bevestigd aan de onderzijde van het gordinglijf. |
Gat/bout maken in kipsteun
| Optie | Beschrijving |
|---|---|
|
|
Standaard Eén gat of bout in de dakligger. AutoDefaults kan deze optie wijzigen. |
|
|
Eén gat of bout in de dakligger. |
|
|
Als het gat of de bout in de kipsteun wordt geplaatst binnen een bepaalde afstand, gedefinieerd in d, van een ander al bestaand gat of bestaande bout in de dakligger, worden deze samengevoegd. De afstand d wordt gedefinieerd in het overlap.dat bestand. |
Kipsteunplaat bevestigen aan coup
| Optie | Beschrijving |
|---|---|
|
|
Standaard Kipsteunplaten worden bevestigd aan coupplaten. AutoDefaults kan deze optie wijzigen. |
|
|
Kipsteunplaten worden bevestigd aan dakliggers. U moet de verbinding toepassen boven een coup. |
|
|
Kipsteunplaten worden bevestigd aan coupplaten. |
Schoorbouten

| Beschrijving | |
|---|---|
|
1 |
Randafstand bouten. De randafstand is de afstand van het hart van een bout tot de rand van het onderdeel. |
|
2 |
Randafstand bouten. De randafstand is de afstand van het hart van een bout tot de rand van het onderdeel. |
|
3 |
Aantal bouten. |
|
4 |
Boutafstand. Gebruik een spatie als scheidingsteken tussen de waarden voor de boutafstand. Voer een waarde in voor elke afstand tussen de bouten. Voer bijvoorbeeld twee waarden in als er drie bouten in zitten. |
|
5 |
Afstand van de boutrand vanaf de rand van de schoor. |
|
6 |
Afstand van de schoorbout tot de hartlijn van de dakligger. |
|
7 |
Randafstand van kipsteunplaat vanaf de rand van de dakligger. |
|
8 |
Boutdiameter. |
Afwerkingsmaatlijnen

| Beschrijving | |
|---|---|
|
1 |
Verticale afmeting van de afwerking |
|
2 |
Horizontale afmeting van de afwerking |
Afwerkingsvorm
| Optie | Beschrijving |
|---|---|
|
|
Standaard Lijnvormige afwerking AutoDefaults kan deze optie wijzigen. |
|
|
Geen afwerking |
|
|
Lijnvormige afwerking |
|
|
Bolle afwerking |
|
|
Holle afwerking |
Tabblad Bouten
Op het tabblad Bouten kunt u de afmetingen van de boutgroepen en de eigenschappen definiëren van de bouten waarmee de steunen op de gordingen zijn bevestigd.
Maatlijnen van de boutgroep

| Beschrijving | |
|---|---|
|
1 |
Maatlijn voor de verticale positie van de boutgroep. |
|
2 |
Randafstand bouten. De randafstand is de afstand van het hart van een bout tot de rand van het onderdeel. |
|
3 |
Aantal bouten. |
|
4 |
Boutafstand. Gebruik een spatie als scheidingsteken tussen de waarden voor de boutafstand. Voer een waarde in voor elke afstand tussen de bouten. Voer bijvoorbeeld twee waarden in als er drie bouten in zitten. |

| Beschrijving | |
|---|---|
|
1 |
Maatlijn voor de horizontale positie van de boutgroep. |
|
2 |
Randafstand bouten. De randafstand is de afstand van het hart van een bout tot de rand van het onderdeel. |
|
3 |
Boutafstand. |
Basiseigenschappen van bouten
|
Optie |
Beschrijving |
Standaard |
|---|---|---|
|
Boutdiameter |
Boutdiameter. |
Beschikbare diameters worden in de boutsamenstellingendatabase gedefinieerd. |
|
Boutnorm |
De boutnorm die in de component moet worden gebruikt. |
Beschikbare normen worden in de boutsamenstellingendatabase gedefinieerd. |
|
Tolerantie |
De ruimte tussen de bout en het gat. |
|
|
Draad in mat |
Hiermee definieert u of de draad van de bout zich in de geboute onderdelen kan bevinden. Deze optie heeft geen effect wanneer er bouten met volledige draad worden gebruikt. |
Ja |
|
Montage/werkplaats |
Locatie waar de bouten moeten worden bevestigd. |
Montage |
Sleufgaten
U kunt sleufgaten, oversized gaten of tapgaten definiëren.
|
Optie |
Beschrijving |
Standaard |
|---|---|---|
|
1 |
Verticale maat van sleufgat. |
0 heeft een rond gat als resultaat. |
|
2 |
Horizontale maat van sleufgat of speling van oversized gaten. |
0 heeft een rond gat als resultaat. |
|
Gattype |
Met Sleufgat maakt u sleufgaten. Oversized maakt oversized gaten. Geen gat maakt geen gaten. Tapgat maakt tapgaten. |
|
|
Roteer sleufgaten |
Als het type gat Sleufgat is, worden de sleufgaten met deze optie gedraaid. |
|
|
Sleufgat in |
Onderde(el)(len) waarin sleufgaten worden gemaakt. De opties zijn afhankelijk van de betreffende component. |
Boutsamenstelling
Met de selectievakjes wordt gedefinieerd welke componentobjecten (bout, ringen en moeren) in de samenstelling van de bout worden gebruikt.
Als u alleen een gat wilt maken, moet u alle selectievakjes uitschakelen.
Als u de boutsamenstelling van een bestaande component wilt aanpassen, schakelt u het selectievakje Effect bij wijzigen in en klikt u op Wijzigen.
Extra boutlengte
Definieer hoeveel de bout langer moet worden. Gebruik deze optie bijvoorbeeld wanneer diverse verflagen een langere boutlengte vereisen.
Boutoriëntatie
| Optie | Beschrijving |
|---|---|
|
|
Standaard Bouten worden vierkant op het hoofdonderdeel geplaatst. AutoDefaults kan deze optie wijzigen. |
|
|
Bouten worden vierkant op het hoofdonderdeel geplaatst. |
|
|
Bouten worden haaks op het aansluitende onderdeel geplaatst. |
Boutgaten
| Optie | Beschrijving |
|---|---|
|
|
Standaard Er worden geen boutgaten gemaakt. AutoDefaults kan deze optie wijzigen. |
|
|
Er worden geen boutgaten gemaakt. |
|
|
Boutgaten worden in de gevelkolommen van de dakliggerflenzen gemaakt. |
Bouten overlappen
| Optie | Beschrijving |
|---|---|
|
|
Standaard Overlappende flensbouten worden gemaakt. AutoDefaults kan deze optie wijzigen. |
|
|
Overlappende flensbouten worden gemaakt. |
|
|
Overlappende lijfbouten worden gemaakt. |
Overlap maken
| Optie | Beschrijving |
|---|---|
|
|
Standaard De overlap wordt gemaakt. AutoDefaults kan deze optie wijzigen. |
|
|
Automatisch De overlap wordt gemaakt. |
|
|
De overlap wordt gemaakt. |
|
|
Er wordt geen overlap gemaakt. |
Tabblad Algemeen
Klik voor meer informatie op de onderstaande koppeling:
Tabblad Berekening
Klik voor meer informatie op de onderstaande koppeling:
Lassen
Klik voor meer informatie op de onderstaande koppeling:
















































