Eindplaat (101)

Tekla Structures
Aangepast: 10 dec 2024
2025
Tekla Structures

Eindplaat (101)

Eindplaat (101) verbindt een ligger met een andere ligger of met een kolom met behulp van een eindplaat. De eindplaat wordt aan de aansluitende ligger gelast en met bouten aan het hoofdonderdeel (ligger of kolom) bevestigd.

Gemaakte objecten

  • Eindplaat

  • Bouten

  • Lassen

  • Uitsnijdingen

Gebruiken voor

Situatie

Beschrijving

Ligger-tegen-ligger-verbinding met een geboute eindplaat.

Ligger-tegen-kolom-verbinding met een geboute eindplaat.

Volgorde van selectie

  1. Selecteer het hoofdonderdeel (ligger of kolom).

  2. Selecteer het aansluitende onderdeel (ligger).

    De verbinding wordt automatisch gemaakt als de aansluitende ligger wordt geselecteerd.

Onderdeelidentificatiecode

Onderdeel

1

Eindplaat

Tabblad Afbeelding

Gebruik het tabblad Afbeelding om de positie van de eindplaat te definiëren.

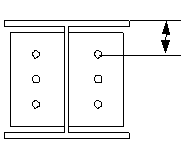
Positie van de eindplaat

Beschrijving

Standaard

1

Opening tussen het hoofdonderdeel en de eindplaat.

2 mm

2

Afstand van de rand van de eindplaat tot de flens van het aansluitend onderdeel.

Tabblad Eindplaat

Gebruik het tabblad Eindplaat om de eigenschappen van de eindplaat te definiëren.

Plaat

Onderdeel

Beschrijving

Eindplaat

Definieer de dikte en hoogte van de eindplaat.

Optie

Beschrijving

Standaard

Pos.nr.

Prefix en startnummer voor het positienummer van het onderdeel.

Sommige componenten hebben een tweede rij met velden waarin u het positienummer van het merk kunt invoeren.

Het standaard startnummer van het onderdeel wordt gedefinieerd in de categorie Componenten in het menu Bestand > Instellingen > Opties.

Materiaal

Materiaalkwaliteit.

Het standaardmateriaal wordt gedefinieerd in het vak Materiaal van onderdelen in de categorie Componenten in het menu Bestand > Instellingen > Opties.

Naam

De naam die in tekeningen en lijsten wordt weergegeven.

Optie Beschrijving

Randtype eindplaat

Definieer hoe de eindplaat wordt uitgesneden. De standaardwaarde is Gerold/Gezaagd.

Aanpassen aan schuin aansluitend onderdeel

Selecteer of de eindplaat met het aansluitende onderdeel schuin moet worden uitgelijnd.

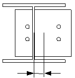
Tabblad Raveling

Gebruik het tabblad Raveling om ravelingen voor de aansluitende ligger te maken en de eigenschappen van de raveling te definiëren.

Definitie BCSA-raveling

Definieer of de raveling volgens de specificaties van de British Constructional Steelwork Association (BCSA) is gemaakt.

Optie

Beschrijving

Standaard

Afmetingen van de raveling.

Ja

Hiermee maakt u een raveling van 50 mm voor eenvoudige ligger-tegen-ligger-verbindingen.

Nee

Gebruik de opties op dit tabblad Raveling om de afmetingen van de raveling te definiëren.

Afmetingen van de raveling.

Definieer de afmetingen van de raveling aan de boven- en de onderzijde als u de optie Standaard 50 mm verticaal op Nee hebt ingesteld.

Beschrijving

1

Verticale afmeting van de raveling.

2

Horizontale afmeting van de raveling.

Vorm van de raveling

Definieer de vorm van de raveling voor de boven- en onderzijde van de aansluitende ligger.

Optie

Optie

Beschrijving

Standaard

Hiermee maakt u een rechte raveling aan de bovenzijde of de onderzijde van de aansluitende ligger.

AutoDefaults kan deze optie wijzigen.

Geen raveling

Hiermee maakt u een rechte raveling aan de bovenzijde of de onderzijde van de aansluitende ligger.

Definieer de afmetingen van de raveling. In ligger-tegen-ligger-verbindingen met een schuine aansluitende ligger, wordt de diepte gemeten zoals weergegeven in de afbeelding.

Hiermee maakt u een raveling aan beide zijden van het aansluitende onderdeel.

Definieer de afmetingen van de raveling.

Hiermee maakt u een afgewerkte raveling aan beide zijden van de aansluitende ligger.

Definieer de afmetingen van de afschuining.

Hiermee wordt een strook gemaakt.

Definieer de lengte van de strook. De flenzen worden volledig uitgesneden.

Hiermee maakt u een speciaal type rechte raveling.

Definieer de afmetingen van de raveling. De raveling staat recht op de aansluitende ligger. Er zijn geen standaardwaarden voor de lengte of diepte.

Raveelzijde

Definieer aan welke zijde van de aansluitende ligger de raveling wordt gemaakt. U kunt de zijde voor zowel de boven- als onderzijde van de aansluitende ligger definiëren.

Optie

Beschrijving

Standaard

Hiermee maakt u een raveling aan beide zijden.

AutoDefaults kan deze optie wijzigen.

Hiermee maakt u een raveling aan beide zijden.

Hiermee maakt u een raveling aan de linkerzijde.

Hiermee maakt u een raveling aan de rechterzijde.

Tabblad Bouten

Gebruik het tabblad Bouten om de bouteigenschappen te definiëren.

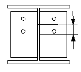
Maatlijnen van de boutgroep

Beschrijving

1

Selecteer hoe de afmetingen voor de horizontale positie van de boutgroep moeten worden gemeten.

  • Links: vanaf de linkerrand van het aansluitende onderdeel tot de bout uiterst links.

  • Midden: vanaf de hartlijn van het aansluitende onderdeel tot aan de hartlijn van de bouten.

  • Rechts: vanaf de rechterrand van het aansluitende onderdeel tot de bout uiterst rechts.

2

Maatlijn voor de horizontale positie van de boutgroep.

3

Randafstand bouten.

De randafstand is de afstand van het hart van een bout tot de rand van het onderdeel.

4

Aantal bouten.

5

Boutafstand.

Gebruik een spatie als scheidingsteken tussen de waarden voor de boutafstand. Voer een waarde in voor elke afstand tussen de bouten. Voer bijvoorbeeld twee waarden in als er drie bouten in zitten.

6

Selecteer hoe de afmeting voor de verticale positie van de boutgroep moeten worden gemeten.

  • Boven: vanaf de bovenrand van het aansluitende onderdeel tot de bovenste bout.

  • Midden: vanaf de hartlijn van de bouten tot de hartlijn van het aansluitende onderdeel.

  • Onder: vanaf de onderrand van het aansluitende onderdeel tot de onderste bout.

7

Maatlijn voor de verticale positie van de boutgroep.

Zigzagsgewijze plaatsing van bouten

Optie

Beschrijving

Standaard

Niet zigzagsgewijs

AutoDefaults kan deze optie wijzigen.

Niet zigzagsgewijs

Zigzagtype 1

Zigzagtype 2

Zigzagtype 3

Zigzagtype 4

Basiseigenschappen van bouten

Optie

Beschrijving

Standaard

Boutdiameter

Boutdiameter.

Beschikbare diameters worden in de boutsamenstellingendatabase gedefinieerd.

Boutnorm

De boutnorm die in de component moet worden gebruikt.

Beschikbare normen worden in de boutsamenstellingendatabase gedefinieerd.

Tolerantie

De ruimte tussen de bout en het gat.

Draad in mat

Hiermee definieert u of de draad van de bout zich in de geboute onderdelen kan bevinden.

Deze optie heeft geen effect wanneer er bouten met volledige draad worden gebruikt.

Ja

Montage/werkplaats

Locatie waar de bouten moeten worden bevestigd.

Montage

Opmerking

U kunt een opmerking definiëren.

Sleufgaten

U kunt sleufgaten, oversized gaten of tapgaten definiëren.

Optie

Beschrijving

Standaard

1

Verticale maat van sleufgat.

0 heeft een rond gat als resultaat.

2

Horizontale maat van sleufgat of speling van oversized gaten.

0 heeft een rond gat als resultaat.

Gattype

Met Sleufgat maakt u sleufgaten.

Oversized maakt oversized gaten.

Geen gat maakt geen gaten.

Tapgat maakt tapgaten.

Roteer sleufgaten

Als het type gat Sleufgat is, worden de sleufgaten met deze optie gedraaid.

Sleufgat in

Onderde(el)(len) waarin sleufgaten worden gemaakt. De opties zijn afhankelijk van de betreffende component.

Boutsamenstelling

Met de selectievakjes wordt gedefinieerd welke componentobjecten (bout, ringen en moeren) in de samenstelling van de bout worden gebruikt.

Als u alleen een gat wilt maken, moet u alle selectievakjes uitschakelen.

Als u de boutsamenstelling van een bestaande component wilt aanpassen, schakelt u het selectievakje Effect bij wijzigen in en klikt u op Wijzigen.

Extra boutlengte

Definieer hoeveel de bout langer moet worden. Gebruik deze optie bijvoorbeeld wanneer diverse verflagen een langere boutlengte vereisen.

Tabblad Algemeen

Klik voor meer informatie op de onderstaande koppeling:

Tabblad Algemeen

Tabblad Berekening

Klik voor meer informatie op de onderstaande koppeling:

Tabblad Berekening

Tabblad Berekening

Klik voor meer informatie op de onderstaande koppeling:

Tabblad Berekening

Lassen

Klik voor meer informatie op de onderstaande koppeling:

Lassen maken

Was dit nuttig?
Vorige
Volgende