Uitslagen maken van platen en profielen

Tekla Structures zetwerk buiglijn uitslag k-waarde
Not version-specific
Tekla Structures
Environment
Netherlands

Van onderdelen die in Tekla Structures als polyprofiel zijn gemodelleerd, kan een uitslag worden gemaakt. Dit kunnen dus zowel profielen als platen zijn. Voor wat betreft de tekeningen is in de onderdeeltekening eigenschappen de instelling uitslag beschikbaar waarmee uitslagen van polyprofielen gemaakt kunnen worden. Druk in het dialoogvenster Onderdeeltekening eigenschappen op de knop Aanzicht en ga naar het tabblad Profiel om het onderdeel in de tekening uit te slaan:
 

Image
openvouwen.png


 

Gezette plaat in het model Uitslag in de tekening
 
Image
2016_12_23_13_58_082.png
 
Image
2016_12_23_13_58_123.png

Het bestand Unfold_corner_ratios.inp

Om uitslagen te kunnen maken geldt het volgende:

De variabele XS_USE_OLD_POLYBEAM_LENGTH_CALCULATION en XS_CALCULATE_POLYBEAM_LENGTH_ALONG_REFERENCE_LINE moeten zijn ingesteld op FALSE in de Geavanceerde opties... in de categorie Maatvoering uitslagen
 
XS_DRAW_BENDING_LINE_DIMENSIONS_IN_UNFOLDING Deze variabele moet zijn ingesteld op TRUE om vouwlijnen van uitgeslagen onderdelen te bematen.
XS_DRAW_ANGLE_AND_RADIUS_INFO_IN_UNFOLDING Deze variabele moet zijn ingesteld op TRUE om hoeken en radii van uitgeslagen onderdelen te bematen.
XS_ANGLE_TEXT_IN_UNFOLDING_BENDING_LINE_DIMENSIONING Deze variabele is ingesteld op HOEK= als prefix tekst voor de hoek.
XS_RADIUS_TEXT_IN_UNFOLDING_BENDING_LINE_DIMENSIONING Deze variabele is ingesteld op R= als prefix voor de radius.
XS_DRAW_INSIDE_ANGLE_IN_UNFOLDING Deze variabele is ingesteld op TRUE voor hoekmaatvoering aan de binnenkant in plaats van de buitenkant, bijvoorbeeld 45° in plaats van 135°.
XS_UNFOLDING_ANGLE_DIM_FORMAT Deze variabele is ingesteld op 2 als formaat (decimalen) voor de hoektekst. Dit zijn dezelfde waarden als op het tabblad Algemeen van het dialoogvenster Maatlijneigenschappen. Gehele getallen kunnen worden gebruikt.
XS_UNFOLDING_ANGLE_DIM_PRECISION Deze variabele is ingesteld op 100 en bepaald de nauwkeurigheid van de hoektekst. Dit zijn dezelfde waarden als op de tab Algemeen van het dialoogvenster Maatlijneigenschappen. Gehele getallen kunnen worden gebruikt, bijvoorbeeld 1,2,3,4,8,16,32,10,100,1000.


Het configuratiebestand unfold_corner_ratios.inp, dit bestand bevat instellingen waarmee uitslagen beïnvloed kunnen worden. Het bestand is opgeslagen in de map ..:\TeklaStructures\<versie>\Environments\Netherlands\General\ModelSettings maar mag ook in de model map of in de ts map worden opgeslagen. De parameters in dit bestand definiëren de ligging van de neutrale lijn (waar de rek en de spanning 0 zijn) wanneer een profiel wordt uitgeslagen. De parameters zijn vereist wanneer NC bestanden gegenereerd worden en wanneer de profielen uitgeslagen weergegeven worden in onderdeeltekeningen.

De inhoud van het bestand unfold_corner_ratios.inp:

 

Image
2016_12_23_14_15_004.png



 
Image
unfold.png
Image
01.png
Type 1: profiel
Type 2: plaat
Image
06.png
1: scherpe knik
2: knik met een radius
Image
02.png
Plaat
Image
07.png
Minimale hoek scherpe knik,
minimale radius knik met radius
Image
03.png
Materiaalkwaliteit
Image
08.png
Maximale hoek scherpe knik,
maximale radius knik met radius
Image
04.png
Minimale plaatdikte
Image
09.png
Berekening langs binnenzijde, hartlijn,
buitenzijde (.0, .5 of 1.0)
Image
05.png
Maximale plaatdikte    
 
Voorbeeld 1: Een gezette plaat met een dikte van 2 mm:  
Image
2016_12_23_14_29_451.png
De laatste waarde in het bestand unfold_corner_ratios.inp is:
 
0 Uitgeslagen lengte: 48 + 256 + 28 = 332
0.5 Uitgeslagen lengte: 49 + 258 + 29 = 336
1.0 Uitgeslagen lengte: 50 + 260 + 30 = 340

Van platen met een dikte tot en met 3 mm wordt de uitslag berekend over de lijn .0. De overige platen worden berekend over het midden, de lijn .5.

 

Image
2016_12_23_14_33_134.png
Voorbeeld 2: Gezette plaat (Z-vormig):  
Image
2016_12_23_14_30_092.png
De laatste waarde in het bestand unfold_corner_ratios.inp is:
 
0 Uitgeslagen lengte: 28 + 116 + 40 = 184
0.5 Uitgeslagen lengte: 29 + 118 + 41 = 188
1.0 Uitgeslagen lengte: 30 + 120 + 42 = 192

 

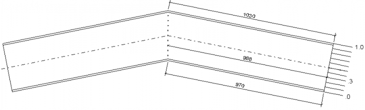
Voorbeeld 3: Getoogde balk IPE 300:  
Image
2016_12_23_14_30_173.png
De laatste waarde in het bestand unfold_corner_ratios.inp is:
 
0 Uitgeslagen lengte: 2 x 970 = 1940
0.5 Uitgeslagen lengte: 2 x 988 = 1976
1.0 Uitgeslagen lengte: 2 x 1030 = 2060

 



Vervang in het bestand unfold_corner_ratio.inp de tweede optie nooit door alleen een * !! Wanneer u het bestand unfold_corner_ratio.inp wijzigt, moet Tekla Structures opnieuw gestart worden en moet u de tekeningen controleren. Dit laatste is natuurlijk afhankelijk van de wijziging die u doorvoert. Houdt er rekening mee dat wijzigingen (bijvoorbeeld de lengte in de templates) direct worden doorgevoerd bij het openen van een bestaande tekening. Wanneer een profiel niet gedefinieerd is wordt voor de lengte berekening het midden genomen. (= 0.5).
 
 
Image
2016_12_23_14_40_195.png
In de Ligger eigenschappen kan op het tabblad Positie de Positie in het vlak ingesteld worden (Links, Midden, Rechts). Hiermee wordt de ligging van de neutrale lijn echter niet verschoven.
Positie in het vlak: Links
Neutrale lijn op 0.5
 
Image
2016_12_23_14_41_506.png
Positie in het vlak: Rechts
Neutrale lijn op 0.5
 
Image
2016_12_23_14_41_506.png

 

Een boutgroep in een polyprofiel

Wanneer een boutgroep door 2 segmenten van een polyprofiel gaat moet de boutgroep opgesplitst worden. Dus 1 boutgroep voor het ene segment en 1 boutgroep voor het andere segment.
 
1 boutgroep 2 boutgroepen
  
Image
2016_12_27_07_36_304.png
 
Image
2016_12_27_07_34_523.png
Fout op tekening Goed op tekening
 
Image
2016_12_27_07_42_565.png
 
Image
2016_12_27_07_43_216.png

Dit betekent dat wanneer de gaten in het profiel gemaakt worden en het onderdeel daarna geknikt wordt, de gaten mee verplaatsen en uiteindelijk op de juiste positie komen!

NC bestanden van polyprofielen

Hieronder een voorbeeld van een NC bestand van een plaat met de instelling .0:
 
Image
2016_12_27_07_44_557.png
 
Image
2016_12_27_07_44_598.png

Deze tekening is gegenereerd met de lengte berekening langs de binnenzijde, dus de waarde .0 in het bestand unfold_corner_ratio.inp. Ook de NC bestanden worden gemaakt op basis van de instellingen in het bestand unfold_corner_ratio.inp. Wijzig de waarde van .0 naar .5 dan zal het NC bestand worden aangepast.
Was dit nuttig?