엔드 플레이트 (101)
End plate (101)는 엔드 플레이트를 이용해 보를 다른 보나 기둥에 접합합니다. 엔드 플레이트는 보조 보에 용접되고 메인 부재(보 또는 기둥)에 볼트 체결됩니다.
생성된 객체
-
엔드 플레이트
-
볼트
-
용접부
-
컷부
용도
|
상황 |
설명 |
|---|---|
|
|
볼트 체결용 엔드 플레이트를 이용해 보와 보 간 접합 |
|
|
볼트 체결용 엔드 플레이트를 이용해 보와 기둥 간 접합 |
선택 순서
-
메인 부재(보 또는 기둥)를 선택합니다.
-
보조 부재(보)를 선택합니다.
보조 보를 선택하면 접합부가 자동 생성됩니다.
부재 식별 키
|
부재 |
|
|---|---|
|
1 |
엔드 플레이트 |
그림 탭
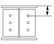
그림 탭을 사용하여 엔드 플레이트 위치를 제어합니다.
엔드 플레이트 위치
|
설명 |
기본값 |
|
|---|---|---|
|
1 |
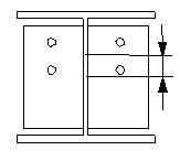
메인 부재와 엔드 플레이트 간 간격 |
2mm |
|
2 |
보조 부재 플랜지까지 엔드 플레이트 가장자리 거리 |
엔드 플레이트 탭
End plate 탭을 사용하여 엔드 플레이트의 속성을 제어합니다.
Plate
|
부재 |
설명 |
|---|---|
|
엔드 플레이트 |
엔드 플레이트의 두께 및 높이를 정의합니다. |
|
옵션 |
설명 |
기본값 |
|---|---|---|
|
번호 |
부재 번호의 접두사와 시작 번호. 일부 컴포넌트는 어셈블리 위치 번호를 입력할 수 있도록 두 번째 필드 열이 있습니다. |
기본값 부재 시작 번호는 의 컴포넌트 설정에서 정의합니다. |
|
재질 |
재질 등급. |
기본 재질은 의 컴포넌트 설정 내 부재 재질 상자에서 정의합니다. |
|
이름 |
도면 및 레포트에 표시되는 이름. |
| 옵션 | 설명 |
|---|---|
|
엔드 플레이트 가장자리 유형 |
엔드 플레이트의 절단 방식을 정의합니다. 기본값은 압연/제재입니다. |
|
보조 부재 기울기에 적응 |
엔드 플레이트를 보조 부재 기울기에 정렬할지 여부를 선택합니다. |
Notch 탭
노치 탭을 사용하여 보조 보의 노치를 생성하고 해당 노치 속성을 제어합니다.
BCSA 노치 정의
영국 철구조물산업협회(BCSA) 규격에 따라 노치 생성 여부를 정의합니다.
|
옵션 |
설명 |
|---|---|
|
기본값 |
노치 치수. |
|
예 |
간단한 빔 간 접합부에 대해 50mm 노치를 생성합니다. |
|
아니오 |
노치 탭의 옵션을 사용하여 노치 치수를 정의합니다. |
노치 치수
BCSA 노치 정의 옵션을 아니오로 설정한 경우에는 노치의 상단 및 하단 치수를 정의합니다.
|
설명 |
|
|---|---|
|
1 |
수직 노치 치수. |
|
2 |
수평 노치 치수. |
노치 형상
보조 빔 상단 및 하단의 노치 형상을 정의합니다.
|
옵션 |
옵션 |
설명 |
|---|---|---|
|
|
|
기본값 보조 빔 상단 쪽 또는 하단 쪽에 정사각형 노치를 생성합니다. 이 옵션은 AutoDefaults에서 변경할 수 있습니다. |
|
|
|
노치 없음 |
|
|
|
보조 빔 상단 쪽 또는 하단 쪽에 정사각형 노치를 생성합니다. 노치 치수를 정의합니다. 보조 빔이 기울어진 빔 간 접합부에서는 아래 그림과 같이 깊이를 측정합니다.
|
|
|
|
보조 부재 양쪽 측면에 노치를 생성합니다. 노치 치수를 정의합니다. |
|
|
|
보조 빔 양쪽 측면에 모따기된 노치를 생성합니다. 모따기 치수를 정의합니다. |
|
|
|
스트립을 생성합니다. 스트립 길이를 정의합니다. 플랜지가 완전히 절단됩니다. |
|
|
|
특수 유형의 정사각형 노치를 생성합니다. 노치 치수를 정의합니다. 노치는 보조 빔과 직각을 이룹니다. 길이 또는 깊이는 기본값이 없습니다. |
노칭 측면
보조 빔의 어떤 측면에 노치를 생성할지 정의합니다. 노치를 생성할 측면을 보조 빔의 상단과 하단 모두로 정의할 수 있습니다.
|
옵션 |
설명 |
|---|---|
|
|
기본값 양쪽 측면에 노치를 생성합니다. 이 옵션은 AutoDefaults에서 변경할 수 있습니다. |
|
|
양쪽 측면에 노치를 생성합니다. |
|
|
왼쪽에 노치를 생성합니다. |
|
|
오른쪽에 노치를 생성합니다. |
볼트 탭
볼트 탭을 사용하여 볼트 속성을 제어합니다.
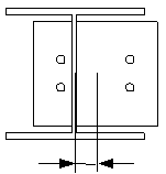
볼트 그룹 치수
|
설명 |
|
|---|---|
|
1 |
수평 볼트 그룹 위치에 대한 치수 측정 방법을 선택합니다.
|
|
2 |
수평 볼트 그룹 위치에 대한 치수. |
|
3 |
볼트 가장자리 거리 가장자리 거리는 볼트 중심에서 부재 가장자리까지 거리입니다. |
|
4 |
볼트 개수 |
|
5 |
볼트 간격. 스페이스를 사용하여 볼트 간격 값을 구분합니다. 볼트 사이의 각 간격 값을 입력합니다. 예를 들어 볼트가 3개라면 값을 2개 입력합니다. |
|
6 |
수직 볼트 그룹 위치에 대한 치수 측정 방법을 선택합니다.
|
|
7 |
수직 볼트 그룹 위치에 대한 치수. |
볼트의 지그재그
|
옵션 |
설명 |
|---|---|
|
|
기본값 지그재그 아님 이 옵션은 오토디폴트에서 변경할 수 있습니다. |
|
|
지그재그 아님 |
|
|
지그재그 유형 1 |
|
|
지그재그 유형 2 |
|
|
지그재그 유형 3 |
|
|
지그재그 유형 4 |
볼트 기본 속성
|
옵션 |
설명 |
기본값 |
|---|---|---|
|
볼트 크기 |
볼트 직경. |
사용 가능한 크기는 볼트 어셈블리 카탈로그에서 정의합니다. |
|
볼트 표준 |
컴포넌트 내부에서 사용할 볼트 표준 |
사용 가능한 표준은 볼트 어셈블리 카탈로그에서 정의합니다. |
|
허용오차 |
볼트와 홀 사이의 간격 |
|
|
재료의 스레드 |
샤프트와 함께 볼트를 사용할 때 볼트 이음 부재 내부의 스레드 여부를 정의합니다. 완전 스레드 볼트를 사용할 때는 이 옵션이 아무런 효과가 없습니다. |
예 |
|
현장/공장 |
볼트 체결 장소. |
현장 |
설명
주석을 정의할 수 있습니다.
슬롯 홀
슬롯, 특대 또는 태핑 홀을 정의할 수 있습니다.
|
옵션 |
설명 |
기본값 |
|---|---|---|
|
1 |
슬롯 홀의 수직 치수 |
0, 원형 홀 |
|
2 |
슬롯 홀의 수평 치수 또는 특대 홀의 허용 치수 |
0, 원형 홀 |
|
홀 유형 |
슬롯은 슬롯 홀을 생성합니다. 특대는 특대 홀을 생성합니다. 홀 없음은 홀을 생성하지 않습니다. 태핑은 태핑 홀을 생성합니다. |
|
|
슬롯 회전 |
홀 유형이 슬롯이면 이 옵션은 슬롯 홀을 회전시킵니다. |
|
|
슬롯 위치 |
슬롯 홀이 생성되는 부재. 이 옵션은 해당 컴포넌트에 따라 달라집니다. |
볼트 어셈블리
선택되어 있는 확인란에 따라 볼트 어셈블리에서 사용할 컴포넌트 객체(볼트, 와셔 및 너트)가 정의됩니다.
홀만 생성하려면 확인란 선택을 모두 지웁니다.
기존 컴포넌트에서 볼트 어셈블리를 수정하려면 수정 시의 효과 확인란을 선택하고 수정을 클릭합니다.
볼트 길이 늘리기
볼트 길이를 얼만큼 늘릴지 정의합니다. 예를 들어 도장을 하려면 볼트 길이를 늘려야 할 때 이 옵션을 사용합니다.
일반 탭
자세한 정보를 살펴보려면 아래 링크를 클릭하십시오.
설계 탭
자세한 정보를 살펴보려면 아래 링크를 클릭하십시오.
해석 탭
자세한 정보를 살펴보려면 아래 링크를 클릭하십시오.
용접부
자세한 정보를 살펴보려면 아래 링크를 클릭하십시오.