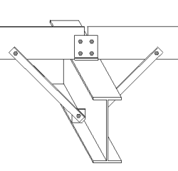
冷間圧延重なり (1)
[冷間圧延重なり (1)] は、垂木または支柱に 1 つまたは 2 つの母屋またはレールを接続します。このコンポーネントの一部のプロパティは、 overlap.dat ファイルから直接読み込まれます。ダイアログボックスで許可されている範囲を超えてコンポーネントをカスタマイズする必要がある場合は、最寄りの Tekla Structures サポートにお問い合わせください。
作成されるオブジェクト
-
アングルクリート
-
スチフナー
-
固定部材
-
ボルト
-
溶接
適用
このジョイントは、次の用途に使用できます。
-
オーバーラップ接続
-
突合せ接続
-
二重スパンの母屋または手摺の接続
-
切妻端部
特別に設計されたジョイントを持つヒップ垂木への接続には使用しないでください。
| 状況 | 説明 |
|---|---|
|
|
2 つの副部材を垂木にアングルで接合するジョイント。プレート ジョイント。 |
|
|
2 つの副部材を垂木にアングルで接合するジョイント。アングル ジョイント。 |
|
|
2 つの副部材を垂木にアングルで接合するジョイント。ニー ブレース ジョイント。 |
実行前の準備
同じ深さに平行な中心線を持つ2つの母屋を作成します。
-
最初に上部、次に下部というように交互に回転させて母屋を作成します。
-
母屋を垂木の中心線に配置します。Tekla Structures により自動的に延長され、必要なオーバーラップが形成されます。
-
必要に応じて、切妻の張り出しを定義します。
垂木フランジには製造元の標準オフセットを使用します。
この設定を行うと母屋が干渉するため、干渉チェックの実行時に選択フィルターを使用して母屋を除外できます。たとえば、フィルターのプロパティ名として「 PURLIN 」と入力します。
選択順序
-
メイン部材 (垂木または支柱) を選択します。
-
副部材 (1 つまたは 2 つの垂木) を選択します。
-
マウスの中ボタンをクリックしてコンポーネントを作成します。
部材の識別キー


| 説明 | |
|---|---|
|
1 |
アングル クリート プロファイル |
|
2 |
支柱プロファイル |
|
3 |
ステイプレート |
[画像] タブ
クリートの位置と寸法を定義するには、[ピクチャー] タブを使用します。
クリート寸法

| 説明 | |
|---|---|
|
1 |
クリート高さは、クリートプロファイルの中心線が垂木の中心線よりも高い位置にある場合に使用されます。 |
|
2 |
クリートの中心線から母屋縁までの距離。この距離は切妻端部にのみ適用されます。 デフォルト値は、0 mm です。 |
|
3 |
クリートプロファイルの中心線が垂木と平行に走る場合のクリート幅。 |

| 説明 | |
|---|---|
|
1 |
クリートの中心から垂木の中心までの距離。 |
|
2 |
母屋が2つある場合の、クリートの中心から母屋の端部までの距離。 |
[クリート] タブ
クリートとスチフナー、および垂木ボルトとクリート垂木ボルトのプロパティと位置を定義するには、[クリート] タブを使用します。
部材
| オプション | 説明 |
|---|---|
|
クリートプロファイル |
プロファイル カタログからプロファイルを選択します。 |
|
スチフナー |
スチフナーの厚さを定義します。 |
|
オプション |
説明 |
デフォルト |
|---|---|---|
|
マーク |
部材マークの頭文字および開始番号。 一部のコンポーネントには別のフィールド行があり、そこに製品マークを入力できます。 |
デフォルトの部材開始番号を定義するには、 の [コンポーネント] 設定で設定します。 |
|
材質 |
材質の等級。 |
デフォルトの材質を定義するには、 で [コンポーネント] 設定を開き、[材質] フィールドで設定します。 |
|
名前 |
図面およびレポートに表示される名前。 |
垂木ボルトのプロパティ
| オプション | 説明 |
|---|---|
|
垂木ボルト規格 |
クリートを垂木に接続するすべてのボルトのボルト名。 垂木ボルトセット名と垂木ボルト呼びに加える値を定義するには、垂木にクリートをボルトで固定することを選択します。
|
|
垂木ボルト公差 |
クリートを垂木に接続するすべてのボルトのボルトと垂木の間のギャップ。 |
|
製品タイプ |
ボルトの取り付け作業を行う場所です。 |
ボルト セット
選択したチェック ボックスによって、ボルト セットに使用されるコンポーネント オブジェクト (ボルト、ワッシャー、およびナット) が定義されます。
孔のみを作成する場合は、チェック ボックスをすべてオフにします。
既存のコンポーネントのボルト セットを変更するには、[変更の結果] チェック ボックスをオンにし、[変更] をクリックします。
クリート垂木ボルトグループの寸法
垂木ボルト グループの寸法を定義するには、まずクリートを垂木にボルトで固定することを選択します。


| 説明 | |
|---|---|
|
1 |
水平方向のボルト間隔。 |
|
2 |
クリートを垂木に接続するボルトの直径。 |
|
3 |
垂木の中心線からのクリート オフセット。 |
|
4 |
ボルト本数。 |
|
5 |
ボルト間隔。 ボルト間隔の値はスペースを使用して区切ります。ボルト個々の間隔を示す値を入力します。たとえば、3 つのボルトがある場合は、2 つの間隔値を入力します。 |
|
6 |
ボルト縁端距離。 縁端距離とは、ボルトの中心から部材の端部までの距離です。 |
クリート方向
| オプション | 説明 |
|---|---|
|
|
デフォルト クリートの中心線は垂木と平行になります。 オートデフォルトにより、このオプションを変更できます。 |
|
|
クリートプロファイルの中心線は垂木と平行になります。 |
|
|
クリートプロファイルの中心線は垂木に対して垂直になります。 |
|
|
クリートの中心線は垂木と平行になります。ラインスチフナーが作成されます。 スチフナーのカット寸法を定義します。 |
|
|
クリートプロファイルの中心線は垂木に対して垂直になります。正方形のスチフナーが作成されます。 |
スチフナー カット寸法
線状スチフナーまたは角型スチフナーの寸法を定義します。

| 説明 | |
|---|---|
|
1 |
垂直方向の角処理寸法 |
|
2 |
水平方向の角処理寸法 |
|
3 |
水平カット寸法 |
|
4 |
垂直カット寸法 |

| 説明 | |
|---|---|
|
1 |
水平寸法 |
|
2 |
垂直寸法 |
クリート位置
| オプション | 説明 |
|---|---|
|
|
デフォルト クリートは母屋の前面に取り付けられています。 Tekla Structures により、使用する母屋プロファイルに従ってクリートが配置されます。 オートデフォルトにより、このオプションを変更できます。 |
|
|
クリートは母屋の前面に取り付けられています。 |
|
|
クリートは、母屋の背面に取り付けられます。 |
クリート接合方法
| オプション | 説明 |
|---|---|
|
|
デフォルト クリートは垂木に溶接されます。 オートデフォルトにより、このオプションを変更できます。 |
|
|
クリートは垂木にボルトで固定されます。 |
|
|
クリートは垂木に溶接されます。 |
[固定部材] タブ
固定部材、支柱プレート、固定ボルトのプロパティを作成および定義するには、[固定部材] タブを使用します。
部材
| オプション | 説明 |
|---|---|
|
支柱プロファイル |
プロファイル カタログからプロファイルを選択します。 |
|
支柱プレート |
支柱プレートの厚さ、幅、および高さ。 |
|
固定アングル |
固定アングルの厚さ。 |
|
オプション |
説明 |
デフォルト |
|---|---|---|
|
マーク |
部材マークの頭文字および開始番号。 一部のコンポーネントには別のフィールド行があり、そこに製品マークを入力できます。 |
デフォルトの部材開始番号を定義するには、 の [コンポーネント] 設定で設定します。 |
|
材質 |
材質の等級。 |
デフォルトの材質を定義するには、 で [コンポーネント] 設定を開き、[材質] フィールドで設定します。 |
|
名前 |
図面およびレポートに表示される名前。 |
|
|
仕上げ |
部材の表面がどのように処理されているかを示します。 |
ボルト プロパティ
| オプション | 説明 |
|---|---|
|
棟木-固定ボルトセット名 垂木-固定ボルトセット名 |
固定部材または垂木固定部材を母屋に接続するボルトのボルト名を選択します。 |
|
棟木-固定ボルト呼びに加える値 垂木-固定ボルト呼びに加える値 |
固定部材または垂木固定部材を垂木に接続するボルトとボルト穴の間のギャップを定義します。 |
|
回転を維持する |
固定部材角度の回転を定義します。 |
固定部材の位置
| オプション | 説明 |
|---|---|
|
|
デフォルト 固定部材は作成されません。 オートデフォルトにより、このオプションを変更できます。 |
|
|
固定部材は作成されません。 |
|
|
両側に支柱が作成されます。支柱プレートが作成されます。 |
|
|
右側に固定部材が作成されます。支柱プレートが作成されます。 |
|
|
左側に固定部材が作成されます。支柱プレートが作成されます。 |
|
|
右側に固定部材が作成されます。 支柱プレートが両側に作成されます。 |
|
|
左側に固定部材が作成されます。 支柱プレートが両側に作成されます。 |
|
|
孔が作成されます。固定部材および支柱プレートは作成されません。 |
固定部材接合方法
| オプション | 説明 |
|---|---|
|
|
デフォルト 固定部材は、母屋ウェブの下部に取り付けられます。 オートデフォルトにより、このオプションを変更できます。 |
|
|
固定部材は、母屋ウェブの上部に取り付けられます。 |
|
|
固定部材は、母屋ウェブの中央に取り付けられます。 |
|
|
固定部材は、母屋ウェブの下部に取り付けられます。 |
ステイでの穴/ボルトの作成
| オプション | 説明 |
|---|---|
|
|
デフォルト 垂木の1つの穴またはボルト。 オートデフォルトにより、このオプションを変更できます。 |
|
|
垂木の1つの穴またはボルト。 |
|
|
固定部材の穴またはボルトが、垂木に既に存在する別の穴またはボルトから d で定義された特定の距離内に配置される場合、これらは結合されます。 距離 d は overlap.dat ファイルで定義されます。 |
ハンチへのステープレートの取り付け
| オプション | 説明 |
|---|---|
|
|
デフォルト ステープレートはハンチに取り付けられています。 オートデフォルトにより、このオプションを変更できます。 |
|
|
ステープレートは垂木に取り付けられています。ジョイントは、ハンチより上に適用する必要があります。 |
|
|
ステープレートはハンチに取り付けられています。 |
固定ボルト

| 説明 | |
|---|---|
|
1 |
ボルト縁端距離。 縁端距離とは、ボルトの中心から部材の端部までの距離です。 |
|
2 |
ボルト縁端距離。 縁端距離とは、ボルトの中心から部材の端部までの距離です。 |
|
3 |
ボルト本数。 |
|
4 |
ボルト間隔。 ボルト間隔の値はスペースを使用して区切ります。ボルト個々の間隔を示す値を入力します。たとえば、3 つのボルトがある場合は、2 つの間隔値を入力します。 |
|
5 |
固定部材の縁端からのボルト縁端距離。 |
|
6 |
垂木の中心線までの固定部材ボルトの距離。 |
|
7 |
垂木の縁端から固定プレートの縁端までの距離。 |
|
8 |
ボルト径。 |
角処理寸法

| 説明 | |
|---|---|
|
1 |
垂直方向の角処理寸法 |
|
2 |
水平方向の角処理寸法 |
角処理の形状
| オプション | 説明 |
|---|---|
|
|
デフォルト ライン カット角処理 オートデフォルトにより、このオプションを変更できます。 |
|
|
角処理なし |
|
|
ライン カット角処理 |
|
|
凸状の角処理 |
|
|
凹面の角処理 |
[ボルト] タブ
クリートを母屋に接続するボルト グループの寸法とボルトのプロパティを定義するには、[ボルト] タブを使用します。
ボルトグループの寸法

| 説明 | |
|---|---|
|
1 |
垂直方向のボルト グループの位置の寸法。 |
|
2 |
ボルト縁端距離。 縁端距離とは、ボルトの中心から部材の端部までの距離です。 |
|
3 |
ボルト本数。 |
|
4 |
ボルト間隔。 ボルト間隔の値はスペースを使用して区切ります。ボルト個々の間隔を示す値を入力します。たとえば、3 つのボルトがある場合は、2 つの間隔値を入力します。 |

| 説明 | |
|---|---|
|
1 |
水平方向のボルト グループの位置の寸法。 |
|
2 |
ボルト縁端距離。 縁端距離とは、ボルトの中心から部材の端部までの距離です。 |
|
3 |
ボルト間隔。 |
ボルトの基本プロパティ
|
オプション |
説明 |
デフォルト |
|---|---|---|
|
ボルト サイズ |
ボルト径。 |
使用可能なサイズは、ボルト セット カタログに定義されています。 |
|
ボルト セット名 |
コンポーネント内で使用するボルト セット名です。 |
使用可能なボルト セットは、ボルト セット カタログに定義されています。 |
|
呼びに加える値 |
ボルトと孔の間のギャップです。 |
|
|
部材内ネジ |
軸ボルトを使用する場合に、ボルト留め部材の内側にねじ山を収めるかどうかを指定します。 頭なしボルトを使用する場合は無視されます。 |
はい |
|
現場/工場 |
ボルトの取り付け作業を行う場所です。 |
現場 |
長孔
長孔、調整孔、小さな孔を定義できます。
|
オプション |
説明 |
デフォルト |
|---|---|---|
|
1 |
長孔の垂直寸法です。 |
0。丸孔になります。 |
|
2 |
長孔の水平寸法、または調整孔のクリアランスです。 |
0。丸孔になります。 |
|
孔タイプ |
[長孔] では、長孔が作成されます。 [調整孔] では、調整孔が作成されます。 [孔なし] では孔は作成されません。 [テーパー] を選択すると、小さな孔が作成されます。 |
|
|
長孔の回転 |
孔のタイプが [長孔] の場合、このオプションによって長孔の向きが指定されます。 |
|
|
長孔部材 |
長孔が作成される部材。このオプションは、該当するコンポーネントによって異なります。 |
ボルト セット
選択したチェック ボックスによって、ボルト セットに使用されるコンポーネント オブジェクト (ボルト、ワッシャー、およびナット) が定義されます。
孔のみを作成する場合は、チェック ボックスをすべてオフにします。
既存のコンポーネントのボルト セットを変更するには、[変更の結果] チェック ボックスをオンにし、[変更] をクリックします。
ボルト長を増やす
ボルト長をどれだけ増やすかを指定します。たとえば、塗装でボルト長を増やす必要がある場合に、このオプションを使用します。
ボルト方向
| オプション | 説明 |
|---|---|
|
|
デフォルト ボルトはメイン部材対して直角に配置されます。 オートデフォルトにより、このオプションを変更できます。 |
|
|
ボルトはメイン部材対して直角に配置されます。 |
|
|
ボルトは副部材対して直角に配置されます。 |
ボルト孔
| オプション | 説明 |
|---|---|
|
|
デフォルト ボルト孔は作成されません。 オートデフォルトにより、このオプションを変更できます。 |
|
|
ボルト孔は作成されません。 |
|
|
垂木フランジの間柱にボルト孔が作成されます。 |
ボルトの重なり
| オプション | 説明 |
|---|---|
|
|
デフォルト オーバーラップフランジボルトが作成されます。 オートデフォルトにより、このオプションを変更できます。 |
|
|
オーバーラップフランジボルトが作成されます。 |
|
|
オーバーラップウェブボルトが作成されます。 |
オーバーラップの作成
| オプション | 説明 |
|---|---|
|
|
デフォルト オーバーラップが作成されます。 オートデフォルトにより、このオプションを変更できます。 |
|
|
自動 オーバーラップが作成されます。 |
|
|
オーバーラップが作成されます。 |
|
|
オーバーラップは作成されません。 |
[一般] タブ
詳細を確認するには、以下のリンクをクリックしてください。
[解析] タブ
詳細を確認するには、以下のリンクをクリックしてください。
溶接
詳細を確認するには、以下のリンクをクリックしてください。
















































