両面エンド プレート (24)
[2 面サイドエンドプレート (24)] では、ボルト留め式のエンド プレートを使用して 2 本の梁を柱または別の梁に接続します。3 つの部材すべてを貫通するボルト グループは 1 つだけです。このジョイントは、[エンドプレート (29)] ジョイントと同様に作成され、使用されます。
作成されるオブジェクト
-
エンド プレート
-
シート (プレートまたはアングル)
-
シム プレート
-
スチフナー
-
溶接
-
ボルト
-
カット
適用
|
状況 |
説明 |
|---|---|
|
|
梁と柱のエンド プレート ジョイント |
|
|
梁と梁のエンド プレート ジョイント |
|
|
シム プレートとシート配置角度を使用したエンド プレート ジョイント。 |
制限事項
梁を柱フランジに接続するときは、このジョイントを使用しないでください。
選択順序
-
メイン部材 (柱または梁) を選択します。
-
最初の副部材 (梁) を選択します。
-
2 番目の副部材 (梁) を選択します。
-
マウスの中ボタンをクリックしてジョイントを作成します。
部材の識別キー
|
部材 |
|
|---|---|
|
1 |
最初の副梁のエンド プレート |
|
2 |
最初の副梁のシム プレート |
|
3 |
最初の副梁のシート (プレートまたは配置角度) |
|
4 |
2 番目の副梁のシム プレート |
|
5 |
2 番目の副梁のエンド プレート |
|
6 |
2 番目の副梁のシート (プレートまたは配置角度) |
[ピクチャー] タブ
[ピクチャー] タブを使用して、エンド プレートの位置を制御します。
エンド プレートの配置
|
説明 |
|
|---|---|
|
1 |
メイン部材とエンド プレートの間またはメイン部材と 2 番目のシム プレートの間のギャップ。 |
|
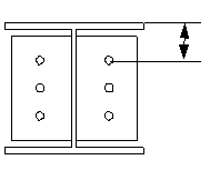
2 3 |
2 番目の上部または下部からエンド プレート縁端までの距離。 |
|
4 |
メイン部材とエンド プレートの間またはメイン部材と最初の副梁のシム プレートの間のギャップ。 |
|
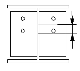
5 6 |
最初の副梁の上部または下部からエンド プレート縁端までの距離。 |
[部材] タブ
[部材] タブを使用して、作成された部材のプロパティを定義します。
プレート
| オプション |
説明 |
デフォルト |
|---|---|---|
|
エンド プレート |
エンド プレートの厚さ、幅、および高さ。 幅と高さはボルト グループの縁端距離で定義されます。高さは、副梁の上端および下端からプレート縁端までの距離として入力することもできます。 |
ボルト径の半分 |
|
切欠き |
エンド プレートの下にシートを作成するかどうかを指定します。 シートが作成されるのは、シートの厚さを入力した場合に限られます。 コンソール プレートを追加すると、エンド プレートが副梁の下部からデフォルトで 20 mm 下に移動されます。 |
幅 = エンド プレートの幅 高さ = 副部材の高さ |
|
Lコンソール |
エンド プレートの下にシート配置角度を作成するかどうかを指定します。配置角度の長さはシート幅で定義されます。 シート配置角度のプロファイルを入力した場合は、プレートの厚さを入力していてもシートはプレートではなく配置角度になります。 シート配置角度を追加しても、コンソール プレートと同様にエンド プレートが移動されるわけではありません。配置角度と副梁の間の干渉を防ぐには、エンド プレートを変更するか、エンド プレートとシート配置角度の間のギャップを入力します。 |
幅 = エンド プレートの幅 |
|
フィッティング プレート |
シム プレートの厚さです。 プレートの厚さを入力した場合にのみプレートが作成されます。 |
幅と高さ = ボルト グループとシム プレートの縁端距離で定義 |
|
フィッティング プレート数 |
作成するフィラー プレートの数を指定します。 |
|
オプション |
説明 |
デフォルト |
|---|---|---|
|
マーク |
部材マークの頭文字および開始番号。 一部のコンポーネントには別のフィールド行があり、そこに製品マークを入力できます。 |
デフォルトの部材開始番号を定義するには、 の [コンポーネント] 設定で設定します。 |
|
材質 |
材質の等級。 |
デフォルトの材質を定義するには、 で [コンポーネント] 設定を開き、[材質] フィールドで設定します。 |
|
名前 |
図面およびレポートに表示される名前。 |
[パラメータ] タブ
[パラメータ] タブを使用して、シム プレートとエンド プレートの位置を制御します。
エンド プレートの寸法
|
説明 |
デフォルト |
|
|---|---|---|
|
1 4 |
シム プレートの垂直方向のボルト縁端距離。 ボルトの本数と間隔は、シム プレートのサイズに影響します。 |
1.5 * ボルト径 |
|
2 3 |
エンド プレートとシート (プレートまたは配置角度) の間のギャップ。 |
0 mm |
|
5 6 |
シム プレートの水平方向のボルト縁端距離。 |
シム プレートおよびエンド プレートの位置
2 番目の副梁のシム プレートおよびエンド プレートの位置を定義します。これらのプレートは、最初の副梁のプレートと相対して移動されます。デフォルトでは、孔の位置が左右対称になるように、2 番目の副梁のプレートが配置されます。たとえば、傾斜または湾曲した副梁を接続する場合などに、プレートの移動が必要になることがあります。
|
説明 |
|
|---|---|
|
1 |
プレートの垂直方向の移動距離を定義します。 |
|
2 |
プレートの水平方向の移動距離を定義します。 |
ギャップ サイズ
エンド プレートと副梁またはメイン梁の間のギャップの上限値を指定します。梁がわずかに湾曲または傾斜しているときに、この値を使用して、梁端部を直線にできるほど端部角度が小さいかどうかを判断します。
実際の隙間がこの値よりも小さい場合、梁端部は直線のままになります。
実際の隙間がこの値よりも大きい場合、梁端部はエンド プレートに合わせて調整されます。
[ノッチ] タブ
[ノッチ] タブを使用して、水平カットと垂直カットを変更します。
カット寸法
|
説明 |
デフォルト |
|
|---|---|---|
|
1 |
水平方向のフランジカットの寸法。 |
10 mm |
|
2 |
垂直方向のフランジ カットの寸法。 |
ノッチ縁端と梁フランジの間のギャップは、メイン部材ウェブのスカラップ丸めに等しくなります。ノッチの高さは、5 mm 刻みで切り上げられます。 |
[ボルト] タブ
[ボルト] タブを使用して、使用されるボルトのプロパティを制御します。
ボルト グループの寸法
|
説明 |
|
|---|---|
|
1 |
水平方向のボルト グループ位置の寸法を測定する方法を選択します。
|
|
2 |
水平方向のボルト グループの位置の寸法。 |
|
3 |
ボルト縁端距離。 縁端距離とは、ボルトの中心から部材の端部までの距離です。 |
|
4 |
ボルト本数。 |
|
5 |
ボルト間隔。 ボルト間隔の値はスペースを使用して区切ります。ボルト個々の間隔を示す値を入力します。たとえば、3 つのボルトがある場合は、2 つの間隔値を入力します。 |
|
6 |
垂直方向のボルト グループの位置の寸法。 |
|
7 |
垂直方向のボルト グループ位置の寸法を測定する方法を選択します。
|
千鳥ボルト
|
オプション |
説明 |
|---|---|
|
|
デフォルト 千鳥なし オートデフォルトにより、このオプションを変更できます。 |
|
|
千鳥なし |
|
|
千鳥タイプ 1 |
|
|
千鳥タイプ 2 |
|
|
千鳥タイプ 3 |
|
|
千鳥タイプ 4 |
ボルトの基本プロパティ
|
オプション |
説明 |
デフォルト |
|---|---|---|
|
ボルト サイズ |
ボルト径。 |
使用可能なサイズは、ボルト セット カタログに定義されています。 |
|
ボルト セット名 |
コンポーネント内で使用するボルト セット名です。 |
使用可能なボルト セットは、ボルト セット カタログに定義されています。 |
|
呼びに加える値 |
ボルトと孔の間のギャップです。 |
|
|
部材内ネジ |
軸ボルトを使用する場合に、ボルト留め部材の内側にねじ山を収めるかどうかを指定します。 頭なしボルトを使用する場合は無視されます。 |
はい |
|
現場/工場 |
ボルトの取り付け作業を行う場所です。 |
現場 |
長孔
長孔、調整孔、小さな孔を定義できます。
|
オプション |
説明 |
デフォルト |
|---|---|---|
|
1 |
長孔の垂直寸法です。 |
0。丸孔になります。 |
|
2 |
長孔の水平寸法、または調整孔のクリアランスです。 |
0。丸孔になります。 |
|
孔タイプ |
[長孔] では、長孔が作成されます。 [調整孔] では、調整孔が作成されます。 [孔なし] では孔は作成されません。 [テーパー] を選択すると、小さな孔が作成されます。 |
|
|
長孔の回転 |
孔のタイプが [長孔] の場合、このオプションによって長孔の向きが指定されます。 |
|
|
長孔部材 |
長孔が作成される部材。このオプションは、該当するコンポーネントによって異なります。 |
ボルト セット
選択したチェック ボックスによって、ボルト セットに使用されるコンポーネント オブジェクト (ボルト、ワッシャー、およびナット) が定義されます。
孔のみを作成する場合は、チェック ボックスをすべてオフにします。
既存のコンポーネントのボルト セットを変更するには、[変更の結果] チェック ボックスをオンにし、[変更] をクリックします。
ボルト長を増やす
ボルト長をどれだけ増やすかを指定します。たとえば、塗装でボルト長を増やす必要がある場合に、このオプションを使用します。
[一般] タブ
詳細を確認するには、以下のリンクをクリックしてください。
[設計] タブ
詳細を確認するには、以下のリンクをクリックしてください。
[解析] タブ
詳細を確認するには、以下のリンクをクリックしてください。
溶接
詳細を確認するには、以下のリンクをクリックしてください。