側桁チャンネル材固定 (127)

Tekla Structures
変更済み: 28 10月 2025
2025
Tekla Structures

側桁チャンネル材固定 (127)

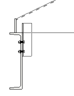
[ささら桁チャンネル材固定 (127)]では、アングル プロファイルを使用して、ささら桁をチャンネルに接続します。アングル プロファイルは桁に溶接され、チャンネルにボルト付けされます。垂直プレートは、桁の端部に溶接されます。

作成されるオブジェクト

  • アングル プレート

  • 垂直プレート (オプション)

  • ボルト

  • 溶接

  • 桁の端部を形成するカット

適用

状況

説明

アングル プロファイルはチャンネルにボルト付けされ、桁に溶接されます。桁は、チャンネルの上部レベルに対して水平にカットされます。

水平カットが側桁にありません。

垂直プレートは、桁の端部に作成されます。

制限事項

[チャンネルに側桁 (127)] は、接続プロファイルが角度の場合にのみ機能します。

実際の作業を始める前に

桁とチャンネルを作成します。

選択順序

  1. メイン部材 (チャンネル) を選択します。

  2. 副部材 (側桁) を選択します。

    副部材を選択すると、ジョイントが自動的に作成されます。

部材の識別キー

部材

1

アングル プロファイル

2

垂直プレート

[ピクチャー] タブ

アングルプロファイルと垂直プレートの位置、および桁がカットされるかどうかを定義するには、[ピクチャー] タブを使用します。

側桁切断

オプション

説明

オプション 1

デフォルト

オプション 2

桁は、チャンネルの上部レベルに対して水平にカットされます。

オプション 3

水平カットが側桁にありません。

説明

デフォルト

1

垂直プレートの位置。

桁の上端から垂直プレートの上部までの垂直距離を定義します。

0

2

アングル プロファイルの位置。

チャンネルの上部からアングル プロファイルの上部までの垂直距離を定義します。

オプション 1 または 2:

  • メートル: 65 mm

  • フィート・インチ: 2 1/2 インチ

オプション 3:

  • 0

3

側桁切断の位置。

チャネル上端から、桁が水平にカットされ垂直プレートの下面が配置される平面までの垂直距離を定義します。

  • メートル: 12 mm

  • フィート・インチ: 1/2 インチ

4

側桁切断の位置。

チャンネルウェブから桁までの水平距離を定義します。

  • メートル: 12 mm

  • フィート・インチ: 1/2 インチ

[部材] タブ

垂直プレートとアングル プロファイルのプロパティを制御するには、[部材] タブを使用します。

垂直プレートとアングル プロファイル

オプション

説明

デフォルト

垂直プレート

垂直プレート厚。

値を 0 に設定した場合、垂直プレートは作成されません。

メートル: 10 mm

フィート・インチ: 3/8 インチ

デフォルトの名前は、PROFILE です。

角度

プロファイル カタログからアングルのプロファイルを選択して定義します。

L プロファイルを選択しない場合、継手・仕口は作成されません。

メートル: L75*6

フィート・インチ: L3X3X1/4

デフォルトの名前は、ANGLE です。

オプション

説明

デフォルト

マーク

部材マークの頭文字および開始番号。

一部のコンポーネントには別のフィールド行があり、そこに製品マークを入力できます。

デフォルトの部材開始番号を定義するには、[ファイル] メニュー > [設定] > [オプション][コンポーネント] 設定で設定します。

材質

材質の等級。

デフォルトの材質を定義するには、[ファイル] メニュー > [設定] > [オプション][コンポーネント] 設定を開き、[材質] フィールドで設定します。

名前

図面およびレポートに表示される名前。

[パラメーター] タブ

脚位置とアングル プロファイルの位置を制御するには、[パラメーター] タブを使用します。

アングル プロファイルの脚部の方向

アングル プロファイルの脚の長さが不均等になっている場合は、位置を切り替えることができます。

オプション

説明

デフォルト

アングル プロファイルの長脚はチャンネルに接続されます。

オートデフォルトにより、このオプションを変更できます。

アングル プロファイルの長脚はチャンネルに接続されます。

アングル プロファイルの長脚は側桁に接続されます。

アングル プロファイル位置

オプション

説明

デフォルト

アングル プロファイルは、チャンネルの外面にあります。

オートデフォルトにより、このオプションを変更できます。

アングル プロファイルは、チャンネルの外面にあります。

アングル プロファイルは、チャンネルの内面にあります。

[ボルト] タブ

アングル プロファイルをチャンネルに接続するボルトを制御するには、[ボルト] タブを使用します。

ボルト グループの寸法

説明

デフォルト

1

チャンネルの上面から一番上のボルトの中心までの垂直距離。

メートル: 75 mm

フィート・インチ: 3 インチ

2

ボルト本数。

2

3

ボルト間隔。

ボルト間隔の値はスペースを使用して区切ります。ボルト個々の間隔を示す値を入力します。たとえば、3 つのボルトがある場合は、2 つの間隔値を入力します。

メートル: 75 mm

フィート・インチ: 3 インチ

4

アングル プロファイルの下面から下部のボルトの中心までの垂直距離。

メートル: 40 mm

フィート・インチ: 1 1/2 インチ

5

側桁のエッジからボルトの中心線までの水平距離。

メートル: 40 mm

フィート・インチ: 1 1/2 インチ

ボルトの基本プロパティ

オプション

説明

デフォルト

ボルト サイズ

ボルト径。

使用可能なサイズは、ボルト セット カタログに定義されています。

ボルト セット名

コンポーネント内で使用するボルト セット名です。

使用可能なボルト セットは、ボルト セット カタログに定義されています。

呼びに加える値

ボルトと孔の間のギャップです。

部材内ネジ

軸ボルトを使用する場合に、ボルト留め部材の内側にねじ山を収めるかどうかを指定します。

頭なしボルトを使用する場合は無視されます。

はい

現場/工場

ボルトの取り付け作業を行う場所です。

現場

長孔

長孔、調整孔、小さな孔を定義できます。

オプション

説明

デフォルト

1

長孔の垂直寸法です。

0。丸孔になります。

2

長孔の水平寸法、または調整孔のクリアランスです。

0。丸孔になります。

孔タイプ

[長孔] では、長孔が作成されます。

[調整孔] では、調整孔が作成されます。

[孔なし] では孔は作成されません。

[テーパー] を選択すると、小さな孔が作成されます。

長孔の回転

孔のタイプが [長孔] の場合、このオプションによって長孔の向きが指定されます。

長孔部材

長孔が作成される部材。このオプションは、該当するコンポーネントによって異なります。

ボルト セット

選択したチェック ボックスによって、ボルト セットに使用されるコンポーネント オブジェクト (ボルト、ワッシャー、およびナット) が定義されます。

孔のみを作成する場合は、チェック ボックスをすべてオフにします。

既存のコンポーネントのボルト セットを変更するには、[変更の結果] チェック ボックスをオンにし、[変更] をクリックします。

ボルト長を増やす

ボルト長をどれだけ増やすかを指定します。たとえば、塗装でボルト長を増やす必要がある場合に、このオプションを使用します。

[一般] タブ

詳細を確認するには、以下のリンクをクリックしてください。

[一般] タブ

[解析] タブ

詳細を確認するには、以下のリンクをクリックしてください。

[解析] タブ

溶接

詳細を確認するには、以下のリンクをクリックしてください。

溶接の作成

役に立ちましたか?
前へ
次へ