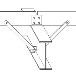
Sovrapposizione laminati a freddo (1)
Sovrapposizione laminati a freddo (1) collega uno o due arcarecci o parapetti a un travetto o a un montante. Alcune proprietà di questo componente vengono caricate direttamente dal overlap.dat file. Contattare il supporto locale Tekla Structures se è necessario personalizzare il componente più di quanto consentito dalla finestra di dialogo.
Oggetti creati
-
Tassello angolare
-
Irrigidimento
-
Puntelli
-
Bulloni
-
Saldature
Utilizzare per
È possibile utilizzare la connessione per:
-
Connessioni a sovrapposizione
-
Connessioni saldatura
-
Collegamento di arcarecci o guide a doppia campata
-
Estremità testata
Non utilizzare per le connessioni travetto su fianco che hanno una connessione appositamente progettata.
| Situazione | Descrizione |
|---|---|
|
|
Connessione capriata di appoggio completo da trave a trave a due parti secondarie. Connessione a piatto. |
|
|
Connessione capriata di appoggio completo da trave a trave a due parti secondarie. Connessione angoli. |
|
|
Connessione capriata di appoggio completo da trave a trave a due parti secondarie. Connessione controvento a gomito. |
Prima di iniziare
Creare due arcarecci alla stessa profondità e con linee centrali parallele.
-
Creare gli arcarecci utilizzando rotazioni alternate, prima superiore, poi inferiore e così via.
-
Posizionare gli arcarecci sulla linea centrale della trave. Tekla Structures li estenderà automaticamente per formare la sovrapposizione richiesta.
-
Definire la sporgenza del timpano, se necessario.
Utilizzare l'offset standard del produttore per la flangia del travetto.
Queste impostazioni causano conflitti tra arcarecci, pertanto quando si esegue il controllo delle interferenze è possibile escluderli utilizzando un filtro di selezione. Ad esempio, immettere PURLIN come nome della proprietà nel filtro.
Ordine di selezione
-
Selezionare la parte principale (trave o montante).
-
Selezionare le parti secondarie (uno o due arcarecci).
-
Cliccare con il pulsante centrale del mouse per creare il componente.
Identificazione delle parti


| Descrizione | |
|---|---|
|
1 |
Profilo squadretta angolare |
|
2 |
Profilo Puntello |
|
3 |
Calastrello |
Scheda Immagine
Utilizzare la scheda Immagine per definire la posizione e le quote del morsetto.
Quote morsetto

| Descrizione | |
|---|---|
|
1 |
L'altezza del morsetto viene utilizzata quando la linea centrale del profilo morsetto è posizionata più in alto della linea centrale del travetto. |
|
2 |
Distanza dall'asse centrale del morsetto al bordo dell'arcareccio. Questa distanza si applica solo alle estremità del timpano. Il valore predefinito è 0 mm. |
|
3 |
Larghezza del morsetto quando la linea centrale del profilo morsetto corre parallela al travetto. |

| Descrizione | |
|---|---|
|
1 |
Distanza dal centro del morsetto al centro del travetto. |
|
2 |
Distanza dal centro del morsetto all'estremità dell'arcareccio quando sono presenti due arcarecci. |
Scheda Morsetto
Utilizzare la scheda Morsetto per definire le proprietà e la posizione di morsetti e irrigidimenti, nonché dei bulloni di travetti e bulloni di travetti dei morsetti.
Parti
| Opzione | Descrizione |
|---|---|
|
Profilo Morsetto |
Seleziona il profilo dal catalogo profili. |
|
Irrigidimento |
Definisce lo spessore dell'irrigidimento. |
|
Opzione |
Descrizione |
Default |
|---|---|---|
|
Pref. N. |
Prefisso e numero partenza del numero posizione della parte. Alcuni componenti includono una seconda riga di campi in cui è possibile inserire la marca di posizione dell'assemblaggio. |
Il numero partenza della parte di default è definito nelle impostazioni Componenti nel . |
|
Materiale |
Tipo di materiale. |
Il materiale di default è definito nella casella Materiale della parte nelle impostazioni Componenti nel . |
|
Nome |
Nome mostrato nei disegni e nei report. |
Proprietà bulloni travetti
| Opzione | Descrizione |
|---|---|
|
Standard Bullone Travetto |
Standard bullone per tutti i bulloni che collegano il morsetto al travetto. Per definire lo standard del bullone del travetto e la tolleranza bullone del travetto, selezionare questa opzione per bullonare il morsetto al travetto.
|
|
Tolleranza bulloni trave |
Distanza tra i bulloni e il travetto per tutti i bulloni che collegano il morsetto al travetto. |
|
Tipo assemblaggio |
Posizione in cui i bulloni devono essere fissati. |
Assemblaggio bullone
Le caselle di controllo selezionate definiscono quali oggetti del componente (bullone, rondelle e dadi) saranno utilizzati nell'assemblaggio bullone.
Per creare solo un foro, deselezionare tutte le caselle di controllo.
Per modificare l'assemblaggio bullone in un componente esistente, selezionare la casella di controllo Effetto in modif. e cliccare su Modifica.
Quote del gruppo bulloni travetti morsetto
Per definire le quote del gruppo bulloni travetto, selezionare prima di tutto l'opzione per imbullonare il morsetto al travetto.


| Descrizione | |
|---|---|
|
1 |
Spaziatura orizzontale dei bulloni. |
|
2 |
Diametro dei bulloni che collegano il morsetto al travetto. |
|
3 |
Offset morsetto dalla linea centrale del travetto. |
|
4 |
Numero di bulloni. |
|
5 |
Passo bulloni. Utilizzare uno spazio per separare i valori di passo dei bulloni. Immettere un valore per ciascun passo tra i bulloni. Ad esempio, se sono presenti 3 bulloni, inserire 2 valori. |
|
6 |
Distanza dal bordo dei bulloni. La distanza dal bordo è la distanza dal centro di un bullone al bordo della parte. |
Orientamento del tassello
| Opzione | Descrizione |
|---|---|
|
|
Default La linea centrale del morsetto è parallela al travetto. AutoDefaults consente di modificare questa opzione. |
|
|
La linea centrale del profilo morsetto è parallela al travetto. |
|
|
La linea centrale del profilo morsetto è verticale rispetto al travetto. |
|
|
La linea centrale del morsetto è parallela al travetto. Viene creato un irrigidimento di linea. Definire le quote di taglio dell'irrigidimento. |
|
|
La linea centrale del profilo morsetto è verticale rispetto al travetto. Viene creato un irrigidimento quadrato. |
Quote di taglio dell'irrigidimento
Definire le quote per gli irrigidimenti lineari o quadrati.

| Descrizione | |
|---|---|
|
1 |
Dimensione verticale smusso |
|
2 |
Dimensione orizzontale smusso |
|
3 |
Quota di taglio orizzontale |
|
4 |
Quota di taglio verticale |

| Descrizione | |
|---|---|
|
1 |
Quota orizzontale |
|
2 |
Quota verticale |
Posizione morsetto
| Opzione | Descrizione |
|---|---|
|
|
Default Il morsetto è collegato alla parte anteriore dell'arcareccio. Tekla Structures posiziona il morsetto in base al profilo dell'arcareccio utilizzato. AutoDefaults consente di modificare questa opzione. |
|
|
Il morsetto è collegato alla parte anteriore dell'arcareccio. |
|
|
Il morsetto è collegato alla parte posteriore dell'arcareccio. |
Attacco morsetto
| Opzione | Descrizione |
|---|---|
|
|
Default Il morsetto è saldato al travetto. AutoDefaults consente di modificare questa opzione. |
|
|
Il morsetto è imbullonato al travetto. |
|
|
Il morsetto è saldato al travetto. |
Scheda Puntelli
Utilizzare la scheda Puntelli per creare e definire le proprietà di puntelli, calastrelli e bulloni puntelli.
Parti
| Opzione | Descrizione |
|---|---|
|
Profilo Puntello |
Seleziona il profilo dal catalogo profili. |
|
Calastrello |
Spessore, larghezza e altezza del calastrello. |
|
Angolo puntone |
Spessore dell'angolo puntone. |
|
Opzione |
Descrizione |
Default |
|---|---|---|
|
Pref. N. |
Prefisso e numero partenza del numero posizione della parte. Alcuni componenti includono una seconda riga di campi in cui è possibile inserire la marca di posizione dell'assemblaggio. |
Il numero partenza della parte di default è definito nelle impostazioni Componenti nel . |
|
Materiale |
Tipo di materiale. |
Il materiale di default è definito nella casella Materiale della parte nelle impostazioni Componenti nel . |
|
Nome |
Nome mostrato nei disegni e nei report. |
|
|
Finitura |
Descrive il trattamento applicato alla superficie della parte. |
Proprietà dei bulloni
| Opzione | Descrizione |
|---|---|
|
Standard bullone arcareccio-puntello Standard bullone morsetto puntello |
Selezionare lo standard bullone per i bulloni che collegano i puntelli e i puntelli dei travetti agli arcarecci. |
|
Tolleranza bullone puntello arcareccio Tolleranza bullone puntello travetto |
Definire la distanza tra i bulloni e i fori per i bulloni che collegano i puntelli o i puntelli travetto agli arcarecci. |
|
Rotazione puntello |
Definire la rotazione dell'angolo del puntello. |
Posizione dei puntelli
| Opzione | Descrizione |
|---|---|
|
|
Default I puntelli non vengono creati. AutoDefaults consente di modificare questa opzione. |
|
|
I puntelli non vengono creati. |
|
|
I puntelli sono creati su entrambi i lati. Vengono creati calastrelli. |
|
|
Il puntello viene creato sulla destra. Viene creati il calastrello. |
|
|
Il puntello viene creato sulla sinistra. Viene creati il calastrello. |
|
|
Il puntello viene creato sulla destra. I calastrelli vengono creati su entrambi i lati. |
|
|
Il puntello viene creato sulla sinistra. I calastrelli vengono creati su entrambi i lati. |
|
|
Vengono creati i fori. I puntelli e i calastrelli non vengono creati. |
Attacco puntello
| Opzione | Descrizione |
|---|---|
|
|
Default Il puntello è collegato alla parte inferiore dell'anima dell'arcareccio. AutoDefaults consente di modificare questa opzione. |
|
|
Il puntello è collegato alla parte superiore dell'anima dell'arcareccio. |
|
|
Il puntello è collegato alla parte centrale dell'anima dell'arcareccio. |
|
|
Il puntello è collegato alla parte inferiore dell'anima dell'arcareccio. |
Creazione di fori/bulloni nel puntello
| Opzione | Descrizione |
|---|---|
|
|
Default Un foro o un bullone nella trave. AutoDefaults consente di modificare questa opzione. |
|
|
Un foro o un bullone nella trave. |
|
|
Quando il foro o il bullone nel puntello viene posizionato entro una certa distanza, definita in d, da un altro foro o bullone nel travetto già esistente, questi verranno uniti insieme. La distanza d è definita nel overlap.dat file. |
Attacco calastrello al rinforzo
| Opzione | Descrizione |
|---|---|
|
|
Default I calastrelli sono collegati ai rinforzi. AutoDefaults consente di modificare questa opzione. |
|
|
I calastrelli sono collegati ali travetti. È necessario applicare la connessione sopra un rinforzo. |
|
|
I calastrelli sono collegati ai rinforzi. |
Bulloni puntello

| Descrizione | |
|---|---|
|
1 |
Distanza dal bordo dei bulloni. La distanza dal bordo è la distanza dal centro di un bullone al bordo della parte. |
|
2 |
Distanza dal bordo dei bulloni. La distanza dal bordo è la distanza dal centro di un bullone al bordo della parte. |
|
3 |
Numero di bulloni. |
|
4 |
Passo bulloni. Utilizzare uno spazio per separare i valori di passo dei bulloni. Immettere un valore per ciascun passo tra i bulloni. Ad esempio, se sono presenti 3 bulloni, inserire 2 valori. |
|
5 |
Distanza bordo del bullone dal bordo del puntello. |
|
6 |
Distanza bullone del puntello dalla linea centrale del travetto. |
|
7 |
Distanza bordo del calastrello dal bordo del travetto. |
|
8 |
Diametro dei bulloni. |
Dimensioni smusso

| Descrizione | |
|---|---|
|
1 |
Dimensione verticale smusso |
|
2 |
Dimensione orizzontale smusso |
Sagoma smusso
| Opzione | Descrizione |
|---|---|
|
|
Default Smusso lineare AutoDefaults consente di modificare questa opzione. |
|
|
Nessuno smusso |
|
|
Smusso lineare |
|
|
Smusso convesso |
|
|
Smusso concavo |
Scheda Bulloni
Utilizzare la scheda Bulloni per definire le quote del gruppo bulloni e le proprietà dei bulloni che collegano i morsetti agli arcarecci.
Quote del gruppo bulloni

| Descrizione | |
|---|---|
|
1 |
Dimensione della posizione verticale del gruppo bulloni. |
|
2 |
Distanza dal bordo dei bulloni. La distanza dal bordo è la distanza dal centro di un bullone al bordo della parte. |
|
3 |
Numero di bulloni. |
|
4 |
Passo bulloni. Utilizzare uno spazio per separare i valori di passo dei bulloni. Immettere un valore per ciascun passo tra i bulloni. Ad esempio, se sono presenti 3 bulloni, inserire 2 valori. |

| Descrizione | |
|---|---|
|
1 |
Dimensione della posizione orizzontale del gruppo bulloni. |
|
2 |
Distanza dal bordo dei bulloni. La distanza dal bordo è la distanza dal centro di un bullone al bordo della parte. |
|
3 |
Passo bulloni. |
Proprietà di base dei bulloni
|
Opzione |
Descrizione |
Default |
|---|---|---|
|
Diametro |
Diametro dei bulloni. |
Le dimensioni disponibili sono definite nel catalogo assemblaggio bulloni. |
|
Standard |
Standard dei bulloni da utilizzare all'interno del componente. |
Gli standard disponibili sono definiti nel catalogo assemblaggio bulloni. |
|
Tolleranza |
Distanza tra il bullone e il foro. |
|
|
Filetto nel mat. |
Definisce se la filettatura può trovarsi all'interno delle parti bullonate quando si utilizzano i bulloni con un'asse. Non ha effetto se si utilizzano bulloni a filettatura completa. |
Sì |
|
Cantiere/Officina |
Posizione in cui i bulloni devono essere fissati. |
Cantiere |
Fori asolati
È possibile definire fori asolati, sovradimensionati o maschiati.
|
Opzione |
Descrizione |
Default |
|---|---|---|
|
1 |
Dimensione verticale del foro asolato. |
0, che restituisce un foro rotondo. |
|
2 |
Dimensione orizzontale del foro asolato o margine per i fori sovradimensionati. |
0, che restituisce un foro rotondo. |
|
Tipo di Foro |
Asolato crea fori asolati. Sovradimensionato crea fori sovradimensionati. Nessun foro non crea fori. Rastremato crea fori rastremati. |
|
|
Asole ruotate |
Quando il tipo di foro è Asolato, questa opzione ruota i fori asolati. |
|
|
Asola in |
Parti in cui vengono creati fori asolati. Le opzioni variano in base al componente in questione. |
Assemblaggio bullone
Le caselle di controllo selezionate definiscono quali oggetti del componente (bullone, rondelle e dadi) saranno utilizzati nell'assemblaggio bullone.
Per creare solo un foro, deselezionare tutte le caselle di controllo.
Per modificare l'assemblaggio bullone in un componente esistente, selezionare la casella di controllo Effetto in modif. e cliccare su Modifica.
Aumento della lunghezza bullone
Definisce il livello di aumento della lunghezza del bullone (nel calcolo della lunghezza della vite). Utilizzare questa opzione quando, ad esempio, è necessario aumentare la lunghezza del bullone per la verniciatura.
Orientamento bulloni
| Opzione | Descrizione |
|---|---|
|
|
Default I bulloni sono posizionati allineati alla parte principale. AutoDefaults consente di modificare questa opzione. |
|
|
I bulloni sono posizionati allineati alla parte principale. |
|
|
I bulloni sono posizionati a squadra nella parte secondaria. |
Fori bulloni
| Opzione | Descrizione |
|---|---|
|
|
Default I fori dei bulloni non vengono creati. AutoDefaults consente di modificare questa opzione. |
|
|
I fori dei bulloni non vengono creati. |
|
|
I fori bulloni vengono creati nell'estremo frontale delle flange del travetto. |
Bulloni di sovrapposizione
| Opzione | Descrizione |
|---|---|
|
|
Default Vengono creati bulloni di flangia sovrapposti. AutoDefaults consente di modificare questa opzione. |
|
|
Vengono creati bulloni di flangia sovrapposti. |
|
|
Vengono creati bulloni dell'anima sovrapposti. |
Creazione di sovrapposizioni
| Opzione | Descrizione |
|---|---|
|
|
Default Viene creata la sovrapposizione. AutoDefaults consente di modificare questa opzione. |
|
|
Automatico Viene creata la sovrapposizione. |
|
|
Viene creata la sovrapposizione. |
|
|
La sovrapposizione non viene creata. |
Scheda Generale
Per ulteriori informazioni, cliccare sul collegamento di seguito:
Scheda Analisi
Per ulteriori informazioni, cliccare sul collegamento di seguito:
Saldature
Per ulteriori informazioni, cliccare sul collegamento di seguito:
















































