JP Completa penetrazione speciale (185)
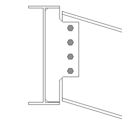
JP Completa penetrazione speciale (185) collega due travi con un piatto di taglio a completa penetrazione. Il piatto di taglio è saldato all'anima della trave principale e alle flange e imbullonato all'anima della trave secondaria. La trave secondaria può essere a livello o inclinata. Il piatto di irrigidimento sul lato opposto dell'anima della trave principale e i piatti di rinforzo saldati alle flange della trave secondaria sono opzionali.
Oggetti creati
-
Piatti di taglio (1 o 2)
-
Irrigidimento (opzionale)
-
Piatti di rinforzo (opzionali)
-
Bulloni
-
Saldature
Utilizzare per
|
Situazione |
Descrizione |
|---|---|
|
|
Piatto di taglio a completa penetrazione. |
|
|
Piatto di taglio a completa penetrazione. La parte secondaria è inclinata. |
|
|
Piatto di taglio a completa penetrazione. La parte secondaria è inclinata e obliqua. |
|
|
Piatto di taglio a completa penetrazione. La parte secondaria viene sottoposta a offset. Alcuni bulloni sono stati eliminati. |
Ordine di selezione
-
Selezionare la parte principale (trave).
-
Selezionare la parte secondaria (trave).
La connessione viene creata automaticamente quando viene selezionata la parte secondaria.
Identificazione delle parti

| Descrizione | |
|---|---|
|
1 |
Piatto di taglio |
|
2 |
Irrigidimento |
Scheda Immagine
Utilizzare la scheda Immagine per controllare la posizione del piatto di taglio, la flangia della trave e i tagli dell'anima.
Dimensioni

|
1 |
Distanza dal bordo del piatto di taglio dal bordo della flangia della parte principale. |
|
2 |
Distanza dal bordo del piatto di taglio dal bordo della flangia della parte principale. |
|
3 |
Taglio della parte secondaria. Il taglio della parte secondaria crea una distanza tra la parte principale e la parte secondaria. |
|
4 |
Dimensione della trave realizzata sulla flangia dalla parte secondaria. L'intaglio della flangia è definito dal bordo del piatto di taglio. |
Taglio estremità della trave
Definisce la modalità di taglio dell'estremità della trave secondaria. Vista laterale della trave.
|
Opzione |
Descrizione |
|---|---|
|
|
Default Inclinazione AutoDefaults consente di modificare questa opzione. |
|
|
Automatico Se la trave secondaria è inclinata meno di 10 gradi, l'estremità della trave è tagliata a squadra. In caso contrario, l'estremità della trave è tagliata in pendenza. |
|
|
Quadrato Taglia a squadra l'estremità della trave secondaria. |
|
|
Inclinazione Taglia l'estremità della trave secondaria parallela al bordo della parte principale. |
|
|
Taglio a squadra vicino all'anima della parte principale Taglia a squadra l'estremità della trave secondaria e la colloca vicino all'anima della parte principale. |
|
|
Flangia tagliata Taglia l'angolo della flangia all'estremità della trave secondaria. |
Taglio anima della trave
Definisce la modalità di taglio dell'estremità dell'anima della trave secondaria. Vista della trave dall'alto.
|
Opzione |
Descrizione |
|---|---|
|
|
Default Inclinazione AutoDefaults consente di modificare questa opzione. |
|
|
Inclinazione Taglia in pendenza l'estremità dell'anima quando l'estremità della trave secondaria è tagliata in pendenza. |
|
|
Quadrato Taglia a squadra l'estremità dell'anima anche se l'estremità della trave secondaria è tagliata in pendenza. |
Taglio flangia della trave
Definisce la modalità di taglio dell'estremità della flangia della trave secondaria. Vista della trave dall'alto.
|
Opzione |
Descrizione |
|---|---|
|
|
Default Inclinazione AutoDefaults consente di modificare questa opzione. |
|
|
Inclinazione Taglia in pendenza l'estremità della flangia. |
|
|
Quadrato Taglia a squadra una parte della flangia e ne lascia una parte in pendenza. |
Taglio flangia inferiore della trave
| Opzione | Descrizione |
|---|---|
|
|
Default Taglio flangia AutoDefaults consente di modificare questa opzione. |
|
|
Intaglio Il lato inferiore della trave secondaria è smussato se il piatto di taglio attraversa la flangia. Immettere l'altezza e il raggio dell'intaglio. |
|
|
Taglio flangia La flangia della trave secondaria viene tagliata sullo stesso lato del piatto di taglio se questa attraversa la flangia. |
|
|
Taglio del piatto di taglio Immettere la dimensione al taglio flangia della parte secondaria. |
Forma piatto di taglio
| Opzione | Descrizione |
|---|---|
|
|
Default Taglio a squadra AutoDefaults consente di modificare questa opzione. |
|
|
Taglio a squadra |
|
|
Taglio Inclinato |
Scheda Piatti
Utilizzare la scheda Piatti per controllare dimensione, posizione, marcatura e forma del piatto di taglio.
Piatto di taglio
| Opzione | Descrizione |
|---|---|
|
Piatto |
Spessore, larghezza e altezza del piatto di taglio. |
|
Opzione |
Descrizione |
Default |
|---|---|---|
|
Pref. N. |
Prefisso e numero partenza del numero posizione della parte. Alcuni componenti includono una seconda riga di campi in cui è possibile inserire la marca di posizione dell'assemblaggio. |
Il numero partenza della parte di default è definito nelle impostazioni Componenti nel . |
|
Materiale |
Tipo di materiale. |
Il materiale di default è definito nella casella Materiale della parte nelle impostazioni Componenti nel . |
|
Nome |
Nome mostrato nei disegni e nei report. |
Posizione del piatto di taglio
| Opzione | Descrizione |
|---|---|
|
|
Default Piatto di taglio lato vicino AutoDefaults consente di modificare questa opzione. |
|
|
Automatico Il componente seleziona automaticamente il piatto di taglio lato vicino o lato lontano. La sezione viene creata sul lato della parte secondaria quando l'angolo tra la parte principale e quella secondaria è inferiore a 90 gradi. |
|
|
Piatto di taglio lato vicino |
|
|
Piatto di taglio lato vicino e lato lontano |
|
|
Piatto di taglio lato lontano |
Orientamento piatto di taglio
|
Opzione |
Descrizione |
|---|---|
|
|
Default Quadrato AutoDefaults consente di modificare questa opzione. |
|
|
Automatico Quadrato |
|
|
Inclinata Il piatto di taglio è inclinata nella direzione della trave secondaria. Entrambi i bordi verticali del piatto di taglio vengono tagliati paralleli all'estremità della trave secondaria. |
|
|
Quadrato |
Smussi del piatto di taglio

| Descrizione | |
|---|---|
|
1 |
Dimensione verticale dello smusso del piatto di taglio. |
|
2 |
Dimensione orizzontale dello smusso del piatto di taglio. |
|
3 |
Raggio smusso del piatto di taglio. |
|
4 |
Selezionare il tipo di smusso. |
Smussi piatto di taglio interno

| Descrizione | |
|---|---|
|
1 |
Dimensione orizzontale dello smusso del piatto di taglio. |
|
2 |
Dimensione verticale dello smusso del piatto di taglio. |
|
3 |
Raggio smusso del piatto di taglio. |
|
4 |
Selezionare il tipo di smusso. |
Scheda Irrigidimenti (Stiffeners)
Utilizzare la scheda Irrigidimenti per controllare dimensioni, orientamento, posizione e tipo di piatto di irrigidimento.
Dimensioni del piatto di irrigidimento d'anima opposto
| Opzione |
Descrizione |
|---|---|
|
Irrig.d'anima opp. |
Spessore, la larghezza e l'altezza del piatto di irrigidimento d'anima opposto. |
|
Opzione |
Descrizione |
Default |
|---|---|---|
|
Pref. N. |
Prefisso e numero partenza del numero posizione della parte. |
Il numero partenza della parte di default è definito nelle impostazioni Componenti nel . |
|
Materiale |
Tipo di materiale. |
Il materiale di default è definito nella casella Materiale della parte nelle impostazioni Componenti nel . |
|
Nome |
Nome mostrato nei disegni e nei report. |
Creazione di irrigidimenti
|
Opzione |
Descrizione |
|---|---|
|
|
Default Gli irrigidimenti non vengono creati. AutoDefaults consente di modificare questa opzione. |
|
|
Completa Crea un irrigidimento completo della stessa altezza dell'anima della parte principale. |
|
|
Determinato dal piatto di taglio Tekla Structures determina le dimensioni dell'irrigidimento in base a quelle del piatto di taglio. Tekla Structures tenta di tenere i bordi inferiori del piatto di irrigidimento e del piatto di taglio allo stesso livello, se possibile. |
|
|
Parziale Lascia una distanza tra il piatto di irrigidimento e la flangia inferiore della parte principale. |
|
|
Gli irrigidimenti non vengono creati. |
Orientamento degli irrigidimenti
|
Opzione |
Descrizione |
|---|---|
|
|
Default Gli irrigidimenti sono paralleli alla parte secondaria. AutoDefaults consente di modificare questa opzione. |
|
|
Gli irrigidimenti sono perpendicolari alla parte principale. |
|
|
Gli irrigidimenti sono paralleli alla parte secondaria. |
Dimensioni smusso

| Descrizione | |
|---|---|
|
1 |
Dimensione orizzontale dello smusso. |
|
2 |
Dimensione verticale dello smusso. |
|
3 |
Selezionare il tipo di smusso. |
Scheda Rinforzo
Utilizzare la scheda Rinforzo per controllare la creazione del piatto di rinforzo e degli smussi nelle flange della trave secondaria.
Piatti di rinforzo
| Opzione | Descrizione |
|---|---|
|
Piastra superiore |
Spessore, larghezza e altezza del piatto superiore. |
|
Piatto inferiore |
Spessore, larghezza e altezza del piatto inferiore. |
|
Opzione |
Descrizione |
Default |
|---|---|---|
|
Pref. N. |
Prefisso e numero partenza del numero posizione della parte. Alcuni componenti includono una seconda riga di campi in cui è possibile inserire la marca di posizione dell'assemblaggio. |
Il numero partenza della parte di default è definito nelle impostazioni Componenti nel . |
|
Materiale |
Tipo di materiale. |
Il materiale di default è definito nella casella Materiale della parte nelle impostazioni Componenti nel . |
|
Nome |
Nome mostrato nei disegni e nei report. |
|
|
Finitura |
Descrive il trattamento applicato alla superficie della parte. |
Smussi dei piatti di rinforzo

|
Descrizione |
|
|---|---|
|
1 |
Larghezza dello smusso del piatto di rinforzo superiore. |
|
2 |
Altezza dello smusso del piatto di rinforzo superiore. |
|
3 |
Altezza dello smusso del piatto di rinforzo inferiore. |
|
4 |
Larghezza dello smusso del piatto di rinforzo inferiore. |
Creazione di piatti di rinforzo
|
Opzione |
Descrizione |
|---|---|
|
|
Default Se necessario, vengono creati piatti di rinforzo superiore e inferiore. L’AutoDefault può variare questa opzione. |
|
|
Automatico Se necessario, vengono creati piatti di rinforzo superiore e inferiore o entrambi. |
|
|
Vengono creati piatti di rinforzo superiore e inferiore. Per creare un piatto singolo, inserire 0 nel campo dello spessore (t) relativo al piatto non necessario (piatto superiore o inferiore). |
|
|
I piatti di rinforzo non vengono creati. |
Scheda Bulloni
Utilizzare la scheda Bulloni per controllare le proprietà dei bulloni che collegano il piatto di taglio alla parte secondaria.
Quote del gruppo bulloni

| Descrizione | |
|---|---|
|
1 |
Dimensione della posizione orizzontale del gruppo bulloni. |
|
2 |
Distanza dal bordo dei bulloni. La distanza dal bordo è la distanza dal centro di un bullone al bordo della parte. |
|
3 |
Numero di bulloni. |
|
4 |
Passo bulloni. Utilizzare uno spazio per separare i valori di passo dei bulloni. Immettere un valore per ciascun passo tra i bulloni. Ad esempio, se sono presenti 3 bulloni, inserire 2 valori. |
|
5 |
Dimensione della posizione verticale del gruppo bulloni. |
|
6 |
Seleziona la modalità di misura delle dimensioni per la posizione verticale del gruppo bulloni.
|
|
7 |
Definisce quali bulloni vengono eliminati dal gruppo bulloni. Immettere i numeri dei bulloni da eliminare e separare i numeri con uno spazio. I numeri dei bulloni sono disposti da sinistra a destra e dall'alto verso il basso. |
Sfalsatura dei bulloni
|
Opzione |
Descrizione |
|---|---|
|
|
Default Non sfalsato AutoDefaults consente di modificare questa opzione. |
|
|
Non sfalsato |
|
|
Tipo sfalsato 1 |
|
|
Tipo sfalsato 2 |
|
|
Tipo sfalsato 3 |
|
|
Tipo sfalsato 4 |
Orientamento del gruppo di bulloni
|
Opzione |
Descrizione |
|---|---|
|
|
Default Quadrato AutoDefaults consente di modificare questa opzione. |
|
|
Automatico Quadrato |
|
|
Sfalsato I bulloni sono sfalsati in direzione della parte secondaria. |
|
|
Quadrato Un gruppo di bulloni sfalsati è posizionato orizzontalmente. |
|
|
Inclinata Un gruppo di bulloni in squadra è inclinato in direzione della parte secondaria. |
Proprietà di base dei bulloni
|
Opzione |
Descrizione |
Default |
|---|---|---|
|
Diametro |
Diametro dei bulloni. |
Le dimensioni disponibili sono definite nel catalogo assemblaggio bulloni. |
|
Standard |
Standard dei bulloni da utilizzare all'interno del componente. |
Gli standard disponibili sono definiti nel catalogo assemblaggio bulloni. |
|
Tolleranza |
Distanza tra il bullone e il foro. |
|
|
Filetto nel mat. |
Definisce se la filettatura può trovarsi all'interno delle parti bullonate quando si utilizzano i bulloni con un'asse. Non ha effetto se si utilizzano bulloni a filettatura completa. |
Sì |
|
Cantiere/Officina |
Posizione in cui i bulloni devono essere fissati. |
Cantiere |
Fori asolati
È possibile definire fori asolati, sovradimensionati o maschiati.
|
Opzione |
Descrizione |
Default |
|---|---|---|
|
1 |
Dimensione verticale del foro asolato. |
0, che restituisce un foro rotondo. |
|
2 |
Dimensione orizzontale del foro asolato o margine per i fori sovradimensionati. |
0, che restituisce un foro rotondo. |
|
Tipo di Foro |
Asolato crea fori asolati. Sovradimensionato crea fori sovradimensionati. Nessun foro non crea fori. Rastremato crea fori rastremati. |
|
|
Asole ruotate |
Quando il tipo di foro è Asolato, questa opzione ruota i fori asolati. |
|
|
Asola in |
Parti in cui vengono creati fori asolati. Le opzioni variano in base al componente in questione. |
Assemblaggio bullone
Le caselle di controllo selezionate definiscono quali oggetti del componente (bullone, rondelle e dadi) saranno utilizzati nell'assemblaggio bullone.
Per creare solo un foro, deselezionare tutte le caselle di controllo.
Per modificare l'assemblaggio bullone in un componente esistente, selezionare la casella di controllo Effetto in modif. e cliccare su Modifica.
Aumento della lunghezza bullone
Definisce il livello di aumento della lunghezza del bullone (nel calcolo della lunghezza della vite). Utilizzare questa opzione quando, ad esempio, è necessario aumentare la lunghezza del bullone per la verniciatura.
Scheda Generale
Per ulteriori informazioni, cliccare sul collegamento di seguito:
Scheda Progetto
Per ulteriori informazioni, cliccare sul collegamento di seguito:
Scheda Analisi
Per ulteriori informazioni, cliccare sul collegamento di seguito:
Saldature
Per ulteriori informazioni, cliccare sul collegamento di seguito:












