Cosciale a C (127)

Tekla Structures
Modificato: 28 Ott 2025
2025
Tekla Structures

Cosciale a C (127)

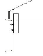
Cosciale a C (127) collega un cosciale a un profilo C con un angolo. Il profilo angolare è saldato al cosciale e imbullonato al profilo a C. Il piatto verticale è saldato all'estremità del cosciale.

Oggetti creati

  • Piatto angolare

  • Piatto verticale (opzionale)

  • Bulloni

  • Saldature

  • Tagli per sagomare l'estremità del cosciale

Utilizzare per

Situazione

Descrizione

Il profilo angolare è imbullonato al profilo a C e saldato al cosciale. Il cosciale è tagliato orizzontalmente al livello superiore del profilo a C.

Nessun taglio orizzontale nel cosciale.

Un piatto verticale viene creato all'estremità del cosciale.

Limitazioni

Cosciale a C (127) funziona solo se il profilo di connessione è un angolo.

Prima di iniziare

Creare un cosciale e un profilo a C.

Ordine di selezione

  1. Selezionare la parte principale (un profilo a C).

  2. Selezionare la parte secondaria (un cosciale).

    La connessione viene creata automaticamente quando viene selezionata la parte secondaria.

Identificazione delle parti

Parte

1

Profilo angolare

2

Piatto verticale

Scheda Immagine

Utilizzare la scheda Immagine per definire la posizione del profilo angolare, del piatto verticale e se il cosciale è tagliato.

Taglio cosciale

Opzione

Descrizione

Opzione 1

Default

Opzione 2

Il cosciale è tagliato orizzontalmente al livello superiore del profilo a C.

Opzione 3

Nessun taglio orizzontale nel cosciale.

Descrizione

Default

1

La posizione del piatto verticale.

Definisce la distanza verticale tra il bordo superiore del cosciale e il livello superiore del piatto verticale.

0

2

Posizione del profilo angolare.

Definisce la distanza verticale tra il livello superiore del profilo a C e il livello superiore del profilo angolare.

Opzione 1 o 2:

  • metrica: 65 mm

  • imperiale: 2"1/2

Opzione 3:

  • 0

3

Posizione di taglio del cosciale.

Definisce la distanza verticale dal bordo superiore del profilo a C al piano in cui il cosciale viene tagliato orizzontalmente e la parte inferiore in cui viene posizionato il piatto verticale.

  • metrica: 12 mm

  • imperiale: 1/2"

4

Posizione di taglio del cosciale.

Definisce la distanza orizzontale tra l'anima del profilo a C e il cosciale.

  • metrica: 12 mm

  • imperiale: 1/2"

Scheda Parti

Utilizzare la scheda Parti per controllare le proprietà del piatto verticale e del profilo angolare.

Piatto verticale e profilo angolare

Opzione

Descrizione

Default

Piatto verticale

Spessore del piatto verticale.

Se si imposta il valore su 0, non viene creato alcun piatto verticale.

metrica: 10 mm

imperiale: 3/8"

Il nome di default è PROFILE.

Angolo

Definisce il profilo angolare selezionandolo dal catalogo profili.

Se non si seleziona un profilo L, la connessione non verrà creata.

metrica: L75*6

imperiale: L3X3X1/4

Il nome di default è ANGLE.

Opzione

Descrizione

Default

Pref. N.

Prefisso e numero partenza del numero posizione della parte.

Alcuni componenti includono una seconda riga di campi in cui è possibile inserire la marca di posizione dell'assemblaggio.

Il numero partenza della parte di default è definito nelle impostazioni Componenti nel menu File > Impostazioni > Opzioni.

Materiale

Tipo di materiale.

Il materiale di default è definito nella casella Materiale della parte nelle impostazioni Componenti nel menu File > Impostazioni > Opzioni.

Nome

Nome mostrato nei disegni e nei report.

Scheda Parametri

Utilizzare la scheda Parametri per controllare l'orientamento del segmento e la posizione del profilo angolare.

Orientamento dell'ala del profilo angolare

Se le ali del profilo angolare sono di lunghezza irregolare, è possibile cambiarne la posizione.

Opzione

Descrizione

Default

L'ala più lunga del profilo angolare è collegata al profilo a C.

AutoDefaults consente di modificare questa opzione.

L'ala più lunga del profilo angolare è collegata al profilo a C.

L'ala più lunga del profilo angolare è collegata al cosciale.

Posizione del profilo angolare

Opzione

Descrizione

Default

Il profilo angolare si trova sulla superficie esterna del profilo a C.

AutoDefaults consente di modificare questa opzione.

Il profilo angolare si trova sulla superficie esterna del profilo a C.

Il profilo angolare si trova sulla superficie interna del profilo a C.

Scheda Bulloni

Utilizzare la scheda Bulloni per controllare i bulloni che collegano il profilo angolare al profilo a C.

Quote del gruppo bulloni

Descrizione

Default

1

Distanza verticale tra il livello superiore del profilo a C e il centro del bullone superiore.

metrica: 75 mm

imperiale: 3"

2

Numero di bulloni.

2

3

Passo bulloni.

Utilizzare uno spazio per separare i valori di passo dei bulloni. Immettere un valore per ciascun passo tra i bulloni. Ad esempio, se sono presenti 3 bulloni, inserire 2 valori.

metrica: 75 mm

imperiale: 3"

4

Distanza verticale tra il livello inferiore del profilo angolare e il centro del bullone inferiore.

metrica: 40 mm

imperiale: 1"1/2

5

Distanza orizzontale tra il bordo del cosciale e la linea centrale dei bulloni.

metrica: 40 mm

imperiale: 1"1/2

Proprietà di base dei bulloni

Opzione

Descrizione

Default

Diametro

Diametro dei bulloni.

Le dimensioni disponibili sono definite nel catalogo assemblaggio bulloni.

Standard

Standard dei bulloni da utilizzare all'interno del componente.

Gli standard disponibili sono definiti nel catalogo assemblaggio bulloni.

Tolleranza

Distanza tra il bullone e il foro.

Filetto nel mat.

Definisce se la filettatura può trovarsi all'interno delle parti bullonate quando si utilizzano i bulloni con un'asse.

Non ha effetto se si utilizzano bulloni a filettatura completa.

Cantiere/Officina

Posizione in cui i bulloni devono essere fissati.

Cantiere

Fori asolati

È possibile definire fori asolati, sovradimensionati o maschiati.

Opzione

Descrizione

Default

1

Dimensione verticale del foro asolato.

0, che restituisce un foro rotondo.

2

Dimensione orizzontale del foro asolato o margine per i fori sovradimensionati.

0, che restituisce un foro rotondo.

Tipo di Foro

Asolato crea fori asolati.

Sovradimensionato crea fori sovradimensionati.

Nessun foro non crea fori.

Rastremato crea fori rastremati.

Asole ruotate

Quando il tipo di foro è Asolato, questa opzione ruota i fori asolati.

Asola in

Parti in cui vengono creati fori asolati. Le opzioni variano in base al componente in questione.

Assemblaggio bullone

Le caselle di controllo selezionate definiscono quali oggetti del componente (bullone, rondelle e dadi) saranno utilizzati nell'assemblaggio bullone.

Per creare solo un foro, deselezionare tutte le caselle di controllo.

Per modificare l'assemblaggio bullone in un componente esistente, selezionare la casella di controllo Effetto in modif. e cliccare su Modifica.

Aumento della lunghezza bullone

Definisce il livello di aumento della lunghezza del bullone (nel calcolo della lunghezza della vite). Utilizzare questa opzione quando, ad esempio, è necessario aumentare la lunghezza del bullone per la verniciatura.

Scheda Generale

Per ulteriori informazioni, cliccare sul collegamento di seguito:

Scheda Generale

Scheda Analisi

Per ulteriori informazioni, cliccare sul collegamento di seguito:

Scheda Analisi

Saldature

Per ulteriori informazioni, cliccare sul collegamento di seguito:

Crea saldature

È stato utile?
Precedente
Successivo