Piatto d'estremità (101)

Tekla Structures
Modificato: 10 Dic 2024
2025
Tekla Structures

Piatto d'estremità (101)

Piatto d'estremità (101) collega una trave a un'altra trave o a una colonna utilizzando un piatto d'estremità. Il piatto d'estremità è saldato alla trave secondaria e imbullonato alla parte principale (trave o colonna).

Oggetti creati

  • Piatto d'estremità

  • Bulloni

  • Saldature

  • Tagli

Utilizzare per

Situazione

Descrizione

Connessione da trave a trave con un piatto d'estremità imbullonato.

Connessione da trave a colonna con un piatto d'estremità imbullonato.

Ordine di selezione

  1. Selezionare la parte principale (trave o colonna).

  2. Selezionare la parte secondaria (trave).

    La connessione viene creata automaticamente quando viene selezionata la trave secondaria.

Identificazione delle parti

Parte

1

Piatto d'estremità

Scheda Immagine

Utilizzare la scheda Immagine per controllare la posizione del piatto d'estremità.

Posizione del piatto d'estremità

Descrizione

Default

1

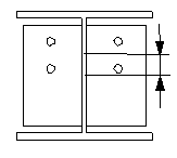
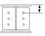
Distanza tra la parte principale e il piatto d'estremità.

2 mm

2

Distanza dal bordo del piatto d'estremità alla flangia della parte secondaria.

Scheda Piatto d'estremità

Utilizzare la scheda Piatto d'estremità per controllare le proprietà del piatto d'estremità.

Piatto

Parte

Descrizione

Piatto d'estremità

Definisce lo spessore e l'altezza del piatto d'estremità.

Opzione

Descrizione

Default

Pref. N.

Prefisso e numero partenza del numero posizione della parte.

Alcuni componenti includono una seconda riga di campi in cui è possibile inserire la marca di posizione dell'assemblaggio.

Il numero partenza della parte di default è definito nelle impostazioni Componenti nel menu File > Impostazioni > Opzioni.

Materiale

Tipo di materiale.

Il materiale di default è definito nella casella Materiale della parte nelle impostazioni Componenti nel menu File > Impostazioni > Opzioni.

Nome

Nome mostrato nei disegni e nei report.

Opzione Descrizione

Tipo di bordo piatto d'estremità

Definisce la modalità di taglio del piatto d'estremità. Il valore predefinito è Laminato/Tagliato.

Adatta a pendenza parte secondaria

Seleziona se allineare il piatto d'estremità con la pendenza parte secondaria.

Scheda Intaglio

Utilizzare la scheda Intaglio per creare automaticamente gli intagli per la trave secondaria e controllare le proprietà degli intagli.

Definizione taglio BCSA

Definisce se l'intaglio viene creato in conformità alle specifiche BCSA (British Constructional Steelwork Association).

Opzione

Descrizione

Default

Dimensioni intaglio.

Crea un intaglio di 50 mm per le connessioni semplici da trave a trave.

No

Utilizzare le opzioni disponibili nella scheda Intaglio per definire le dimensioni dell'intaglio.

Dimensioni intaglio

Definisce la dimensione superiore e inferiore dell'intaglio, se l'opzione BCSA notch def è stata impostata su No.

Descrizione

1

Dimensione verticale intaglio.

2

Dimensione orizzontale intaglio.

Forma intaglio

Definisce la forma dell'intaglio per la parte superiore e inferiore della trave secondaria.

Opzione

Opzione

Descrizione

Default

Crea un intaglio quadrato sul lato superiore o su quello inferiore della trave secondaria.

AutoDefaults consente di modificare questa opzione.

Nessun intaglio

Crea un intaglio quadrato sul lato superiore o su quello inferiore della trave secondaria.

Definisce le dimensioni dell'intaglio. Nelle connessioni trave trave con una trave secondaria inclinata, la profondità viene misurata come illustrato nella figura.

Crea un intaglio su entrambi i lati della parte secondaria.

Definisce le dimensioni dell'intaglio.

Crea un intaglio smussato su entrambi i lati della trave secondaria.

Definisce le dimensioni dell'intaglio.

Crea una trave.

Definisce la lunghezza della trave. Le flange vengono tagliate completamente.

Crea un tipo speciale di intaglio quadrato.

Definisce le dimensioni dell'intaglio. L'intaglio è in squadra con la trave secondaria. Non esistono valori predefiniti per la lunghezza o la profondità.

Lato intaglio

Definisce su quale lato della trave secondaria viene creato l'intaglio. È possibile definire il lato sia per la parte posteriore che superiore della trave secondaria.

Opzione

Descrizione

Default

Crea intagli su entrambi i lati.

AutoDefaults consente di modificare questa opzione.

Crea intagli su entrambi i lati.

Crea un intaglio sul lato sinistro.

Crea un intaglio sul lato destro.

Scheda Bulloni

Utilizzare la scheda Bulloni per controllare le proprietà dei bulloni.

Quote del gruppo bulloni

Descrizione

1

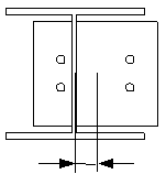
Seleziona come misurare le dimensioni per la posizione orizzontale del gruppo bulloni.

  • Sinistra: dal bordo sinistro della parte secondaria al bullone più a sinistra.

  • Centro: dalla linea centrale della parte secondaria alla linea centrale dei bulloni.

  • Destra: dal bordo destro della parte secondaria al bullone più a destra.

2

Dimensione della posizione orizzontale del gruppo bulloni.

3

Distanza dal bordo dei bulloni.

La distanza dal bordo è la distanza dal centro di un bullone al bordo della parte.

4

Numero di bulloni.

5

Passo bulloni.

Utilizzare uno spazio per separare i valori di passo dei bulloni. Immettere un valore per ciascun passo tra i bulloni. Ad esempio, se sono presenti 3 bulloni, inserire 2 valori.

6

Seleziona la modalità di misura delle dimensioni per la posizione verticale del gruppo bulloni.

  • Superiore: dal bordo superiore della parte secondaria al bullone più in alto.

  • Centro: dalla linea centrale dei bulloni alla linea centrale della parte secondaria.

  • Inferiore: dal bordo inferiore della parte secondaria al bullone più in basso.

7

Dimensione della posizione verticale del gruppo bulloni.

Sfalsatura dei bulloni

Opzione

Descrizione

Default

Non sfalsato

AutoDefaults consente di modificare questa opzione.

Non sfalsato

Tipo sfalsato 1

Tipo sfalsato 2

Tipo sfalsato 3

Tipo sfalsato 4

Proprietà di base dei bulloni

Opzione

Descrizione

Default

Diametro

Diametro dei bulloni.

Le dimensioni disponibili sono definite nel catalogo assemblaggio bulloni.

Standard

Standard dei bulloni da utilizzare all'interno del componente.

Gli standard disponibili sono definiti nel catalogo assemblaggio bulloni.

Tolleranza

Distanza tra il bullone e il foro.

Filetto nel mat.

Definisce se la filettatura può trovarsi all'interno delle parti bullonate quando si utilizzano i bulloni con un'asse.

Non ha effetto se si utilizzano bulloni a filettatura completa.

Cantiere/Officina

Posizione in cui i bulloni devono essere fissati.

Cantiere

Commento

È possibile definire un commento.

Fori asolati

È possibile definire fori asolati, sovradimensionati o maschiati.

Opzione

Descrizione

Default

1

Dimensione verticale del foro asolato.

0, che restituisce un foro rotondo.

2

Dimensione orizzontale del foro asolato o margine per i fori sovradimensionati.

0, che restituisce un foro rotondo.

Tipo di Foro

Asolato crea fori asolati.

Sovradimensionato crea fori sovradimensionati.

Nessun foro non crea fori.

Rastremato crea fori rastremati.

Asole ruotate

Quando il tipo di foro è Asolato, questa opzione ruota i fori asolati.

Asola in

Parti in cui vengono creati fori asolati. Le opzioni variano in base al componente in questione.

Assemblaggio bullone

Le caselle di controllo selezionate definiscono quali oggetti del componente (bullone, rondelle e dadi) saranno utilizzati nell'assemblaggio bullone.

Per creare solo un foro, deselezionare tutte le caselle di controllo.

Per modificare l'assemblaggio bullone in un componente esistente, selezionare la casella di controllo Effetto in modif. e cliccare su Modifica.

Aumento della lunghezza bullone

Definisce il livello di aumento della lunghezza del bullone (nel calcolo della lunghezza della vite). Utilizzare questa opzione quando, ad esempio, è necessario aumentare la lunghezza del bullone per la verniciatura.

Scheda Generale

Per ulteriori informazioni, cliccare sul collegamento di seguito:

Scheda Generale

Scheda Progetto

Per ulteriori informazioni, cliccare sul collegamento di seguito:

Scheda Progetto

Scheda Analisi

Per ulteriori informazioni, cliccare sul collegamento di seguito:

Scheda Analisi

Saldature

Per ulteriori informazioni, cliccare sul collegamento di seguito:

Crea saldature

È stato utile?
Precedente
Successivo