Apex Haunch

Tekla Structures
Not version-specific
Tekla Structures
Environment
Not environment-specific

Back to top

Purpose and description

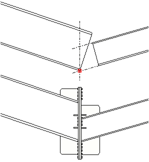
Apex Haunch connection connects two beams, tapered sections (PEB S94 Tapered Section) or 3 welded plates profile. Tapered sections or 3 welded plates can have web and flanges welded with any type of welds: part to part or polygon weld.

Back to top

System requirements

Tekla Structures version: Not version specific
Environments:   All

Back to top

Installing Apex Haunch

To install the extension:

  1. Download Apex Haunch installer package from Tekla Warehouse. For more information see Downloading an application from Tekla Warehouse.
  2. Install the file package.
Back to top

Using Apex Haunch

To use the extension:

  1. Open a Tekla model.
  2. Click the Applications & components button
    Image
    applications_and_components_button.png
      in the side pane to open the Applications & components catalog.
  3. Search for Apex Haunch and then double-click to open it.
  4. Create two beams or tapered sections beams.
  5. For regular beams.
    1. Select the main part (supporting beam).
    2. Select the secondary part (supported beam).
      The component is then created automatically.
  1. For tapered sections.
    1. Select the main part (flange or web of the supporting tapered section).
    2. Select the secondary part (flange or web of the supported tapered section).
      The component is then created automatically.

Note: The connection does not support any contour plates so make sure that the selected web or flange isn’t a contour plate.

Situation Description
Image
sit_1.png
Apex Haunch connection with both end plates, both top flange stiffener, filler plates and web stiffeners.
Image
sit_2.png
Apex Haunch connection with both end plates, both top flange stiffener, both bottom flange stiffener, bottom flange stiffener, haunch profiles, haunch webs, haunch flanges, filler plates and web stiffeners.
Back to top

Part identification key

 

Image
id_key_1.png

 

 

 

Image
id_key_2.png
  Part
1 Primary top flange stiffener
2 Main part end plate
3 Filler plates
4 Secondary part end plate
5 Secondary top flange stiffener
6 2nd Web stiffener
7 Secondary haunch web
8 Secondary haunch flange
9 Primary haunch flange
10 Primary haunch web
11 Web stiffener
12 Secondary bottom flange stiffener
13 Primary bottom flange stiffener
Back to top

Picture

Use Picture tab to control the dimensions of the parts created in the Apex Haunch connection.

Part dimensions

Image
haunch_picture.png

 

  Description Default
1 Define the second end plate top dimension. Calculated
2 Define the second end plate bottom dimension. Calculated
3 Define the distance between plates. 0 mm
4 Define the main end plate bottom dimension. Calculated
5 Define the number of web stffeners.
This field becomes active only if Yes option is selected in the Create web stiffeners list.
0
6 Web stiffener spacing of vertical top and bottom bolts. Use a space to separate web stiffeners spacing values. Enter a value for each space between web stiffeners. For example, if there are 3 web stiffeners, enter 2 values.
This field becomes activve only if Yes option is selected in the Create web stiffeners list.
primary fitted height/ (number of web stffeners+1)
7 Define the position of web stiffeners from the top flange of the beams.
This field is activve only if Yes option is selected in the Create web stiffeners list.
primary fitted height/ (number of web stffeners+1)
8 Define the main end plate top dimension. Calculated

Create top flange stiffeners

Option Description
Image
top_fl_stiff_def.png
Default
Image
top_fl_stiff_1.png
Yes
Image
top_fl_stiff_2.png
No

Create web stiffeners

Option Description
Image
flange_def.png
Default
Image
flange_1.png
No
No web stiffeners are created.
Image
flange_2.png
Yes
Web stiffeners are created.

Bottom geometry of connection

Option Description
Image
bottom_haunch_def.png
Default
Image
bottom_haunch_1.png
Flange stiffeners
Image
bottom_haunch_2.png
Haunch
Image
bottom_haunch_3.png
None

Convert to symmetry

Option Description Example
Image
convert_to_symmetry_def.png
Default Yes
Image
106_convert_to_symmetry_no.png
No - The haunch plates are not symmetrically.
Image
points1.png
“A” geometrical position

When using the No option in the Convert to symmetry list form the Picture tab, the connection is positioned at the intersection of an imaginary vertical line, at the intersection of the top flange extension of the primary part with the top flange of the secondary part.
Image
points4.png
“V” geometrical position

When using the No option in the Convert to symmetry list form the Picture tab, the connection is positioned at the intersection of an imaginary vertical line, at the intersection of the bottom flange extension of the primary part with the bottom flange of the secondary part.
Image
106_convert_to_symmetry_yes.png
Yes - The haunch plates are symmetrically.
Image
points2.png
A” geometrical position
Image
points3.png
“V” geometrical position
When using the Yes option in the Convert to symmetry list form the Picture tab, the connection is positioned at the intersection of an imaginary line, that connects with the following points:
  • First point - at the intersection of the top flange extension of the primary part with the top flange of the secondary part.
  • Second point - at the intersection of the top flange extension of the primary part with the top flange of the secondary part.

Fitting options

Option Description
Image
conn_200_flange_def.png
Default
Image
conn_200_flange_2.png
Beam flange perpendicular to beam axis.
Image
conn_200_flange_1.png
Beam flanges fitted to be level with the end plates.

Tolerance value and type

Image
apex_haunch_tolerance_value_and_type.png
  Description Default
1 Define the tolerance between end plates. 0 mm
2 Defines how to measure tolerance between end plates.
The options are:
  • Default;
  • Distance;
  • Angle (degrees).
Distance 

Web stiffener dimension position

Option Description
Image
web_stiffener_pos_def.png
Default
Image
web_stiffener_pos_1.png
Top
Image
web_stiffener_pos_3.png
Middle
Image
web_stiffener_pos_3.png
Bottom
Back to top

Parts

The Parts tab can be used for defining properties for the parts created by the Apex Haunch connection.

Part properties

Option Description Default
Pos_No Define a prefix and a starting number for the part position number. P
Material Define material grade. S275J2G4
Name Define a name that is shown in drawings and reports.  

Part dimensions

Part Description Default
Main part end plate Define the thickness, width and height of the main part end plate. thickness=  20 mm
width = maximum horizontal bolt spacing + bolts edge distance.
height = calculated.
Secondary part end plate Define the thickness, width and height of the secondary part end plate. thickness=  20 mm
width = maximum horizontal bolt spacing + bolts edge distance.
height = calculated.
Primary top flange stiffener Define the thickness of the primary top flange stiffener. thickness=  web thickness of the corresponding main part or next plate size.
Secondary top flange stiffener Define the thickness of the secondary top flange stiffener. thickness=  web thickness of the corresponding secondary part or next plate size.
Primary bottom flange stiffener Define the thickness of the primary bottom flange stiffener.
This field is not active if you select one of the Haunch or None option in the Choose the bottom geometry of connection list in Picture tab.
thickness=  web thickness of the corresponding main part or next plate size.
Secondary bottom flange stiffener Define the thickness of the secondary bottom flange stiffener.
This field is not active if you select one of the Haunch or None option in the Choose the bottom geometry of connection list in Picture tab
thickness=  web thickness of the corresponding secondary part or next plate size.
Primary haunch prof The primary haunch profile is created by selecting it from the profile library.
This field is not active if you select one of the Flange stiffeners or None options in the Choose the bottom geometry of connection list in Picture tab.
By default haunch is made by welded plates.
Secondary haunch prof The secondary haunch profile is created by selecting it from the profile library.
This field is not active if you select one of the Flange stiffeners or None options in the Choose the bottom geometry of connection list in Picture tab.
By default haunch is made by welded plates.
Primary haunch web Define the thickness of the primary haunch web.
This field is not active if you select one of the Flange stiffeners or None options in the Choose the bottom geometry of connection list in Picture tab.
thickness=  web thickness of the corresponding main part or next plate size.
Primary haunch flange Define the thickness and width of the primary haunch web.
This field is not active if you select one of the Flange stiffeners or None options in the Choose the bottom geometry of connection list in Picture tab.
thickness=  flange thickness of the corresponding main part or next plate size.
width =  flange width  of the corresponding main part.
Secondary haunch web Define the thickness of the secondary haunch web.
This field is not active if you select one of the Flange stiffeners or None options in the Choose the bottom geometry of connection list in Picture tab.
thickness=  web thickness of the corresponding secondary part or next plate size.
Secondary haunch flange Define the thickness and width of the secondary haunch web.
This field is not active if you select one of the Flange stiffeners or None options in the Choose the bottom geometry of connection list in Picture tab.
thickness=  flange thickness of the corresponding secondary part or next plate size.
width =  flange width  of the corresponding main part.
Back to top

Filler Plates

The Filler Plates tab can be used for defining properties for the filler plates created by the Apex Haunch connection.

Plate properties

Option Description Default
Pos_No Define a prefix and a starting number for the part position number. P
Material Define material grade. S235JR
Name Define a name that is shown in drawings and reports.  

Plate dimensions

Option Description Default
Filler plate Define the thickness of the filler plate.
Fitting plates between the end plate and the secondary part end plate can be created by defining the thickness.
thickness= 2 mm
No. of filler plates Define the number of filler plates. 1

Slotted holes

Option Description
Image
filler_plate_shape_comb_horizontal (2).png
Default
Image
filler_plate_shape_comb_horizontal (3).png
With holes.
Image
filler_plate_shape_comb_horizontal.png
Horizontal slotted holes.
Image
filler_plate_shape_comb_horizontal (1).png
Vertical slotted holes.

Tolerance

Define the tolerance for the slots in finger filler plates. The width of the slot is the bolt diameter + the tolerance.

Bolt edge distances

Image
27_parts.png
  Description Default
1 Distance on horizontal bolt edge distance in the filler plate. 35 mm
2 Distance on vertical bolt edge distance in the filler plate. 35 mm

Max gap allowed to endplate

Image
29_help_parametres2.png

Define the limit value for the gap between the end plate and secondary or main part. Use this gap in connections of slightly curved or sloped beams to decide if the end angle is so small that the beam end can be left straight.
If the actual gap is smaller than this value, the beam end is left straight.
If the actual gap is larger, then the beam end is fitted to the end plate.

Type

Option Description Default
Type Define the filler plate creation.
The options are:
  • Default
  • One filler plate
  • Separated
Separated
Back to top

Haunch

The Haunch tab can be used for defining properties for the haunch created by the Apex Haunch connection.

For Flange stiffeners option from Bottom geometry of connection list form the Picture tab

Flange stiffener type

Option Description
Image
fl_stiffener_type_def.png
Default
Image
fl_stiffener_left_type_1.png
Triangle
Image
fl_stiffener_right_type_1.png
Image
fl_stiffener_type_3.png
Image
fl_stiffener_type_4.png
Image
fl_stiffener_type_2.png
Square

Chamfer dimensions

Image
apex_haunch_flange_stiffener_chamfer.png
Image
apex_haunch_stiffener_chamfer_1.png
  Description Default
1 Distance on horizontal chamfer direction. 0 mm
2 Distance on vertical chamfer direction. 0 mm

Chamfer type

Option Description
Image
apex_haunch_upper_left_1_chamfer_def.png
Default
Image
1064_upper_left_1_chamfer_1.png
None
Image
1064_upper_left_1_chamfer_2.png
Line
Image
1064_upper_left_1_chamfer_3.png
Arc
Image
1064_upper_left_1_chamfer_4.png
Cope

 

Option Description
Image
apex_haunch_btm_right_2_chamfer_def.png
Default
Image
1064_btm_right_2_chamfer_1.png
None
Image
1064_btm_right_2_chamfer_2.png
Line
Image
1064_btm_right_2_chamfer_3.png
Arc
Image
1064_btm_right_2_chamfer_4.png
Cope

 

Option Description
Image
apex_haunch_upper_right_2_chamfer_def.png
Default
Image
1064_upper_right_2_chamfer_1.png
None
Image
1064_upper_right_2_chamfer_2.png
Line
Image
1064_upper_right_2_chamfer_3.png
Arc
Image
1064_upper_right_2_chamfer_4.png
Cope

 

Option Description
Image
apex_haunch_btm_left_1_chamfer_def.png
Default
Image
1064_btm_left_1_chamfer_1.png
None
Image
1064_btm_left_1_chamfer_2.png
Line
Image
1064_btm_left_1_chamfer_3.png
Arc
Image
1064_btm_left_1_chamfer_4.png
Cope 

Flange stiffeners dimensions

Image
haunch_2.png

 

  Description Default
1 Define de dimension of the top flange stiffener along the beam flange. 1.5*value of field “2”
2 Define the height of the top flange stiffener. part height/3
3 Define the dimension of the bottom flange stiffener along the bottom beam flange. 1.5*value of field “4”
4 Define the height of the bottom flange stiffener. part height/3   

For Flange stiffeners option from Bottom geometry of connection list form the Picture tab

Flange stiffener type

Option Description
Image
fl_stiffener_type_def.png
Default
Image
fl_stiffener_left_type_1.png
Triangle
Image
fl_stiffener_right_type_1.png
Image
fl_stiffener_type_3.png
Image
fl_stiffener_type_4.png
Image
fl_stiffener_type_2.png
Square

Chamfer dimensions

Image
apex_haunch_flange_stiffener_chamfer.png
Image
apex_haunch_stiffener_chamfer_1.png
  Description Default
1 Distance on horizontal chamfer direction. 0 mm
2 Distance on vertical chamfer direction. 0 mm

Chamfer type

Option Description
Image
apex_haunch_upper_left_1_chamfer_def.png
Default
Image
1064_upper_left_1_chamfer_1.png
None
Image
1064_upper_left_1_chamfer_2.png
Line
Image
1064_upper_left_1_chamfer_3.png
Arc
Image
1064_upper_left_1_chamfer_4.png
Cope

 

Option Description
Image
apex_haunch_btm_right_2_chamfer_def.png
Default
Image
1064_btm_right_2_chamfer_1.png
None
Image
1064_btm_right_2_chamfer_2.png
Line
Image
1064_btm_right_2_chamfer_3.png
Arc
Image
1064_btm_right_2_chamfer_4.png
Cope

 

Option Description
Image
apex_haunch_upper_right_2_chamfer_def.png
Default
Image
1064_upper_right_2_chamfer_1.png
None
Image
1064_upper_right_2_chamfer_2.png
Line
Image
1064_upper_right_2_chamfer_3.png
Arc
Image
1064_upper_right_2_chamfer_4.png
Cope

 

Option Description
Image
apex_haunch_btm_left_1_chamfer_def.png
Default
Image
1064_btm_left_1_chamfer_1.png
None
Image
1064_btm_left_1_chamfer_2.png
Line
Image
1064_btm_left_1_chamfer_3.png
Arc
Image
1064_btm_left_1_chamfer_4.png
Cope 

Flange stiffeners dimensions

Image
haunch_1.png

 

  Description Default
1 Define the dimension of the top flange stiffener along the beam flange. 1.5*value of field “2”
2 Define the height of the top flange stiffener. main part height/3
3 Define the dimension of the haunch along the bottom beam flange.
Image
angle_explenation.png
If α<75° then the haunch is created horizontally.
If α>75° then the haunch is created with the next formula: 1.5*haunch height
4 Define the height of the haunch. main part height/3   

Chamfer dimensions

Note: These dimensions are the same for all haunch chamfers.

Option Description Default
x Define the horizontal dimension of the haunch plate chamfer. 0 mm
y Define the vertical dimension of the haunch plate chamfer. 0 mm

Chamfering type

Option Description
Image
40_conn_chamfer_line_def.png
Default
Image
40_conn_chamfer_no.png
No: No chamfer is created
Image
40_conn_chamfer_line.png
Line: Creates a line chamfer
Image
40_conn_chamfer_arc.png
Arc: Creates a convex chamfer
Image
40_conn_chamfer_cope.png
Cope: Creates a concave chamfer
Image
40_conn_chamfer_type_1.png
Type 1
Image
40_conn_chamfer_type_2.png
Type 2
Image
40_conn_chamfer_type_3.png
Type 3

Cut at upper end of haunch profile

Image
haunch_3.png

 

  Description Default
1 Define the vertical cut dimension of the haunch plate. (This dimension is perpendicular on the flange.)
This dimension works only for profile haunch.
15 mm

Symmetrical cut for profile haunch

Option Description
Image
symmetrical_cut_for_profile_haunch_def.png
Default
Image
symmetrical_cut_for_profile_haunch_1.png
Skewed cut
Image
symmetrical_cut_for_profile_haunch_2.png
Vertical cut
Image
symmetrical_cut_for_profile_haunch_3.png
No cut

Cut at lower end haunch

Option Description
Image
cut_at_lower_end_haunch_def.png
Default
Image
cut_at_lower_end_haunch_1.png
Yes
Image
cut_at_lower_end_haunch_2.png
No
Back to top

Web stiffener

The Web stiffener tab can be used for defining properties for the haunch created by the Apex Haunch connection.

Stiffener properties

Option Description Default
Pos_No Define a prefix and a starting number for the part position number. P
Material Define material grade. 1
Name Define a name that is shown in drawings and reports.  

Stiffener dimensions

Option Description Default
Web stiffener Define the thickness and width of the web stiffener. thickness= main part web thickness
width= fit to end plate
2nd web stiffener Define the thickness and width of the 2nd web stiffener thickness= secondary part web thickness
width= fit to 2nd end plate

Web stiffener type

Option Description
Image
fl_stiffener_type_def.png
Default
Image
fl_stiffener_left_type_1.png
Triangle
Image
fl_stiffener_type_2.png
Square

Chamfer dimensions

Image
apex_haunch_flange_stiffener_chamfer.png
Image
apex_haunch_stiffener_chamfer_1.png
  Description Default
1 Distance on horizontal direction between bolts and plate. 0 mm
2 Distance on vertical direction between bolts and plate. 0 mm

Chamfer type

Option Description
Image
apex_haunch_upper_left_1_chamfer_def.png
Default
Image
1064_upper_left_1_chamfer_1.png
None
Image
1064_upper_left_1_chamfer_2.png
Line
Image
1064_upper_left_1_chamfer_3.png
Arc
Image
1064_upper_left_1_chamfer_4.png
Cope

 

Option Description
Image
apex_haunch_btm_right_2_chamfer_def.png
Default
Image
1064_btm_right_2_chamfer_1.png
None
Image
1064_btm_right_2_chamfer_2.png
Line
Image
1064_btm_right_2_chamfer_3.png
Arc
Image
1064_btm_right_2_chamfer_4.png
Cope

 

Option Description
Image
apex_haunch_upper_right_2_chamfer_def.png
Default
Image
1064_upper_right_2_chamfer_1.png
None
Image
1064_upper_right_2_chamfer_2.png
Line
Image
1064_upper_right_2_chamfer_3.png
Arc
Image
1064_upper_right_2_chamfer_4.png
Cope

 

Option Description
Image
apex_haunch_btm_left_1_chamfer_def.png
Default
Image
1064_btm_left_1_chamfer_1.png
None
Image
1064_btm_left_1_chamfer_2.png
Line
Image
1064_btm_left_1_chamfer_3.png
Arc
Image
1064_btm_left_1_chamfer_4.png
Cope 

Web stiffener length

Image
web_stiff_1.png

 

  Description Default
1 Define the length for right side stiffeners. 1.5 * web stiffener width
2 Define the length for left side stiffeners. 1.5 * web stiffener width
Back to top

Bolts

The Bolts tab can be used for defining properties for the bolts created by the Apex Haunch connection.

Bolt basic properties

Option Description Default
Size Bolt diameter. 12
Standard The bolt standard to use inside the component. 6914
Tolerance The gap between the bolt and the hole.
Thread in mat Indicate if the thread can be inside bolted parts when using bolts with a shaft. Has no effect if using full-threaded bolts. No
Site/Workshop Location where bolts should be attached. Site

Bolt basic properties

You can define slotted, oversize, or tapped holes with the following options.

 

Image
jnt_bpic_long_holes_hlp.png
Option Description Default
1 Slotted hole X-dimension or allowance for oversized holes. 12
2 Slotted hole Y-dimension. Zero, which results in a round hole.
Hole type Slotted creates slotted holes.
Oversize creates oversized or tapped holes.
 
Rotate slots When hole type is Slotted, this option rotates the slotted holes.  
Slots in Member(s) in which slotted holes are created. The options depend on the component  

Bolt assembly

Select checkboxes to indicate the pieces to use in the bolt assembly (bolt, washers, and nuts).

 

Image
dialog_bolt_ass_RAKE.png

To only create a hole, clear all checkboxes.
To modify the bolt assembly in an existing component, select the Effect in modify checkbox and click Modify.

Bolt extra length

This dimension increases the bolt length. For example, you could use this for painted parts.

 

Image
jnt_bpic_extra_length.png

Bolts properties

Image
bolts.png
  Description Default
1 Define the number of horizontal top and bottom bolts. 2
2 Bolt spacing of horizontal top and bottom bolts. Use a space to separate bolt spacing values. Enter a value for each space between bolts. For example, if there are 3 bolts, enter 2 values. Bolt size * 3.5
3 Vertical bolts edge distance.  
4 Define the number of vertical top and bottom bolts. top stiffeners height / bolts spacing + 1
or
bottom stiffeners height / bolts spacing + 1
or
haunch height / bolts spacing + 1
5 Bolt spacing of vertical top and bottom bolts. Use a space to separate bolt spacing values. Enter a value for each space between bolts. For example, if there are 3 bolts, enter 2 values. Bolt size * 3.5
6 Vertical bolts flange distance.  
7 Define the number of vertical middle bolts. 3
8 Bolt spacing of vertical middle bolts. Use a space to separate bolt spacing values. Enter a value for each space between bolts. For example, if there are 3 bolts, enter 2 values. Bolt size * 3.5
9 Define the number of horizontal middle bolts. 2
10 Bolt spacing of horizontal middle bolts. Use a space to separate bolt spacing values. Enter a value for each space between bolts. For example, if there are 3 bolts, enter 2 values.  
11 Horizontal bolts edge distance.  
12 Indicates how to measure dimensions for horizontal bolt group position:
  • Default
  • Left: From the left edge of the secondary part to the leftmost bolt;
  • Middle: From the center line of the secondary part to center line of the bolts;
  • Right: From the right edge of the secondary part to the rightmost bolt.
Middle
13 Dimension for horizontal bolt group position.  
14 Define the dimension for vertical bolt group position.  
15 Indicates how to measure dimensions for vertical bolt group position:
  • Default
  • Top: From the upper edge of the secondary part to the uppermost bolt;
  • Middle: From the center line of the center line of the secondary part;
  • Bellow: From the lowest edge of the secondary part to the lowest bolt.
Middle
16 Dimension for horizontal top and bottom flange stiffeners bolt group position.  

Staggering of bolts

Option Description
Image
bolt_default.png
Default
Image
stagger_type_1.png
Not staggered
Image
stagger_type_2.png
Staggered type 1
Image
stagger_type_3.png
Staggered type 2
Image
stagger_type_4.png
Staggered type 3
Image
stagger_type_5.png
Staggered type 4  
Back to top
Was this helpful?