Platines circulaires (1052)
Platines circulaires (1052) crée une platine reliée à un poteau circulaire.
Objets créés
-
Platine circulaire
-
Raidisseurs tube
-
Plats supplémentaires connectés aux barres d'ancrage
-
Barre d'ancrage
-
Boulons
-
Soudures
-
Composant supplémentaire (facultatif)
Utilisation
|
Situation |
Description |
|---|---|
|
|
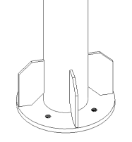
Platine circulaire |
|
|
Platine circulaire |
|
|
Platine carrée |
Avant de démarrer
Créez un poteau circulaire.
Ordre de sélection
-
Sélectionnez la pièce principale (poteau).
-
Sélectionnez une position.
Le détail est créé automatiquement.
Clé d'identification de pièce
|
Pièce |
|
|---|---|
|
1 |
Raidisseur |
|
2 |
Platine |
Onglet Graphique
Utilisez l'onglet Graphique pour paramétrer la géométrie de Platines circulaires (1052).
Dimensions
|
Description |
Défaut |
|
|---|---|---|
|
1 |
Largeur de la partie supérieure du raidisseur de tube. |
20 mm |
|
2 |
Jeu pour la soudure. |
0 mm |
|
3 |
Hauteur de l'extrémité du raidisseur du tube. |
30 mm |
Onglets Pièces
Utilisez l'onglet Pièces pour paramétrer les dimensions de la platine circulaire et des raidisseurs de tube.
Platine
| Option |
Description |
Défaut |
|---|---|---|
|
Platine circulaire |
Epaisseur et largeur de la platine circulaire. |
Epaisseur = 30 mm La largeur dépend du diamètre du tube. |
|
Raidisseurs tube |
Epaisseur, largeur et hauteur de raidisseur de tube. |
Epaisseur = 10 mm Hauteur = 200 mm |
|
Option |
Description |
Défaut |
|---|---|---|
|
Repère |
Préfixe et numéro de début pour le repère de la pièce. Certains composants possèdent une deuxième ligne de champs où vous pouvez entrer le repère de l'assemblage. |
Le numéro de début de pièce par défaut est défini dans les paramètres Composants sous . |
|
Matériau |
Qualité de matériau. |
Le matériau par défaut est défini dans la zone Matériau dans les paramètres Composants sous . |
|
Nom |
Nom à afficher dans les dessins et les listes. |
|
|
Finition |
Décrit le traitement de surface de la pièce. |
Onglet Paramètres
Utilisez l'onglet Paramètres pour paramétrer la forme de la platine, le diamètre du plat interne, l'angle du boulon, le recouvrement et la dimension du chanfrein.
Forme platine
|
Option |
Description |
|---|---|
|
|
Défaut Platine circulaire Autodéfauts permet de modifier cette option. |
|
|
Platine circulaire |
|
|
Platine carrée |
Diamètre du plat intérieur et angle du boulon
|
Description |
|
|---|---|
|
1 |
Diamètre interne de la platine. |
|
2 |
Angle de boulon (en degrés). |
Forme du plat de prescellement
| Option | Description |
|---|---|
|
|
Défaut Plat de prescellement carré Autodéfauts permet de modifier cette option. |
|
|
Plat de prescellement carré |
|
|
Plat de prescellement rond |
Position de la platine
|
Option |
Description |
|---|---|
|
|
Défaut La platine est perpendiculaire au poteau. Autodéfauts permet de modifier cette option. |
|
|
La platine est perpendiculaire au poteau. |
|
|
La platine n'est pas perpendiculaire au poteau. |
Pénétration
|
Description |
Défaut |
|
|---|---|---|
|
1 |
Distance entre l'aile du poteau et l'aile du plat. |
0 mm |
Dimension du chanfrein
|
Description |
Défaut |
|
|---|---|---|
|
1 |
Dimension du chanfrein. |
5 mm |
Utilisation de composants supplémentaires
Vous pouvez utiliser des composants système ou personnalisés supplémentaires pour modifier l'extrémité du poteau ou la platine. Par exemple, vous pouvez créer des platines d'appui, des préparations de soudures et des trous d'accès à des soudures spécifiques à l'extrémité du poteau.
Si vous utilisez des composants système ou personnalisés supplémentaires, vous devez gérer les propriétés de l'extrémité du poteau ou de la platine dans le composant supplémentaire en question. Lorsque vous utilisez plusieurs composants, il peut y avoir plusieurs soudures et coupes.
| Option |
Description |
|---|---|
|
Composant |
Sélectionnez un composant système ou personnalisé dans le catalogue Applications & composants. |
|
Attributs |
Sélectionnez un fichier attributs pour le composant. |
|
Donnée |
Définissez les pièces auxquelles s'applique le composant sélectionné.
|
Onglet Boulons
Utilisez l'onglet Boulons pour paramétrer les propriétés des boulons.
Positions des boulons
|
Description |
|
|---|---|
|
1 |
Quantité de boulons. |
|
2 |
Espacement entre les boulons. |
|
3 |
Définit les boulons supprimés du groupe de boulons. Entrez les numéros des boulons à supprimer et séparez-les par un espace. Les boulons sont numérotés de gauche à droite et de haut en bas. |
Propriétés de base des boulons
|
Option |
Description |
Défaut |
|---|---|---|
|
Diamètre boulon |
Diamètre du boulon. |
Les longueurs disponibles sont définies dans le catalogue d'assemblages de boulons. |
|
Standard boulon |
Standard boulon à utiliser dans le composant. |
Les standards disponibles sont définis dans le catalogue d'assemblages de boulons. |
|
Tolérance |
Jeu entre le boulon et le trou. |
|
|
Filet dans matière |
Définit si le filet peut se trouver à l'intérieur des pièces boulonnées lorsque des boulons sont utilisés avec un axe. Ceci n'a aucun effet si vous utilisez des boulons entièrement filetés. |
Oui |
|
Montage/Atelier |
Lieu de montage des boulons. |
Site |
Longueur de recherche
Définit la zone dans laquelle Tekla Structures recherche des pièces à boulonner. Vous pouvez déterminer si le boulon traverse une ou deux ailes.
Commentaire
Vous pouvez définir un commentaire.
Trous oblongs
Vous pouvez définir des trous oblongs, surdimensionnés ou taraudés.
|
Option |
Description |
Défaut |
|---|---|---|
|
1 |
Cotation verticale du trou oblong. |
0, ce qui équivaut à un trou rond. |
|
2 |
Cotation horizontale du trou oblong ou tolérance des trous surdimensionnés. |
0, ce qui équivaut à un trou rond. |
|
Type trou |
L'option Oblong crée des trous oblongs. L'option Surdimensionné crée des trous surdimensionnés. Aucun trou ne crée pas de trous. Taraudé crée des trous taraudés. |
|
|
Rotation oblongs |
Si le trou est de type Oblong, cette option fait pivoter les trous oblongs. |
|
|
Oblongs dans |
Pièce(s) dans la(es)quelle(s) les trous oblongs sont créés. Les options dépendent du composant. |
Assemblage de boulon
Les cases à cocher activées définissent les objets du composant (boulons, rondelles et écrous) utilisés dans l'assemblage de boulon.
Si vous voulez créer uniquement un trou, désactivez toutes les cases à cocher.
Pour modifier l'assemblage de boulons d'un composant existant, activez la case à cocher A modifier et cliquez sur Modifier.
Augmentation de la longueur de boulon
Définit l'augmentation de la longueur du boulon. Utilisez cette option lorsque, par exemple, la peinture nécessite l'augmentation de la longueur du boulon.
Onglet Barre d'ancrage
Utilisez l'onglet Barre d'ancrage pour paramétrer la création de divers types de barres d'ancrage.
Dimensions de la barre d'ancrage
|
Option |
Description |
|---|---|
|
Profil tige |
Profil de barre d'ancrage. Vous pouvez ajouter un commentaire sur la pièce. |
|
Profil écrou |
Profil de l'écrou. |
|
Profil rondelle |
Profil de rondelle. |
|
Rondelle plat |
Epaisseur, largeur et hauteur de la rondelle plat. |
|
Prescel. (CP) |
Epaisseur, largeur et hauteur de la platine de prescellement. |
|
Mortier calage |
Epaisseur du mortier de calage. Le mortier de calage aide à positionner des poteaux au-dessus de pièces en béton et place la platine correctement. Il est également plus facile de coter le détail dans les plans d'ensemble. Le type d'élément béton du mortier de calage est Coulé sur site. Par défaut, aucun mortier de calage n'est créé. Indiquez si le mortier de calage est créé avec ou sans pentes au-dessus ou en dessous du point de création de détail. Cette option affecte également les cales. |
Propriétés des pièces des barres d'ancrage
| Option | Description | Défaut |
|---|---|---|
|
Repère |
Préfixe et numéro de début pour le repère de la pièce. Certains composants possèdent une deuxième ligne de champs où vous pouvez entrer le repère de l'assemblage. |
Le numéro de début de pièce par défaut est défini dans les paramètres Composants sous . |
|
Matériau |
Qualité de matériau. |
Le matériau par défaut est défini dans la zone Matériau dans les paramètres Composants sous . |
|
Nom |
Nom à afficher dans les dessins et les listes. |
|
|
Classe |
Numéro de classe de la pièce. |
|
|
Finition |
Décrit le traitement de surface de la pièce. |
|
|
Commentaire |
Ajoute un commentaire sur la pièce. |
Platine avec
Indiquez si vous voulez créer la platine avec des boulons, des barres d'ancrage ou un composant personnalisé.
Par défaut, la platine est créée avec Boulons.
Dimensions de la barre d'ancrage

| Description | Défaut | |
|---|---|---|
|
1 |
Taille ou longueur de l'écrou. |
Diamètre de la barre d'ancrage |
|
2 |
Taille ou épaisseur de la rondelle. |
Moitié de la dimension de l'écrou |
|
3 |
Jeu entre la platine et l’écrou ou rondelle créé au-dessus de la platine. |
|
|
4 |
Longueur de la barre d'ancrage. |
500 mm |
|
5 |
Longueur de la barre d'ancrage au-dessus de la platine. |
50 mm |
|
6 |
Distance entre la platine de préscellement et la platine. |
60 mm |
|
7 |
Longueur de la partie filetée. |
0 mm |
|
8 |
Types de barres d’ancrage. |
|
|
9 |
Dimensions de la barre d’ancrage. |
Types de barres d'ancrage
|
Option |
Description |
|
|---|---|---|
|
|
Par défaut Type 1 Autodéfauts permet de modifier cette option. |
|
|
|
Type 1 |
|
|
|
a Rayon du crochet b Largeur du crochet |
a = 2 x diamètre de la barre d'ancrage l = 1/5 de la longueur de la barre d'ancrage |
|
|
a Rayon du crochet b Largeur du crochet c Hauteur du crochet |
c = largeur du crochet |
|
|
d Longueur de la barre d'ancrage sous le plat supplémentaire e Longueur du filet inférieur |
d = 2 x dimension écrou e = 4 x dimension écrou plus épaisseur du plat supplémentaire |
Orientation crochet
|
Option |
Description |
|---|---|
|
|
Par défaut Type 1 Autodéfauts permet de modifier cette option. |
|
|
Type 1 |
|
|
Type 2 |
|
|
Type 3 |
|
|
Type 4 |
Sens de boulonnage
Vous pouvez définir le sens de boulonnage quand vous créez la platine avec des boulons.
|
Option |
Description |
|---|---|
|
|
Par défaut Sens de boulonnage 1 Autodéfauts permet de modifier cette option. |
|
|
Sens de boulonnage 1 |
|
|
Sens de boulonnage 2 |
Tolérance trou platine de prescellement
|
Option |
Description |
Par défaut |
|---|---|---|
|
Tolérance trous platine de prescellement |
Tolérance des trous de la platine de prescellement. |
Identique à la tolérance des boulons |
Tolérance trou dans rondelle
|
Option |
Description |
|---|---|
|
Créer un trou dans une rondelle |
Par défaut, aucun trou n'est créé dans la rondelle. Tolérance du trou de la rondelle. |
Position de la rondelle du plat
| Option | Description |
|---|---|
|
Rondelles plat placées sur un cercle |
Indiquez si les rondelles du plat sont placées le long du cercle. Le placement des rondelles le long du cercle distribue les charges régulièrement. |
Créer
|
Description |
|
|---|---|
|
1 |
Créer le profil écrou. |
|
2 |
Créer le profil rondelle. |
|
3 |
Créer la rondelle plat. |
Assemblage de barres d'ancrage
Définit les pièces à inclure dans l'assemblage de barres d'ancrage.
Vous pouvez souder les fourrures au-dessus et en dessous de la platine.
Onglet Plats suppl.
Utilisez l'onglet Plats suppl. pour paramétrer le placement, la rotation et le type des profils (Profil sup. 1) créés dans la partie inférieure de chaque barre d'ancrage ainsi que les profils (Profil sup. 2) qui relient les lignes de barres d'ancrage.
Dimensions de la pièce
| Option |
Description |
Défaut |
|---|---|---|
|
Profil sup. 1 |
Sélectionnez le premier profil supplémentaire dans le catalogue de profils. |
PL10*100 |
|
Profil sup. 2 |
Sélectionnez le deuxième profil supplémentaire dans le catalogue de profils. |
Propriétés des pièces
|
Option |
Description |
Défaut |
|---|---|---|
|
Repère |
Préfixe et numéro de début pour le repère de la pièce. Certains composants possèdent une deuxième ligne de champs où vous pouvez entrer le repère de l'assemblage. |
Le numéro de début de pièce par défaut est défini dans les paramètres Composants sous . |
|
Matériau |
Qualité de matériau. |
Le matériau par défaut est défini dans la zone Matériau dans les paramètres Composants sous . |
|
Nom |
Nom à afficher dans les dessins et les listes. |
|
|
Classe |
Numéro de classe de la pièce. |
|
|
Finition |
Décrit le traitement de surface de la pièce. |
Pince du profil supplémentaire 1
|
Description |
Défaut |
|
|---|---|---|
|
1 |
Pince du profil supplémentaire 1. |
0 mm |
Pince du profil supplémentaire 2
|
Description |
Par défaut |
|
|---|---|---|
|
1 |
Distance du profil supplémentaire 2 depuis l'axe de la barre d'ancrage. |
Moitié de la dimension de l'écrou ou du diamètre de la barre d'ancrage |
Type de profil supplémentaire 2
|
Option |
Description |
|---|---|
|
|
Par défaut Type 1 Autodéfauts permet de modifier cette option. |
|
|
Type 1 |
|
|
Type 2 |
|
|
Type 3 |
|
|
Type 4 |
|
|
Type 5 |
|
|
Type 6 |
Longueur du profil supplémentaire 2
|
Description |
Par défaut |
|
|---|---|---|
|
1 |
Longueur du profil supplémentaire 2 depuis l'axe de la barre d'ancrage. |
0 mm |
Propriétés du profil supplémentaire 1
|
Option |
Description |
Défaut |
|---|---|---|
|
Tolérance perçage |
Tolérance de perçage du profil supplémentaire 1. |
Identique à la tolérance des boulons |
|
Hauteur du profil circulaire |
Entrez la hauteur du profil supplémentaire circulaire 1. |
|
|
Rotation du profil |
Rotation du profil supplémentaire 1. |
Face |
Rotation profil sup. 2
|
Option |
Description |
Défaut |
|---|---|---|
|
Rotation profil sup. 2 |
Rotation du profil supplémentaire 2. |
Face |
Onglet Général
Pour en savoir plus, cliquez sur le lien ci-dessous :
Onglet Analyse
Pour en savoir plus, cliquez sur le lien ci-dessous :
Soudures
Pour en savoir plus, cliquez sur le lien ci-dessous :