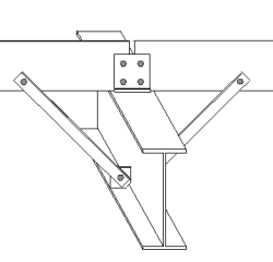
Laminé (Recouvrement) (1)
Laminé (Recouvrement) (1) relie une ou deux pannes ou lisses à un arbalétrier ou à un poteau. Certaines propriétés de ce composant sont chargées directement à partir du fichier overlap.dat. Contactez votre assistance locale Tekla Structures si vous avez besoin de personnaliser le composant plus que ne le permet la boîte de dialogue.
Objets créés
-
Cornière
-
Raidisseur
-
Bracons
-
Boulons
-
Soudures
Utilisation
Vous pouvez utiliser l'attache pour :
-
Recouvrements
-
Attaches bout à bout
-
Attaches de deux pannes ou deux lisses
-
Extrémités de pignon
Ne pas utiliser pour les attaches aux arbalétriers d'arêtier qui ont une attache spécialement conçue.
| Situation | Description |
|---|---|
|
|
Attache 2 pannes sur un arbalétrier ou 2 lisses sur un poteau. Attache par plat. |
|
|
Attache 2 pannes sur un arbalétrier ou 2 lisses sur un poteau. Attache par cornière. |
|
|
Attache 2 pannes sur un arbalétrier ou 2 lisses sur un poteau. Attache par bracon. |
Avant de commencer
Créez deux pannes (ou lisses) à la même profondeur et avec des axes centraux parallèles.
-
Créez les pannes (ou lisses) en alternant les rotations, d’abord en haut, puis en bas, etc.
-
Placez les pannes (ou lisses) sur l’axe central de l’arbalétrier (ou du poteau). Tekla Structures les prolongera automatiquement pour créer le recouvrement requis.
-
Définissez le dépassement du pignon, si nécessaire.
Utilisez le décalage standard du fabricant par rapport à l'aile de l'arbalétrier (ou du poteau).
Ces paramètres provoquent une collision des pannes. Par conséquent, lorsque vous effectuez un contrôle de collisions, vous pouvez les exclure à l’aide d’un filtre de sélection. Par exemple, entrez PURLIN comme nom de propriété dans le filtre.
Ordre de sélection
-
Sélectionnez la pièce principale (arbalétrier ou poteau).
-
Sélectionnez les pièces secondaires (une ou deux pannes ou une ou deux lisses).
-
Cliquez sur le bouton du milieu de la souris pour créer le composant.
Clé d'identification de pièce


| Description | |
|---|---|
|
1 |
Cornière |
|
2 |
Profil du bracon |
|
3 |
Plat du bracon |
Onglet Graphique
Utilisez l'onglet Graphique pour définir la position et les dimensions de la cornière.
Dimensions des cornières

| Description | |
|---|---|
|
1 |
La hauteur de la cornière est utilisée lorsque l’axe central de la cornière est positionné à une hauteur supérieure à celle de l'arbalétrier (ou du poteau). |
|
2 |
Distance entre l’axe central de la cornière et l’extrémité de la panne (ou de la lisse). Cette distance ne s’applique qu’aux pignons. La valeur par défaut est 0 mm. |
|
3 |
Largeur de la cornière lorsque l’axe central de son profil est parallèle à l’arbalétrier (ou au poteau). |

| Description | |
|---|---|
|
1 |
Distance entre l'axe de la cornière et l'axe de l’arbalétrier (ou du poteau). |
|
2 |
Distance entre l'axe de la cornière et l’extrémité de la panne (ou de la lisse) lorsqu’il y a deux pannes (ou lisses). |
Onglet Attache
Utilisez l’onglet Attache pour définir les propriétés et la position des attaches et des raidisseurs, ainsi que des boulons d'arbalétrier (ou du poteau) et des boulons d'attache.
Pièces
| Option | Description |
|---|---|
|
Profil attache |
Sélectionnez le profil dans le catalogue de profils. |
|
Raidisseur |
Définissez l’épaisseur du raidisseur. |
|
Option |
Description |
Défaut |
|---|---|---|
|
Repère |
Préfixe et numéro de début pour le repère de la pièce. Certains composants possèdent une deuxième ligne de champs où vous pouvez entrer le repère de l'assemblage. |
Le numéro de début de pièce par défaut est défini dans les paramètres Composants sous . |
|
Matériau |
Qualité de matériau. |
Le matériau par défaut est défini dans la zone Matériau dans les paramètres Composants sous . |
|
Nom |
Nom à afficher dans les dessins et les listes. |
Propriétés des boulons arbalétrier (ou poteau)
| Option | Description |
|---|---|
|
Std boul. arbalétrier |
Standard du boulon pour tous les boulons qui relient la cornière à l’arbalétrier (ou au poteau). Pour définir le standard du boulon d’arbalétrier (ou du poteau) et la tolérance du boulon d’arbalétrier (ou du poteau), sélectionnez cette option pour boulonner l'attache sur l’arbalétrier (ou sur le poteau).
|
|
Tol. boul. arbalétrier |
Jeu entre les boulons et l’arbalétrier (ou le poteau) pour tous les boulons reliant la cornière à l’arbalétrier (ou le poteau). |
|
Type d'assemblage |
Lieu de montage des boulons. |
Assemblage de boulon
Les cases à cocher activées définissent les objets du composant (boulons, rondelles et écrous) utilisés dans l'assemblage de boulon.
Si vous voulez créer uniquement un trou, désactivez toutes les cases à cocher.
Pour modifier l'assemblage de boulons d'un composant existant, activez la case à cocher A modifier et cliquez sur Modifier.
Dimensions du groupe de boulons de l'arbalétrier (ou du poteau)
Pour définir les dimensions du groupe de boulons d’arbalétrier (du poteau), commencez par boulonner l'attache sur l'arbalétrier (ou sur le poteau).


| Description | |
|---|---|
|
1 |
Ecartement horizontal des boulons. |
|
2 |
Diamètre des boulons reliant l'attache sur l’arbalétrier (ou sur le poteau). |
|
3 |
Décalage de l'attache par rapport à l’axe central de l’arbalétrier (ou sur le poteau). |
|
4 |
Quantité de boulons. |
|
5 |
Ecartement des boulons. Utilisez un espace pour séparer les valeurs d'écartement des boulons. Entrez une valeur pour chaque écartement entre les boulons. Par exemple, s'il y a trois boulons, entrez deux valeurs. |
|
6 |
Pince de la platine. La pince représente la distance entre le centre d'un boulon et l'arête de la pièce. |
Orientation de la cornière
| Option | Description |
|---|---|
|
|
Défaut L’axe central de la cornière est parallèle à l’arbalétrier (ou au poteau). Autodéfauts permet de modifier cette option. |
|
|
L’axe central de la cornière est parallèle à l’arbalétrier (ou au poteau). |
|
|
L’axe central de la cornière est vertical par rapport à l’arbalétrier (ou au poteau). |
|
|
L’axe central de la cornière est parallèle à l’arbalétrier (ou au poteau). Un raidisseur est créé. Définissez les dimensions des coupes du raidisseur. |
|
|
L’axe central de la cornière est vertical par rapport à l’arbalétrier (ou au poteau). Un raidisseur sans chanfreins est créé. |
Dimensions des coupes du raidisseur
Définissez les dimensions des raidisseurs avec et sans chanfrein.

| Description | |
|---|---|
|
1 |
Dimension du chanfrein vertical |
|
2 |
Dimension du chanfrein horizontal |
|
3 |
Dimension horizontale de la coupe |
|
4 |
Dimension verticale de la coupe |

| Description | |
|---|---|
|
1 |
Distance horizontale |
|
2 |
Distance verticale |
Emplacement de la cornière
| Option | Description |
|---|---|
|
|
Défaut La cornière est fixée à l’avant de la panne. Tekla Structures positionne la cornière en fonction du profil de panne (ou de lisse) utilisé. Autodéfauts permet de modifier cette option. |
|
|
La cornière est fixée à l’avant de la panne. |
|
|
La cornière est fixée à l’arrière de la panne (ou de la lisse). |
Fixation de la cornière
| Option | Description |
|---|---|
|
|
Défaut La cornière est soudée sur l’arbalétrier (ou le poteau). Autodéfauts permet de modifier cette option. |
|
|
La cornière est boulonnée sur l’arbalétrier (ou le poteau). |
|
|
La cornière est soudée sur l’arbalétrier (ou le poteau). |
Onglet Bracons
Utilisez l’onglet Bracons pour créer et définir les propriétés des bracons, des plats et des boulons de bracons.
Pièces
| Option | Description |
|---|---|
|
Profil bracon |
Sélectionnez le profil dans le catalogue de profils. |
|
Plat bracon |
Épaisseur, largeur et hauteur du plat de bracon. |
|
Angle bracon |
Angle de bracon. |
|
Option |
Description |
Défaut |
|---|---|---|
|
Repère |
Préfixe et numéro de début pour le repère de la pièce. Certains composants possèdent une deuxième ligne de champs où vous pouvez entrer le repère de l'assemblage. |
Le numéro de début de pièce par défaut est défini dans les paramètres Composants sous . |
|
Matériau |
Qualité de matériau. |
Le matériau par défaut est défini dans la zone Matériau dans les paramètres Composants sous . |
|
Nom |
Nom à afficher dans les dessins et les listes. |
|
|
Finition |
Décrit le traitement de surface de la pièce. |
Propriétés des boulons
| Option | Description |
|---|---|
|
Std bl. Panne-Bracon Std bl. Arbalétrier-Bracon |
Sélectionnez le standard de boulon pour les boulons qui relient les bracons d'arbalétrier (ou de poteau) aux pannes (ou lisses). |
|
Tol bl. Panne-Bracon Tol bl. Arbalétrier-Bracon |
Définissez le jeu entre les boulons et les trous pour les boulons reliant les bracons d'arbalétrier (ou de poteau) aux pannes (ou lisses). |
|
Rotation bracon |
Définissez la rotation du bracon. |
Emplacement des bracons
| Option | Description |
|---|---|
|
|
Défaut Aucun bracon n'est créé. Autodéfauts permet de modifier cette option. |
|
|
Aucun bracon n'est créé. |
|
|
Des bracons sont créés des deux côtés. Des plats de bracon sont créés. |
|
|
Le bracon est créé sur la droite. Le plat de bracon est créé. |
|
|
Le bracon est créé sur la gauche. Le plat de bracon est créé. |
|
|
Le bracon est créé sur la droite. Des plats de bracon sont créés des deux côtés. |
|
|
Le bracon est créé sur la gauche. Des plats de bracon sont créés des deux côtés. |
|
|
Les trous sont créés. Aucun bracon ni plat de bracon n'est créé. |
Attache des bracons
| Option | Description |
|---|---|
|
|
Défaut Le bracon est attaché sur l'âme de la panne (ou de la lisse) en bas. Autodéfauts permet de modifier cette option. |
|
|
Le bracon est attaché sur l'âme de la panne (ou de la lisse) en haut. |
|
|
Le bracon est attaché sur l'âme de la panne (ou de la lisse) à mi-hauteur. |
|
|
Le bracon est attaché sur l'âme de la panne (ou de la lisse) en bas. |
Création du trou/boulon dans le bracon
| Option | Description |
|---|---|
|
|
Défaut Un trou ou boulon dans l’arbalétrier. Autodéfauts permet de modifier cette option. |
|
|
Un trou ou boulon dans l’arbalétrier. |
|
|
Lorsque le trou ou le boulon du bracon est placé à une certaine distance, définie en d, d’un autre trou ou boulon déjà existant dans l'arbalétrier (ou le poteau), ils sont fusionnés. La distance d est définie dans le fichier overlap.dat. |
Fixation du plat de bracon au niveau d'un jarret
| Option | Description |
|---|---|
|
|
Défaut Les plats de bracon sont attachés sur les jarrets. Autodéfauts permet de modifier cette option. |
|
|
Les plats de bracon sont attachés sur les arbalétriers. Vous devez appliquer l'attache au-dessus d'un jarret. |
|
|
Les plats de bracon sont attachés sur les jarrets. |
Boulons de bracon

| Description | |
|---|---|
|
1 |
Pince de la platine. La pince représente la distance entre le centre d'un boulon et l'arête de la pièce. |
|
2 |
Pince de la platine. La pince représente la distance entre le centre d'un boulon et l'arête de la pièce. |
|
3 |
Quantité de boulons. |
|
4 |
Ecartement des boulons. Utilisez un espace pour séparer les valeurs d'écartement des boulons. Entrez une valeur pour chaque écartement entre les boulons. Par exemple, s'il y a trois boulons, entrez deux valeurs. |
|
5 |
Distance entre le boulon et le bord du bracon. |
|
6 |
Distance du boulon de bracon par rapport à l'axe de l'arbalétrier (ou du poteau). |
|
7 |
Distance entre le plat de bracon et l'arbalétrier (ou le poteau). |
|
8 |
Diamètre du boulon. |
Dimensions des chanfreins

| Description | |
|---|---|
|
1 |
Dimension du chanfrein vertical |
|
2 |
Dimension du chanfrein horizontal |
Forme chanfrein
| Option | Description |
|---|---|
|
|
Défaut Chanfrein droit Autodéfauts permet de modifier cette option. |
|
|
Pas de chanfrein |
|
|
Chanfrein droit |
|
|
Chanfrein convexe |
|
|
Chanfrein concave |
Onglet Boulons
Utilisez l’onglet Boulons pour définir les dimensions du groupe de boulons et les propriétés des boulons reliant les cornières aux pannes (ou aux lisses).
Dimensions du groupe de boulons

| Description | |
|---|---|
|
1 |
Dimension de la position verticale du groupe de boulons. |
|
2 |
Pince de la platine. La pince représente la distance entre le centre d'un boulon et l'arête de la pièce. |
|
3 |
Quantité de boulons. |
|
4 |
Ecartement des boulons. Utilisez un espace pour séparer les valeurs d'écartement des boulons. Entrez une valeur pour chaque écartement entre les boulons. Par exemple, s'il y a trois boulons, entrez deux valeurs. |

| Description | |
|---|---|
|
1 |
Dimension de la position horizontale du groupe de boulons. |
|
2 |
Pince de la platine. La pince représente la distance entre le centre d'un boulon et l'arête de la pièce. |
|
3 |
Ecartement des boulons. |
Propriétés de base des boulons
|
Option |
Description |
Défaut |
|---|---|---|
|
Diamètre boulon |
Diamètre du boulon. |
Les longueurs disponibles sont définies dans le catalogue d'assemblages de boulons. |
|
Standard boulon |
Standard boulon à utiliser dans le composant. |
Les standards disponibles sont définis dans le catalogue d'assemblages de boulons. |
|
Tolérance |
Jeu entre le boulon et le trou. |
|
|
Filet dans matière |
Définit si le filet peut se trouver à l'intérieur des pièces boulonnées lorsque des boulons sont utilisés avec un axe. Ceci n'a aucun effet si vous utilisez des boulons entièrement filetés. |
Oui |
|
Montage/Atelier |
Lieu de montage des boulons. |
Site |
Trous oblongs
Vous pouvez définir des trous oblongs, surdimensionnés ou taraudés.
|
Option |
Description |
Défaut |
|---|---|---|
|
1 |
Cotation verticale du trou oblong. |
0, ce qui équivaut à un trou rond. |
|
2 |
Cotation horizontale du trou oblong ou tolérance des trous surdimensionnés. |
0, ce qui équivaut à un trou rond. |
|
Type trou |
L'option Oblong crée des trous oblongs. L'option Surdimensionné crée des trous surdimensionnés. Aucun trou ne crée pas de trous. Taraudé crée des trous taraudés. |
|
|
Rotation oblongs |
Si le trou est de type Oblong, cette option fait pivoter les trous oblongs. |
|
|
Oblongs dans |
Pièce(s) dans la(es)quelle(s) les trous oblongs sont créés. Les options dépendent du composant. |
Assemblage de boulon
Les cases à cocher activées définissent les objets du composant (boulons, rondelles et écrous) utilisés dans l'assemblage de boulon.
Si vous voulez créer uniquement un trou, désactivez toutes les cases à cocher.
Pour modifier l'assemblage de boulons d'un composant existant, activez la case à cocher A modifier et cliquez sur Modifier.
Augmentation de la longueur de boulon
Définit l'augmentation de la longueur du boulon. Utilisez cette option lorsque, par exemple, la peinture nécessite l'augmentation de la longueur du boulon.
Orientation des boulons
| Option | Description |
|---|---|
|
|
Défaut Les boulons sont placés perpendiculairement à la pièce principale. Autodéfauts permet de modifier cette option. |
|
|
Les boulons sont placés perpendiculairement à la pièce principale. |
|
|
Les boulons sont placés perpendiculairement à la pièce secondaire. |
Perçages
| Option | Description |
|---|---|
|
|
Défaut Aucun perçage n’est créé. Autodéfauts permet de modifier cette option. |
|
|
Aucun perçage n’est créé. |
|
|
Des perçages sont créés sur les ailes de l'arbalétrier (ou du poteau) au droit des pignons. |
Boulons de recouvrement
| Option | Description |
|---|---|
|
|
Défaut Les boulons de recouvrement sont créés sur les ailes. Autodéfauts permet de modifier cette option. |
|
|
Les boulons de recouvrement sont créés sur les ailes. |
|
|
Les boulons de recouvrement sont créés sur l'âme. |
Création de recouvrement
| Option | Description |
|---|---|
|
|
Défaut Le recouvrement est créé. Autodéfauts permet de modifier cette option. |
|
|
Automatique Le recouvrement est créé. |
|
|
Le recouvrement est créé. |
|
|
Aucun recouvrement n’est créé. |
Onglet Général
Pour en savoir plus, cliquez sur le lien ci-dessous :
Onglet Analyse
Pour en savoir plus, cliquez sur le lien ci-dessous :
Soudures
Pour en savoir plus, cliquez sur le lien ci-dessous :
















































