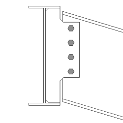
Plat soudé âme-aile sup.(185)
Plat soudé âme-aile sup.(185) relie deux poutres avec un plat de cisaillement complet. Le plat de cisaillement est soudé à l'âme et aux ailes de la poutre principale, et boulonné à l'âme de la poutre secondaire. La poutre secondaire peut être au même niveau ou inclinée. Le raidisseur vertical situé à l'opposé de l'âme de la poutre principale et les jarrets soudés sur les ailes de la poutre secondaire sont facultatifs.
Objets créés
-
Plats de cisaillement (1 ou 2)
-
Raidisseur (facultatif)
-
Jarrets (facultatif)
-
Plats supports soudés (facultatif)
-
Boulons
-
Soudures
-
Coupes
Utilisation
|
Situation |
Description |
|---|---|
|
|
Plat de cisaillement complet. |
|
|
Plat de cisaillement complet. La pièce secondaire est inclinée. |
|
|
Plat de cisaillement complet. La pièce secondaire est inclinée et en biais. |
|
|
Plat de cisaillement complet. La pièce secondaire est décalée. Certains boulons ont été supprimés. |
Ordre de sélection
-
Sélectionnez la pièce principale (poutre).
-
Sélectionnez la pièce secondaire (poutre).
L'attache est créée automatiquement lorsque la pièce secondaire est sélectionnée.
Clé d'identification de pièce
|
Pièce |
|
|---|---|
|
1 |
Plat de cisaillement |
|
2 |
Jarret |
Tekla Structures utilise les valeurs dans le fichier joints.def pour créer ce composant.
Onglet Graphique
Utilisez l'onglet Graphique pour paramétrer la position du plat de cisaillement, de l'aile de la poutre et des coupes de l'âme.
Dimensions

|
Description |
Défaut |
|
|---|---|---|
|
1 |
Pince du plat de cisaillement depuis l'arête de l'aile de la pièce principale. |
0 |
|
2 |
Pince du plat de cisaillement depuis l'arête de l'aile de la pièce principale. |
0 |
|
3 |
Coupe de la pièce secondaire. La coupe de la pièce secondaire crée un jeu entre la pièce principale et la pièce secondaire. |
20 mm |
|
4 |
Taille de la découpe de l’aile de la pièce secondaire. La coupe de l'aile est définie à partir de l'arête du plat de cisaillement. |
L'aile est automatiquement découpée lorsque le plat de cisaillement traverse l'aile. 20 mm |
|
5 |
Jeu entre l'âme de la pièce principale et le plat de cisaillement. |
Coupe à l'extrémité de la poutre
Définit la coupe de l'extrémité de la poutre secondaire. La poutre est vue de côté.
|
Option |
Description |
|---|---|
|
|
Défaut Biais Autodéfauts permet de modifier cette option. |
|
|
Automatique Si la poutre secondaire est inclinée de moins de 10 degrés, l'extrémité de la poutre est coupée perpendiculairement. Sinon, l'extrémité de la poutre est coupée en biais. |
|
|
Perpendiculaire Effectue une coupe perpendiculaire sur l'extrémité de la poutre secondaire. |
|
|
Biais Coupe l'extrémité de la poutre secondaire parallèlement à l'arête de la pièce principale. |
|
|
Coupe droite au plus proche de l'âme de la pièce principale Effectue une coupe perpendiculaire sur l'extrémité de la poutre secondaire et place la poutre au plus proche de l'âme de la pièce principale. |
|
|
Aile coupée Coupe l'angle de l'aile à l'extrémité de la poutre secondaire. |
Coupe de l'âme de la poutre
Définit la découpe de l'extrémité de l'âme de la poutre secondaire. La poutre est vue du dessus.
|
Option |
Description |
|---|---|
|
|
Défaut Biais Autodéfauts permet de modifier cette option. |
|
|
Biais Effectue une coupe biaise à l'extrémité de l'âme lorsque l'extrémité de la poutre secondaire est coupée de biais. |
|
|
Droite Effectue une coupe droite à l'extrémité de l'âme même si l'extrémité de la poutre secondaire est coupée de biais. |
Coupe de l'aile de la poutre
Définit la découpe de l'extrémité de l'aile de la poutre secondaire. La poutre est vue du dessus.
|
Option |
Description |
|---|---|
|
|
Défaut Biais Autodéfauts permet de modifier cette option. |
|
|
Biais Effectue une coupe biaise sur l'extrémité de l'aile. |
|
|
Droite Effectue une coupe droite sur une partie de l'aile, et laisse l'autre partie de biais. |
Coupe de l'aile inférieure de la poutre
|
Option |
Description |
|---|---|
|
|
Défaut Coupe de l'aile Autodéfauts permet de modifier cette option. |
|
|
Grugeage La partie inférieure de la poutre secondaire est grugée si le plat de cisaillement traverse l'aile. Entrez le rayon et la hauteur de grugeage. |
|
|
Coupe de l'aile L'aile de la poutre secondaire est coupée du même côté que le plat de cisaillement si celui-ci traverse l'aile. |
Onglet Plats
Utilisez l'onglet Plats pour paramétrer la dimension, la position, le repérage et la forme du plat de cisaillement.
Plat de cisaillement soudé-boulonné
| Option | Description |
|---|---|
|
Plat soudé-boul. |
Épaisseur, largeur et hauteur du plat de cisaillement. |
|
Option |
Description |
Défaut |
|---|---|---|
|
Repère |
Préfixe et numéro de début pour le repère de la pièce. Certains composants possèdent une deuxième ligne de champs où vous pouvez entrer le repère de l'assemblage. |
Le numéro de début de pièce par défaut est défini dans les paramètres Composants sous . |
|
Matériau |
Qualité de matériau. |
Le matériau par défaut est défini dans la zone Matériau dans les paramètres Composants sous . |
|
Nom |
Nom à afficher dans les dessins et les listes. |
|
|
Finition |
Décrit le traitement de surface de la pièce. |
Chanfreins du plat de cisaillement

| Description | |
|---|---|
|
1 |
Dimension horizontale du chanfrein du plat de cisaillement. |
|
2 |
Dimension verticale du chanfrein du plat de cisaillement. |
|
3 |
Dimensions horizontale et verticale du chanfrein de plat de cisaillement. |
Type chanfrein
|
Option |
Description |
|---|---|
|
|
Défaut Chanfrein droit Autodéfauts permet de modifier cette option. |
|
|
Pas de chanfrein |
|
|
Chanfrein droit |
|
|
Chanfrein en arc convexe |
|
|
Chanfrein en arc concave |
Cotations du type de chanfrein
|
Option |
Description |
|---|---|
|
|
Défaut Chanfrein droit Autodéfauts permet de modifier cette option. |
|
|
Pas de chanfrein |
|
|
Chanfrein droit |
|
|
Chanfrein en arc concave |
Chanfreins intérieurs du plat de cisaillement
|
Description |
|
|---|---|
|
1 |
Dimension horizontale du chanfrein du plat de cisaillement. |
|
2 |
Dimension verticale du chanfrein du plat de cisaillement. |
|
3 |
Rayon et dimensions verticales du chanfrein intérieur du plat de cisaillement. |
Type chanfrein
|
Option |
Option |
Description |
|---|---|---|
|
|
|
Défaut Pas de chanfrein Autodéfauts permet de modifier cette option. |
|
|
|
Pas de chanfrein |
|
|
|
Chanfrein droit |
|
|
|
Chanfrein en arc convexe |
|
|
|
Chanfrein en arc concave |
Type de chanfrein intérieur
|
Option |
Description |
|---|---|
|
|
Défaut Chanfrein en arc concave Autodéfauts permet de modifier cette option. |
|
|
Pas de chanfrein |
|
|
Chanfrein droit |
|
|
Chanfrein en arc concave |
|
|
Chanfrein en arc convexe |
Position du plat de cisaillement
Définit le nombre et le côté des plats de cisaillement dans des joints de plats de cisaillement uniques.
|
Option |
Description |
|---|---|
|
|
Défaut Plat de cisaillement arrière Autodéfauts permet de modifier cette option. |
|
|
Automatique Le composant sélectionne automatiquement un plat de cisaillement avant ou arrière. Le plat est créé sur le côté de la pièce secondaire lorsque l'angle entre la pièce principale et la pièce secondaire est inférieur à 90 degrés. |
|
|
Plat de cisaillement arrière |
|
|
Plat de cisaillement avant et arrière |
|
|
Plat de cisaillement avant |
Ecart entre les différents plats de cisaillement

| Description | Défaut | |
|---|---|---|
|
1 |
Ecart entre l'âme de la pièce secondaire et le plat de cisaillement. |
0 |
Coupe à l'extrémité du plat de cisaillement
|
Option |
Description |
|---|---|
|
|
Défaut L'extrémité du plat de cisaillement n'est pas coupée. Autodéfauts permet de modifier cette option. |
|
|
Carré L'extrémité du plat de cisaillement n'est pas coupée. |
|
|
Biais L'extrémité du plat de cisaillement est coupée parallèlement à l'âme de la pièce principale. |
Orientation du plat de cisaillement
|
Option |
Description |
|---|---|
|
|
Défaut Carré Autodéfauts permet de modifier cette option. |
|
|
Automatique Carré |
|
|
Incliné Le plat de cisaillement est incliné dans la direction de la poutre secondaire. Les deux arêtes verticales du plat de cisaillement sont coupées parallèlement à l'extrémité de la poutre secondaire. |
|
|
Carré |
Onglet Raidisseurs
Utilisez l'onglet Raidisseurs pour définir les dimensions, l'orientation, la position et le type de raidisseur.
Dimensions du plat raidisseur d'âme
| Option | Description |
|---|---|
|
Raidisseur âme |
Epaisseur, largeur et hauteur du raidisseur d’âme. |
|
Option |
Description |
Défaut |
|---|---|---|
|
Repère |
Préfixe et numéro de début pour le repère de la pièce. Certains composants possèdent une deuxième ligne de champs où vous pouvez entrer le repère de l'assemblage. |
Le numéro de début de pièce par défaut est défini dans les paramètres Composants sous . |
|
Matériau |
Qualité de matériau. |
Le matériau par défaut est défini dans la zone Matériau dans les paramètres Composants sous . |
|
Nom |
Nom à afficher dans les dessins et les listes. |
|
|
Finition |
Décrit le traitement de surface de la pièce. |
Création d’un raidisseur
|
Option |
Description |
|---|---|
|
|
Défaut Aucun raidisseur n'est créé. Autodéfauts permet de modifier cette option. |
|
|
Tout Crée un raidisseur complet de la même hauteur que l'âme de la pièce principale. |
|
|
Déterminé par le plat de cisaillement Tekla Structures détermine la taille du raidisseur en fonction de la taille du plat de cisaillement. Tekla Structures conserve les arêtes inférieures du raidisseur vertical et le niveau du plat de cisaillement, si possible. |
|
|
Partiel Laisse un jeu entre le raidisseur vertical et l'aile inférieure de la pièce principale. |
|
|
Aucun raidisseur n'est créé. |
Jeu du raidisseur

| Description | |
|---|---|
|
1 |
Taille du jeu entre l'aile de la pièce principale et le raidisseur. |
|
2 |
Distance entre le bord de l'aile de la pièce principale et le bord du raidisseur. |
|
3 |
Jeu entre le raidisseur d’âme et l’âme de la pièce principale. |
Orientation du raidisseur
|
Option |
Description |
|---|---|
|
|
Défaut Les raidisseurs sont parallèles à la pièce secondaire. Autodéfauts permet de modifier cette option. |
|
|
Les raidisseurs sont perpendiculaires à la pièce principale. |
|
|
Les raidisseurs sont parallèles à la pièce secondaire. |
Dimensions du chanfrein
|
Description |
|
|---|---|
|
1 |
Dimension horizontale du chanfrein. |
|
2 |
Dimension verticale du chanfrein. |
Type chanfrein
|
Option |
Description |
|---|---|
|
|
Défaut Chanfrein droit Autodéfauts permet de modifier cette option. |
|
|
Pas de chanfrein |
|
|
Chanfrein droit |
|
|
Chanfrein en arc convexe |
|
|
Chanfrein en arc concave |
Décalage du raidisseur d’âme
Définit le décalage du raidisseur d’âme par rapport à l’axe central du plat de cisaillement.
Onglet Jarret
Utilisez l'onglet Jarret pour définir la création des jarrets et des chanfreins sur les ailes de la poutre secondaire.
Jarrets
| Option | Description |
|---|---|
|
Coiffe |
Épaisseur, largeur et hauteur du plat supérieur. |
|
Plat inférieur |
Épaisseur, largeur et hauteur du plat inférieur. |
|
Option |
Description |
Défaut |
|---|---|---|
|
Repère |
Préfixe et numéro de début pour le repère de la pièce. Certains composants possèdent une deuxième ligne de champs où vous pouvez entrer le repère de l'assemblage. |
Le numéro de début de pièce par défaut est défini dans les paramètres Composants sous . |
|
Matériau |
Qualité de matériau. |
Le matériau par défaut est défini dans la zone Matériau dans les paramètres Composants sous . |
|
Nom |
Nom à afficher dans les dessins et les listes. |
|
|
Finition |
Décrit le traitement de surface de la pièce. |
Chanfreins du jarret

|
Description |
|
|---|---|
|
1 |
Largeur du chanfrein du plat de jarret supérieur. |
|
2 |
Hauteur du chanfrein du plat de jarret supérieur. |
|
3 |
Hauteur du chanfrein du plat de jarret inférieur. |
|
4 |
Largeur du chanfrein du plat de jarret inférieur. |
Création d'un jarret
|
Option |
Description |
|---|---|
|
|
Valeur par défaut Les jarrets inférieur et supérieur sont créés, le cas échéant. La valeur Autodéfaut peut modifier cette option. |
|
|
Automatique Les jarrets inférieur ou supérieur ou les deux sont créés, le cas échéant. |
|
|
Les jarrets inférieur et supérieur sont créés. Pour créer un seul plat, entrez 0 dans le champ relatif à l'épaisseur (t) pour le plat dont vous n'avez pas besoin (plat inférieur ou supérieur). |
|
|
Aucun jarret n'est créé. |
Onglet Grugeage
Les options de l'onglet Grugeage créent automatiquement des grugeages pour la poutre secondaire et définissent également leurs propriétés. L'onglet Grugeage comporte deux parties : les propriétés automatiques (partie supérieure) et les propriétés manuelles (partie inférieure). Les propriétés de grugeage automatique et manuel fonctionnent indépendamment les unes des autres.
Grugeage automatique
Les options de grugeage automatique affectent les ailes inférieure et supérieure.
Forme de grugeage
Le grugeage automatique est activé lorsque vous sélectionnez une forme de grugeage.
|
Option |
Description |
|---|---|
|
|
Défaut Crée des grugeages pour la poutre secondaire. Autodéfauts permet de modifier cette option. |
|
|
Crée des grugeages pour la poutre secondaire. Les coupes sont perpendiculaires à l'âme de la poutre principale. |
|
|
Crée des grugeages pour la poutre secondaire. Les coupes sont perpendiculaires à l'âme de la poutre secondaire. |
|
|
Crée des grugeages pour la poutre secondaire. La coupe verticale est perpendiculaire à la poutre principale tandis que la coupe horizontale est perpendiculaire à la poutre secondaire. |
|
|
Désactive le grugeage automatique. |
Dimension du grugeage
|
Option |
Description |
|---|---|
|
|
Défaut La dimension du grugeage est mesurée du bord de l'aile de la poutre principale et à partir du dessous de l'aile supérieure de la poutre principale. Autodéfauts permet de modifier cette option. |
|
|
La dimension du grugeage est mesurée du bord de l'aile de la poutre principale et à partir du dessous de l'aile supérieure de la poutre principale. |
|
|
La dimension du grugeage est mesurée depuis l'axe central de la poutre principale et à partir du dessous de l'aile supérieure de la poutre principale. |
Entrez les valeurs horizontales et verticales de la coupe.
Forme de la coupe de l'aile
|
Option |
Description |
|---|---|
|
|
Défaut L'aile de la poutre secondaire est coupée parallèlement à la poutre principale. Autodéfauts permet de modifier cette option. |
|
|
L'aile de la poutre secondaire est coupée parallèlement à la poutre principale. |
|
|
L'aile de la poutre secondaire est coupée perpendiculairement. |
Arrondi des dimensions du grugeage
Utilisez les options d'arrondi du grugeage pour spécifier si les dimensions du grugeage sont arrondies à la valeur supérieure. Même si l'option d'arrondi est activée, les dimensions du grugeage sont arrondies à la valeur supérieure uniquement si nécessaire.
|
Option |
Description |
|---|---|
|
|
Défaut Les dimensions de grugeage ne sont pas arrondies. Autodéfauts permet de modifier cette option. |
|
|
Les dimensions de grugeage ne sont pas arrondies. |
|
|
Les dimensions de grugeage sont arrondies. Entrez les valeurs d'arrondi horizontal et vertical. |
Les dimensions sont arrondies au multiple supérieur le plus proche de la valeur entrée. Par exemple, si la dimension réelle est 51 et que vous entrez une valeur d'arrondi de 10, la dimension est arrondie à 60.
Position du grugeage
|
Option |
Description |
|---|---|
|
|
Défaut Crée la coupe sous l'aile de la poutre principale. Autodéfauts permet de modifier cette option. |
|
|
Crée la coupe sous l'aile de la poutre principale. |
|
|
Crée la coupe au-dessus de l'aile de la poutre principale. |
Chanfrein de grugeage
|
Option |
Description |
|---|---|
|
|
Défaut Le grugeage n'est pas chanfreiné. Autodéfauts permet de modifier cette option. |
|
|
Le grugeage n'est pas chanfreiné. |
|
|
Crée le grugeage avec un chanfrein droit. |
|
|
Le grugeage est chanfreiné en fonction du rayon que vous entrez. |
Entrez un rayon pour le chanfrein.
Grugeage manuel
Utilisez le grugeage manuel lorsqu'une pièce n'appartenant pas à l'attache est en collision avec la poutre secondaire. Lorsque vous utilisez le grugeage manuel, le joint crée des coupes à l'aide des valeurs entrées dans les champs de l'onglet Grugeage. Vous pouvez utiliser des valeurs différentes pour les ailes supérieure et inférieure.
Côté de grugeage de l'aile
Le côté de grugeage de l'aile définit le côté de la poutre sur lequel sont créés les grugeages.
|
Option |
Description |
|---|---|
|
|
Défaut Crée des grugeages sur les deux côtés de l'aile. Autodéfauts permet de modifier cette option. |
|
|
Automatique Crée des grugeages sur les deux côtés de l'aile. |
|
|
Crée des grugeages sur les deux côtés de l'aile. |
|
|
Crée des grugeages à l'avant de l'aile. |
|
|
Crée des grugeages à l'arrière de l'aile. |
Forme du grugeage de l'aile
La forme du grugeage de l'aile définit la forme du grugeage de l'aile de la poutre.
|
Option |
Description |
|---|---|
|
|
Défaut L'aile de la poutre secondaire est entièrement coupée vers l'arrière de la longueur que vous définissez. Autodéfauts permet de modifier cette option. |
|
|
Automatique L'aile de la poutre secondaire est entièrement coupée vers l'arrière de la longueur que vous définissez. La profondeur par défaut du grugeage représente deux fois l'épaisseur de l'aile. La coupe s'effectue toujours sur l'intégralité de la largeur de l'aile de la secondaire. |
|
|
Crée des chanfreins sur l'aile. Si vous n'entrez pas de dimension horizontale, un chanfrein à 45 degrés est créé. |
|
|
Crée des coupes au niveau de l'aile avec des valeurs par défaut, sauf si vous entrez des valeurs dans les champs 1et 2. |
|
|
La coupe de l'aile n'est pas effectuée. |
|
|
Crée des coupes au niveau de l'aile en fonction de la valeur entrée dans le champ 1 pour l'aligner sur l'âme. |
|
|
Crée des coupes au niveau de l'aile en fonction des valeurs des champs 1 et 2. |
Profondeur du grugeage de l'aile
|
Option |
Description |
|---|---|
|
|
Défaut Profondeur du grugeage de l'aile. Autodéfauts permet de modifier cette option. |
|
|
Profondeur du grugeage de l'aile. |
|
|
Profondeur du grugeage de l'aile avec la dimension comprise entre l'axe central de l'âme de la poutre secondaire et le bord du grugeage. |
Entrez la valeur de la profondeur du grugeage de l'aile.
Cotations de coupe
|
Description |
Défaut |
|
|---|---|---|
|
1 |
Dimensions des coupes de l'aile horizontale. |
5 mm |
|
2 |
Dimensions des coupes de l'aile verticale. |
Le jeu entre le bord du grugeage et l'aile de la poutre est égal à l'arrondi de l'âme de la pièce principale. La hauteur du grugeage est arrondie à la valeur supérieure de 5 mm la plus proche. |
Dimension de l'âme à la coupe de l'aile
|
Description |
|
|---|---|
|
1 |
Définit la distance entre l'âme et la coupe de l'aile. |
Onglet Boulons
Utilisez l'onglet Boulons pour paramétrer les propriétés des boulons qui relient le plat de cisaillement à la pièce secondaire.
Dimensions du groupe de boulons
Les dimensions du groupe de boulons affectent la dimension et la forme du plat de cisaillement.
|
Description |
|
|---|---|
|
1 |
Dimension de la position horizontale du groupe de boulons. |
|
2 |
Pince de la platine. La pince représente la distance entre le centre d'un boulon et l'arête de la pièce. |
|
3 |
Quantité de boulons. |
|
4 |
Ecartement des boulons. Utilisez un espace pour séparer les valeurs d'écartement des boulons. Entrez une valeur pour chaque écartement entre les boulons. Par exemple, s'il y a trois boulons, entrez deux valeurs. |
|
5 |
Dimension de la position verticale du groupe de boulons. |
|
6 |
Sélectionnez la manière dont les dimensions doivent être comptées pour la position verticale du groupe de boulons.
|
|
7 |
Définit les boulons supprimés du groupe de boulons. Entrez les numéros des boulons à supprimer et séparez-les par un espace. Les boulons sont numérotés de gauche à droite et de haut en bas. |
Disposition des boulons en quinconce
|
Option |
Description |
|---|---|
|
|
Défaut Pas de quinconce Autodéfauts permet de modifier cette option. |
|
|
Pas de quinconce |
|
|
Type de quinconce 1 |
|
|
Type de quinconce 2 |
|
|
Type de quinconce 3 |
|
|
Type de quinconce 4 |
Orientation du groupe de boulons
|
Option |
Description |
|---|---|
|
|
Défaut Carré Autodéfauts permet de modifier cette option. |
|
|
Automatique Carré |
|
|
Quinconce Les boulons sont placés en quinconce vers la pièce secondaire. |
|
|
Carré Le groupe de boulons est positionné horizontalement. |
|
|
Incliné Le groupe de boulons est incliné selon la pièce secondaire. |
Propriétés de base des boulons
|
Option |
Description |
Défaut |
|---|---|---|
|
Diamètre boulon |
Diamètre du boulon. |
Les longueurs disponibles sont définies dans le catalogue d'assemblages de boulons. |
|
Standard boulon |
Standard boulon à utiliser dans le composant. |
Les standards disponibles sont définis dans le catalogue d'assemblages de boulons. |
|
Tolérance |
Jeu entre le boulon et le trou. |
|
|
Filet dans matière |
Définit si le filet peut se trouver à l'intérieur des pièces boulonnées lorsque des boulons sont utilisés avec un axe. Ceci n'a aucun effet si vous utilisez des boulons entièrement filetés. |
Oui |
|
Montage/Atelier |
Lieu de montage des boulons. |
Site |
Trous oblongs
Vous pouvez définir des trous oblongs, surdimensionnés ou taraudés.
|
Option |
Description |
Défaut |
|---|---|---|
|
1 |
Cotation verticale du trou oblong. |
0, ce qui équivaut à un trou rond. |
|
2 |
Cotation horizontale du trou oblong ou tolérance des trous surdimensionnés. |
0, ce qui équivaut à un trou rond. |
|
Type trou |
L'option Oblong crée des trous oblongs. L'option Surdimensionné crée des trous surdimensionnés. Aucun trou ne crée pas de trous. Taraudé crée des trous taraudés. |
|
|
Rotation oblongs |
Si le trou est de type Oblong, cette option fait pivoter les trous oblongs. |
|
|
Oblongs dans |
Pièce(s) dans la(es)quelle(s) les trous oblongs sont créés. Les options dépendent du composant. |
Assemblage de boulon
Les cases à cocher activées définissent les objets du composant (boulons, rondelles et écrous) utilisés dans l'assemblage de boulon.
Si vous voulez créer uniquement un trou, désactivez toutes les cases à cocher.
Pour modifier l'assemblage de boulons d'un composant existant, activez la case à cocher A modifier et cliquez sur Modifier.
Augmentation de la longueur de boulon
Définit l'augmentation de la longueur du boulon. Utilisez cette option lorsque, par exemple, la peinture nécessite l'augmentation de la longueur du boulon.
Sens de boulonnage
|
Option |
Description |
|---|---|
|
|
Par défaut Sens de boulonnage 1 Autodéfauts permet de modifier cette option. |
|
|
Sens de boulonnage 1 |
|
|
Sens de boulonnage 2 |
Onglet Coupes
Utilisez l'onglet Coupes pour définir les plats support de soudure, passages de soudures, préparations des extrémités de poutre et coupes de l'aile.
Plat support soud.
| Option | Description |
|---|---|
|
Plat support soud. |
Epaisseur et largeur du plat support. |
|
Option |
Description |
Défaut |
|---|---|---|
|
Repère |
Préfixe et numéro de début pour le repère de la pièce. Certains composants possèdent une deuxième ligne de champs où vous pouvez entrer le repère de l'assemblage. |
Le numéro de début de pièce par défaut est défini dans les paramètres Composants sous . |
|
Matériau |
Qualité de matériau. |
Le matériau par défaut est défini dans la zone Matériau dans les paramètres Composants sous . |
|
Nom |
Nom à afficher dans les dessins et les listes. |
|
|
Finition |
Décrit le traitement de surface de la pièce. |
Dimensions de la découpe de passage de la soudure
|
Description |
|
|---|---|
|
1 |
Espace entre l'aile supérieure de la pièce secondaire et la pièce principale. |
|
2 |
Dimensions verticales des trous supérieurs et inférieurs pour le passage de la soudure. |
|
3 |
Dimensions horizontales des trous supérieurs et inférieurs pour le passage de la soudure. |
|
4 |
Jeu entre l'âme de la pièce secondaire et la pièce principale. Tekla Structures ajoute la valeur que vous entrez ici dans l'écart que vous entrez sous l'onglet Graphique. |
|
5 |
Jeu entre l'aile inférieure de la pièce secondaire et la pièce principale. Tekla Structures ajoute la valeur que vous entrez ici dans l'écart que vous entrez sous l'onglet Graphique. |
Découpe passage de soudure
|
Option |
Description |
Défaut |
|---|---|---|
|
|
Défaut Découpe arrondie passage de soudure Autodéfauts permet de modifier cette option. |
|
|
|
Découpe arrondie passage de soudure |
|
|
|
Découpe carrée passage de soudure |
|
|
|
Découpe triangulaire passage de soudure |
|
|
|
Découpe arrondie passage de soudure avec un rayon que vous définissez dans |
|
|
|
Découpe de passage de soudure prolongée en forme de cône avec un rayon et des dimensions que vous définissez dans |
|
|
|
Découpe en forme de cône du passage de soudure avec des rayons que vous définissez dans Le R majuscule définit le grand rayon (hauteur). Le r minuscule définit le petit rayon. |
R = 35 r = 10 |
Préparation d'extrémité de poutre
|
Option |
Description |
|---|---|
|
|
Défaut Les ailes supérieure et inférieure sont préparées. Autodéfauts permet de modifier cette option. |
|
|
Automatique Les ailes supérieure et inférieure sont préparées. |
|
|
L'extrémité de poutre n'est pas préparée. |
|
|
Les ailes supérieure et inférieure sont préparées. |
|
|
L'aile supérieure est préparée. |
|
|
L'aile inférieure est préparée. |
Coupe de l'aile
|
Option de l'aile supérieure |
Option de l'aile inférieure |
Description |
|---|---|---|
|
|
|
Défaut La coupe de l'aile n'est pas effectuée. Autodéfauts permet de modifier cette option. |
|
|
|
La coupe de l'aile n'est pas effectuée. |
|
|
|
La coupe de l'aile est effectuée. |
Plats support soudure
|
Option de la barre de support supérieure |
Option du plat de support inférieur |
Description |
|---|---|---|
|
|
|
Défaut Les plats supports sont créés à l'intérieur des ailes. Autodéfauts permet de modifier cette option. |
|
|
|
Aucun plat support n'est créé. |
|
|
|
Les plats supports sont créés à l'intérieur des ailes. |
|
|
|
Les plats supports sont créés à l'extérieur des ailes. |
Longueur du plat de support de soudure
Entrez la longueur du plat de support de soudure dans la zone située en dessous des options.
|
Option |
Description |
|---|---|
|
|
Défaut Longueur absolue du plat support Autodéfauts permet de modifier cette option. |
|
|
Longueur absolue du plat support |
|
|
Prolongement au-delà de l'arête de l'aile |
Position du plat de support de soudure
|
Option |
Description |
|---|---|
|
|
Entrez une valeur positive ou négative pour déplacer l'extrémité avant du plat de support par rapport à l'extrémité de l'aile. |
Type d'assemblage
Définit l'emplacement des soudures du plat de support de soudure. Lorsque vous sélectionnez l'option Atelier, Tekla Structures inclut également les barres de support dans l'assemblage.
Onglet Général
Pour en savoir plus, cliquez sur le lien ci-dessous :
Onglet Vérification résistance
Pour en savoir plus, cliquez sur le lien ci-dessous :
Onglet Analyse
Pour en savoir plus, cliquez sur le lien ci-dessous :
Soudures
Pour en savoir plus, cliquez sur le lien ci-dessous :



