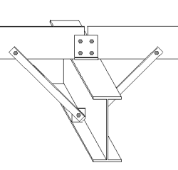
Solape laminado en frío (1)
Solape laminado en frío (1) conecta una o dos correas o barandillas a un dintel o montante. Algunas propiedades de este componente se cargan directamente desde el archivo overlap.dat. Póngase en contacto con su soporte local Tekla Structures si necesita personalizar el componente más de lo que permite el cuadro de diálogo.
Objetos creados
-
Ejión de ángulo
-
Rigidizador
-
Tornapuntas
-
Tornillos
-
Soldaduras
Usar para
Puede utilizar la unión para:
-
Uniones de solape
-
Uniones de tope
-
Unión de barandillas o correas de vano doble
-
Extremos a dos aguas
No se debe utilizar para uniones a dinteles de cubierta que tengan una unión diseñada específicamente.
| Situación | Descripción |
|---|---|
|
|
Unión de dintel de apoyo completo de viga a viga con dos partes secundarias. Unión de placa. |
|
|
Unión de dintel de apoyo completo de viga a viga con dos partes secundarias. Ángulo de unión. |
|
|
Unión de dintel de apoyo completo de viga a viga con dos partes secundarias. Unión de arriostramiento de articulación. |
Antes de comenzar
Cree dos correas a la misma profundidad y con líneas centrales paralelas.
-
Cree las correas usando rotaciones alternas, primero superior, luego inferior, etc.
-
Coloque las correas en la línea central del dintel. Tekla Structures las extenderá automáticamente para formar la superposición requerida.
-
Defina el voladizo del hastial, si es necesario.
Utilice el desplazamiento estándar del fabricante para el ala de la viga.
Estas configuraciones hacen que las correas choquen, por lo que al realizar el control de choques puede excluirlas usando un filtro de selección. Por ejemplo, introduzca PURLIN como un nombre de propiedad en el filtro.
Orden de selección
-
Seleccione la parte principal (dintel o montante).
-
Seleccione las partes secundarias (una o dos correas).
-
Haga clic con el botón central del ratón para crear el componente.
Clave de identificación de parte


| Descripción | |
|---|---|
|
1 |
Ejión angular |
|
2 |
Perfil tornapunta |
|
3 |
Placa tornapunta |
Pestaña Dibujo
Utilice la pestaña Dibujo para definir la posición y las dimensiones y la posición del ejión.
Dimensiones de ejión

| Descripción | |
|---|---|
|
1 |
La altura del ejión se utiliza cuando la línea central del perfil del ejión se encuentra más alta que la línea central del dintel. |
|
2 |
La distancia desde la línea central del ejión hasta el borde de la correa. Esta distancia solo se aplica a los extremos a dos aguas. El valor por defecto es 0 mm. |
|
3 |
Ancho del ejión cuando la línea central del perfil del ejión corre paralela al dintel. |

| Descripción | |
|---|---|
|
1 |
La distancia desde el centro del ejión hasta el centro del dintel. |
|
2 |
Cuando hay dos correas, la distancia desde el centro del ejión hasta el final de la correa. |
Pestaña Ejión
Utilice la pestaña Ejión para definir las propiedades y la posición de los ejiones y rigidizadores, así como de los tornillos de los dinteles y los tornillos de los ejiones en los dinteles.
Partes
| Opción | Descripción |
|---|---|
|
Perfil Ejión |
Seleccione el perfil de la base de datos de perfiles. |
|
Rigidizador |
Define el espesor del rigidizador. |
|
Opción |
Descripción |
Por defecto |
|---|---|---|
|
Pos Núm |
Prefijo y número inicial del número de posición de parte. Algunos componentes tienen una segunda fila de campos en la que se puede especificar el número de posición de conjunto. |
El número inicial de parte por defecto se define en las configuraciones de Componentes en el menú . |
|
Material |
Calidad del material. |
El material por defecto se define en el cuadro Material parte en las configuraciones de Componentes en el menú . |
|
Nombre |
Nombre que aparece en los dibujos e informes. |
Propiedades de tornillo de dintel
| Opción | Descripción |
|---|---|
|
Estándar torn. dintel |
Estándar de tornillo para todos los tornillos que conectan el ejión al dintel. Para definir el estándar de tornillo de dintel y la tolerancia de tornillo de dintel, seleccione que se atornille el ejión al dintel.
|
|
Tol. torn. dintel |
Hueco entre los tornillos y el dintel para todos los tornillos que unen el ejión al dintel. |
|
Tipo conjunto |
Ubicación en la que deben ponerse los tornillos. |
Conjunto tornillos
Las casillas de verificación activadas definen qué objetos del componente (tornillo, arandelas y tuercas) se usarán en el conjunto de tornillos.
Si solamente desea crear un agujero, desactive todas las casillas de verificación.
Para modificar el conjunto de tornillos en un componente existente, active la casilla de verificación Efecto al modificar y haga clic en Modificar.
Dimensiones del grupo de tornillos del ejión al dintel
Para definir las dimensiones del grupo de tornillos del dintel, primero seleccione atornillar el ejión al dintel.


| Descripción | |
|---|---|
|
1 |
Separación horizontal entre tornillos. |
|
2 |
Diámetro de los tornillos que unen el ejión al dintel. |
|
3 |
Desplazamiento del ejión desde la línea central del dintel. |
|
4 |
Número de tornillos. |
|
5 |
Separación entre tornillos. Use un espacio para separar los valores de separación entre tornillos. Especifique un valor para cada separación entre tornillos. Por ejemplo, si hay tres tornillos, introduzca dos valores. |
|
6 |
Distancia al borde de los tornillos. La distancia al borde es la distancia desde el centro de un tornillo hasta el borde de la parte. |
Orientación ejión
| Opción | Descripción |
|---|---|
|
|
Por defecto La línea central del ejión es paralela al dintel. Auto ValoresPorDefecto puede cambiar esta opción. |
|
|
La línea central del perfil del ejión es paralela al dintel. |
|
|
La línea central del perfil del ejión es vertical al dintel. |
|
|
La línea central del ejión es paralela al dintel. Se crea un rigidizador de línea. Defina las dimensiones de corte del rigidizador. |
|
|
La línea central del perfil del ejión es vertical al dintel. Se crea un rigidizador cuadrado. |
Dimensiones de corte del rigidizador
Defina las dimensiones de los rigidizadores de línea o los rigidizadores cuadrados.

| Descripción | |
|---|---|
|
1 |
Dimensión del chaflán vertical |
|
2 |
Dimensión del chaflán horizontal |
|
3 |
Dimensión de corte horizontal |
|
4 |
Dimensión de corte vertical |

| Descripción | |
|---|---|
|
1 |
Dimensión horizontal |
|
2 |
Dimensión vertical |
Ubicación del ejión
| Opción | Descripción |
|---|---|
|
|
Por defecto El ejión se une a la parte delantera de la correa. Tekla Structures posiciona el ejión de acuerdo con el perfil de correa que se utilice. Auto ValoresPorDefecto puede cambiar esta opción. |
|
|
El ejión se une a la parte delantera de la correa. |
|
|
El ejión se une a la parte trasera de la correa. |
Unión del ejión
| Opción | Descripción |
|---|---|
|
|
Por defecto El ejión se suelda al dintel. Auto ValoresPorDefecto puede cambiar esta opción. |
|
|
El ejión se atornilla al dintel. |
|
|
El ejión se suelda al dintel. |
Pestaña Tornapuntas
Utilice la pestaña Tornapuntas para crear y definir las propiedades de los tornapuntas, las placas de tornapuntas y los tornillos de tornapuntas.
Partes
| Opción | Descripción |
|---|---|
|
Perfil Tornapunta |
Seleccione el perfil de la base de datos de perfiles. |
|
Pl. Tornapunta |
Espesor, ancho y altura de la placa de tornapunta. |
|
Ángulo tornapunta |
Espesor del ángulo de tornapunta. |
|
Opción |
Descripción |
Por defecto |
|---|---|---|
|
Pos Núm |
Prefijo y número inicial del número de posición de parte. Algunos componentes tienen una segunda fila de campos en la que se puede especificar el número de posición de conjunto. |
El número inicial de parte por defecto se define en las configuraciones de Componentes en el menú . |
|
Material |
Calidad del material. |
El material por defecto se define en el cuadro Material parte en las configuraciones de Componentes en el menú . |
|
Nombre |
Nombre que aparece en los dibujos e informes. |
|
|
Acabado |
Describe cómo se ha tratado la superficie de la parte. |
Propiedades de tornillo
| Opción | Descripción |
|---|---|
|
Est. torn. tornap. correa Est. torn. tornap. dintel |
Seleccione el estándar de tornillo para los tornillos que unen los tornapuntas o los tornapuntas de dintel a las correas. |
|
Tol. torn. tornap. correa Tol. torn. tornap. dintel |
Define el hueco entre los tornillos y los agujeros de los tornillos que unen los tornapuntas o tornapuntas de dintel a las correas. |
|
Rotación tornapunta |
Define la rotación del ángulo de tornapunta. |
Ubicación de los tornapuntas
| Opción | Descripción |
|---|---|
|
|
Por defecto No se crean tornapuntas. Auto ValoresPorDefecto puede cambiar esta opción. |
|
|
No se crean tornapuntas. |
|
|
Los tornapuntas se crean a ambos lados. Se crean placas de tornapunta. |
|
|
El tornapunta se crea a la derecha. Se crea la placa de tornapunta. |
|
|
El tornapunta se crea a la izquierda. Se crea la placa de tornapunta. |
|
|
El tornapunta se crea a la derecha. Se crean las placas de tornapuntas a ambos lados. |
|
|
El tornapunta se crea a la izquierda. Se crean las placas de tornapuntas a ambos lados. |
|
|
Se crean agujeros. No se crean tornapuntas ni placas de tornapuntas. |
Unión de tornapunta
| Opción | Descripción |
|---|---|
|
|
Por defecto El tornapunta se une a la parte inferior de la correa. Auto ValoresPorDefecto puede cambiar esta opción. |
|
|
El tornapunta se une a la parte superior del alma de la correa. |
|
|
El tornapunta se une al centro del alma de la correa. |
|
|
El tornapunta se une a la parte inferior de la correa. |
Creación de agujeros/tornillos en tornapuntas
| Opción | Descripción |
|---|---|
|
|
Por defecto Un agujero o tornillo en el dintel. Auto ValoresPorDefecto puede cambiar esta opción. |
|
|
Un agujero o tornillo en el dintel. |
|
|
Cuando el agujero o tornillo del tornapunta se coloca a una distancia determinada, definida en d, de otro agujero o tornillo existente en el dintel, estos se combinan. La distancia d está definida en el archivo overlap.dat. |
Unión de la placa de tornapunta a la cantonera
| Opción | Descripción |
|---|---|
|
|
Por defecto Las placas de tornapuntas se unen a las cantoneras. Auto ValoresPorDefecto puede cambiar esta opción. |
|
|
Las placas de tornapuntas se unen a las vigas. Debe aplicar la unión por encima de una cantonera. |
|
|
Las placas de tornapuntas se unen a las cantoneras. |
Tornillos de tornapuntas

| Descripción | |
|---|---|
|
1 |
Distancia al borde de los tornillos. La distancia al borde es la distancia desde el centro de un tornillo hasta el borde de la parte. |
|
2 |
Distancia al borde de los tornillos. La distancia al borde es la distancia desde el centro de un tornillo hasta el borde de la parte. |
|
3 |
Número de tornillos. |
|
4 |
Separación entre tornillos. Use un espacio para separar los valores de separación entre tornillos. Especifique un valor para cada separación entre tornillos. Por ejemplo, si hay tres tornillos, introduzca dos valores. |
|
5 |
Distancia del borde del tornillo desde el borde del tornapunta. |
|
6 |
Distancia del tornillo de tornapunta hasta la línea central del dintel. |
|
7 |
Distancia del borde de la placa de tornapunta desde el borde del dintel. |
|
8 |
Diámetro de tornillo. |
Dimensión de chaflán

| Descripción | |
|---|---|
|
1 |
Dimensión del chaflán vertical |
|
2 |
Dimensión del chaflán horizontal |
Forma de chaflán
| Opción | Descripción |
|---|---|
|
|
Por defecto Chaflán de línea Auto ValoresPorDefecto puede cambiar esta opción. |
|
|
No chaflán |
|
|
Chaflán de línea |
|
|
Chaflán convexo |
|
|
Chaflán cóncavo |
pestaña Tornillos
Utilice la pestaña Tornillos para definir las dimensiones del grupo de tornillos y las propiedades de los tornillos que conectan los ejiones a las correas.
Dimensiones del grupo de tornillos

| Descripción | |
|---|---|
|
1 |
Dimensión para la posición vertical del grupo de tornillos. |
|
2 |
Distancia al borde de los tornillos. La distancia al borde es la distancia desde el centro de un tornillo hasta el borde de la parte. |
|
3 |
Número de tornillos. |
|
4 |
Separación entre tornillos. Use un espacio para separar los valores de separación entre tornillos. Especifique un valor para cada separación entre tornillos. Por ejemplo, si hay tres tornillos, introduzca dos valores. |

| Descripción | |
|---|---|
|
1 |
Dimensión para la posición horizontal del grupo de tornillos. |
|
2 |
Distancia al borde de los tornillos. La distancia al borde es la distancia desde el centro de un tornillo hasta el borde de la parte. |
|
3 |
Separación entre tornillos. |
Propiedades básicas de los tornillos
|
Opción |
Descripción |
Por defecto |
|---|---|---|
|
Tamaño tornillo |
Diámetro de tornillo. |
Los tamaños disponibles están definidos en la base de datos de conjuntos de tornillos. |
|
Estándar tornillo |
El estándar de tornillo que se usará en el componente. |
Los estándares disponibles están definidos en la base de datos de conjuntos de tornillos. |
|
Tolerancia |
Hueco entre el tornillo y el agujero. |
|
|
Rosca mat |
Define si la rosca puede estar dentro de las partes atornilladas al usar tornillos con un eje. No tiene efecto si se usan tornillos con rosca completa. |
Sí |
|
Obra/Taller |
Ubicación en la que deben ponerse los tornillos. |
Obra |
Agujeros ovalados
Pueden definirse agujeros ovalados, sobredimensionados o roscados.
|
Opción |
Descripción |
Por defecto |
|---|---|---|
|
1 |
Dimensión vertical del agujero ovalado. |
0, que genera un agujero redondo. |
|
2 |
Dimensión horizontal del agujero ovalado o tolerancia para agujeros sobredimensionados. |
0, que genera un agujero redondo. |
|
Tipo agujero |
Ovalado crea agujeros ovalados. Sobredimensionado crea agujeros sobredimensionados. Sin agujero no crea agujeros. Roscado crea agujeros roscados. |
|
|
Aguj Oval |
Cuando el tipo de agujero es Ovalado, esta opción rota los agujeros ovalados. |
|
|
Aguj.oval. en |
Parte(s) en la(s) que se crean los agujeros ovalados. Las opciones dependen del componente. |
Conjunto tornillos
Las casillas de verificación activadas definen qué objetos del componente (tornillo, arandelas y tuercas) se usarán en el conjunto de tornillos.
Si solamente desea crear un agujero, desactive todas las casillas de verificación.
Para modificar el conjunto de tornillos en un componente existente, active la casilla de verificación Efecto al modificar y haga clic en Modificar.
Aumento de la longitud del tornillo
Define cuánto se incrementa la longitud del tornillo. Utilice esta opción si, por ejemplo, la pintura requiere incrementar la longitud del tornillo.
Orientación de tornillo
| Opción | Descripción |
|---|---|
|
|
Por defecto Los tornillos se colocan a escuadra de la parte principal. Auto ValoresPorDefecto puede cambiar esta opción. |
|
|
Los tornillos se colocan a escuadra de la parte principal. |
|
|
Los tornillos se colocan en ángulo recto respecto a la parte secundaria. |
Agujeros de tornillos
| Opción | Descripción |
|---|---|
|
|
Por defecto No se crean agujeros de tornillo. Auto ValoresPorDefecto puede cambiar esta opción. |
|
|
No se crean agujeros de tornillo. |
|
|
Se crean agujeros de tornillo en el hastial de las alas del dintel. |
Tornillos de solape
| Opción | Descripción |
|---|---|
|
|
Por defecto Se crean tornillos de ala de solape. Auto ValoresPorDefecto puede cambiar esta opción. |
|
|
Se crean tornillos de ala de solape. |
|
|
Se crean tornillos de alma de solape. |
Creación de solape
| Opción | Descripción |
|---|---|
|
|
Por defecto Se crea una superposición. Auto ValoresPorDefecto puede cambiar esta opción. |
|
|
Automático Se crea una superposición. |
|
|
Se crea una superposición. |
|
|
No se crea la superposición. |
pestaña General
Haga clic en el siguiente enlace para obtener más información:
Pestaña Análisis
Haga clic en el siguiente enlace para obtener más información:
Soldaduras
Haga clic en el siguiente enlace para obtener más información:
















































