Ángulo de unión dos lados (117)
Ángulo de unión dos lados (117) conecta dos vigas a una viga o a una columna utilizando ángulos de unión. Los ángulos de unión están atornillados a las vigas secundarias y a la parte principal.
Objetos creados
-
Ángulos de unión (2 o 4)
-
Tornillos
-
Cortes
Usar para
|
Situación |
Descripción |
|---|---|
|
|
Ángulo de unión a un alma de viga. |
|
|
Ángulo de unión a un alma de viga. Dos vigas secundarias con distintas alturas. |
|
|
Ángulo de unión a un alma de viga. La otra viga secundaria está inclinada. |
|
|
Ángulo de unión a un alma de columna. |
Orden de selección
-
Seleccione la parte principal (viga o columna).
-
Seleccione la primera parte secundaria (viga).
-
Seleccione la segunda parte secundaria (viga).
-
Haga clic con el botón central del ratón para crear la unión.
Clave de identificación de parte
|
Parte |
|
|---|---|
|
1 |
Ángulo unión |
Pestaña Dibujo
Utilice la pestaña Dibujo para controlar las dimensiones y la posición del ángulo de unión.
Dimensiones
|
Descripción |
Por defecto |
|
|---|---|---|
|
1 |
Longitud corte de la parte secundaria. |
2.25 mm |
|
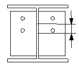
2 |
Distancia al borde superior del angular de unión desde la parte superior de la viga secundaria. La posición del borde superior del ángulo modifica la altura del ángulo de unión. Un valor positivo acercará la posición superior al centro de la viga y, por consiguiente, disminuirá el tamaño del ángulo de unión. Un valor negativo aumentará el tamaño del ángulo de unión. |
Si no se introduce ningún valor, los tornillos y las distancias de borde de tornillo definen el tamaño del ángulo de unión. |
|
3 |
Hueco entre la parte principal y el ángulo de unión. |
Posición del ángulo de unión
|
Opción |
Descripción |
|---|---|
|
|
Por defecto Se crean ángulos de unión de lado cercano y de lado lejano. Auto ValoresPorDefecto puede cambiar esta opción. |
|
|
Se crean ángulos de unión de lado cercano. |
|
|
Se crean ángulos de unión de lado cercano y de lado lejano. |
|
|
Se crean ángulos de unión de lado lejano. |
Pestaña Partes
Utilice la pestaña Partes para controlar las propiedades del ángulo de unión.
Ángulo unión
|
Parte |
Descripción |
|---|---|
|
Perfil L, Perfil L 2 |
Define el perfil del ángulo de unión seleccionándolo en la base de datos de perfiles. |
|
Longitud ángulo 1, Longitud ángulo 2 |
Define la longitud del ángulo de unión en el lado de la primera parte secundaria y de la segunda parte secundaria. |
|
Opción |
Descripción |
Por defecto |
|---|---|---|
|
Pos Núm |
Prefijo y número inicial del número de posición de parte. Algunos componentes tienen una segunda fila de campos en la que se puede especificar el número de posición de conjunto. |
El número inicial de parte por defecto se define en las configuraciones de Componentes en el menú . |
|
Material |
Calidad del material. |
El material por defecto se define en el cuadro Material parte en las configuraciones de Componentes en el menú . |
|
Nombre |
Nombre que aparece en los dibujos e informes. |
|
|
Acabado |
Describe cómo se ha tratado la superficie de la parte. |
Mover ejiones a alma menor
Define la posición de los ejiones.
Pestaña Entalladura
Utilice la pestaña Entalladura para crear entalladuras para las vigas secundarias y para controlar las propiedades de entalladura. Define las entalladuras para las dos vigas secundarias.
Forma de la entalladura
Define la forma de la entalladura para la parte superior e inferior de la viga secundaria.
|
Opción |
Opción |
Descripción |
|---|---|---|
|
|
|
Por defecto Crea una entalladura en ángulo recto en el lado superior o inferior de la viga secundaria. Auto ValoresPorDefecto puede cambiar esta opción. |
|
|
|
No entallar |
|
|
|
Crea una entalladura en ángulo recto en el lado superior o inferior de la viga secundaria. Defina las dimensiones de la entalladura. En las uniones de viga a viga con una viga secundaria inclinada, la profundidad se mide como se muestra en el dibujo.
|
|
|
|
Crea una entalladura en ambos lados de la parte secundaria. Defina las dimensiones de la entalladura. |
|
|
|
Crea una entalladura con chaflanes en ambos lados de la viga secundaria. Defina las dimensiones del chaflán. |
|
|
|
Crea un fleje. Permite definir la longitud del fleje. Las alas se cortan por completo. |
|
|
|
Crea un tipo especial de entalladura en ángulo recto. Defina las dimensiones de la entalladura. La entalladura es en ángulo recto con respecto a la viga secundaria. No hay valores por defecto para la longitud o la profundidad. |
Lado de entalladura
Permite definir en qué lado de la viga secundaria se crea la entalladura. Se puede definir el lado para la parte superior e inferior de la viga secundaria.
|
Opción |
Descripción |
|---|---|
|
|
Por defecto Crea entalladuras en ambos lados. Auto ValoresPorDefecto puede cambiar esta opción. |
|
|
Crea entalladuras en ambos lados. |
|
|
Crea una entalladura en el lado izquierdo. |
|
|
Crea una entalladura en el lado derecho. |
Dimensiones de entalladura
Define las dimensiones inferior y superior de la entalladura si ha configurado la opción Def. entall. BCSA en No.
|
Descripción |
|
|---|---|
|
1 |
Dimensión vertical de la entalladura. |
|
2 |
Dimensión horizontal de la entalladura. |
Def. entall. BCSA
Permite definir si la entalladura se crea según las especificaciones de la British Constructional Steelwork Association (BCSA) specifications.
|
Opción |
Descripción |
|---|---|
|
Por defecto |
Dimensiones de la entalladura. |
|
Sí |
Crea una entalladura de 50 mm para uniones sencillas viga a viga. |
|
No |
Utilice las opciones de esta pestaña Entalladura para definir las dimensiones de la entalladura. |
pestaña Tornillos
Utilice la pestaña Tornillos para controlar las propiedades de los tornillos.
Dimensiones del grupo de tornillos
|
Descripción |
|
|---|---|
|
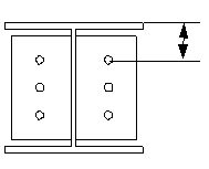
1 |
Dimensión para la posición vertical del grupo de tornillos. |
|
2 |
Seleccione cómo medir las dimensiones para la posición vertical del grupo de tornillos.
|
|
3 |
Distancia al borde de los tornillos. La distancia al borde es la distancia desde el centro de un tornillo hasta el borde de la parte. |
|
4 |
Número de tornillos. |
|
5 |
Separación entre tornillos. Use un espacio para separar los valores de separación entre tornillos. Especifique un valor para cada separación entre tornillos. Por ejemplo, si hay tres tornillos, introduzca dos valores. |
Tresbolillo de tornillos
|
Opción |
Descripción |
|---|---|
|
|
Por defecto Sin tresbolillo Auto ValoresPorDefecto puede cambiar esta opción. |
|
|
Sin tresbolillo |
|
|
Tipo de tresbolillo 1 |
|
|
Tipo de tresbolillo 2 |
|
|
Tipo de tresbolillo 3 |
|
|
Tipo de tresbolillo 4 |
Dimensiones del grupo de tornillos
|
Descripción |
|
|---|---|
|
1 |
Distancia al borde de los tornillos. |
|
2 |
Ubicación en la que deben ponerse los tornillos. |
|
3 |
Número de tornillos. |
|
4 |
Separación entre tornillos. Use un espacio para separar los valores de separación entre tornillos. Especifique un valor para cada separación entre tornillos. Por ejemplo, si hay tres tornillos, introduzca dos valores. |
Propiedades básicas de los tornillos
|
Opción |
Descripción |
Por defecto |
|---|---|---|
|
Tamaño tornillo |
Diámetro de tornillo. |
Los tamaños disponibles están definidos en la base de datos de conjuntos de tornillos. |
|
Estándar tornillo |
El estándar de tornillo que se usará en el componente. |
Los estándares disponibles están definidos en la base de datos de conjuntos de tornillos. |
|
Tolerancia |
Hueco entre el tornillo y el agujero. |
|
|
Rosca mat |
Define si la rosca puede estar dentro de las partes atornilladas al usar tornillos con un eje. No tiene efecto si se usan tornillos con rosca completa. |
Sí |
|
Obra/Taller |
Ubicación en la que deben ponerse los tornillos. |
Obra |
Agujeros ovalados
Pueden definirse agujeros ovalados, sobredimensionados o roscados.
|
Opción |
Descripción |
Por defecto |
|---|---|---|
|
1 |
Dimensión vertical del agujero ovalado. |
0, que genera un agujero redondo. |
|
2 |
Dimensión horizontal del agujero ovalado o tolerancia para agujeros sobredimensionados. |
0, que genera un agujero redondo. |
|
Tipo agujero |
Ovalado crea agujeros ovalados. Sobredimensionado crea agujeros sobredimensionados. Sin agujero no crea agujeros. Roscado crea agujeros roscados. |
|
|
Aguj Oval |
Cuando el tipo de agujero es Ovalado, esta opción rota los agujeros ovalados. |
|
|
Aguj.oval. en |
Parte(s) en la(s) que se crean los agujeros ovalados. Las opciones dependen del componente. |
Conjunto tornillos
Las casillas de verificación activadas definen qué objetos del componente (tornillo, arandelas y tuercas) se usarán en el conjunto de tornillos.
Si solamente desea crear un agujero, desactive todas las casillas de verificación.
Para modificar el conjunto de tornillos en un componente existente, active la casilla de verificación Efecto al modificar y haga clic en Modificar.
Aumento de la longitud del tornillo
Define cuánto se incrementa la longitud del tornillo. Utilice esta opción si, por ejemplo, la pintura requiere incrementar la longitud del tornillo.
pestaña General
Haga clic en el siguiente enlace para obtener más información:
pestaña Diseño
Haga clic en el siguiente enlace para obtener más información:
pestaña Análisis
Haga clic en el siguiente enlace para obtener más información: