Tube splice (6)
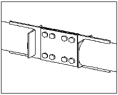
Tube splice (6) connects two rectangular hollow core sections or round tubes with splice plates. End plates are created at both ends of the connection. Connection plates create cuts into the connected parts.
Objects created
-
Splice plates
-
Connection plates
-
End plates
-
Welds
-
Bolts
-
Cuts
Use for
|
Situation |
Description |
|---|---|
|
|
Tube splice connection to rectangular hollow core sections. |
|
|
Tube splice connection to round tubes. |
Selection order
-
Select the main part (column or beam).
-
Select the secondary part (column or beam).
The connection is created automatically when the secondary part is selected.
Part identification key
|
Part |
|
|---|---|
|
1 |
Splice plate |
|
2 |
Connection plate |
|
3 |
End plate |
Picture tab
Use the Picture tab to control the positions of the plates.
Plate position
|
Description |
Default |
|
|---|---|---|
|
1 |
Distance between the splice plate and the end plate. |
10 mm |
|
2 |
Connection plate cut depth. The cut depth affects the size of the connection plate. |
150 mm |
|
3 |
Distance between the connection plates. |
20 mm |
Cut creation
Define whether connection plates create cuts to the parts they connect, and whether end plates are cut.
|
Option |
Description |
|---|---|
|
|
Default Connection plate does not create a cut. AutoDefaults can change this option. |
|
|
Connection plate does not create a cut. |
|
|
Connection plate creates a rectangular cut. Define the horizontal and vertical cut dimensions. |
|
|
Connection plate creates a round cut. Define the horizontal and vertical cut dimensions, and the radius of the cut. |
|
Option |
Description |
|---|---|
|
|
Default End plate is not cut. AutoDefaults can change this option. |
|
|
End plate is not cut. |
|
|
End plate is cut. |
Parts tab
Use the Parts tab to control the size, position, material, name and finish of the plates.
Plate
| Opttion |
Description |
|---|---|
|
Splice plate |
Splice plate thickness. |
|
Connection plate |
Connection plate thickness. |
|
End plate |
End plate thickness. |
|
Option |
Description |
Default |
|---|---|---|
|
Pos_No |
Prefix and start number for the part position number. Some components have a second row of fields where you can enter the assembly position number. |
The default part start number is defined in the Components settings in . |
|
Material |
Material grade. |
The default material is defined in the Part material box in the Components settings in . |
|
Name |
Name that is shown in drawings and reports. |
|
|
Class |
Part class number. |
|
|
Finish |
Describes how the part surface has been treated. |
Bolts tab
Use the Bolts tab to control the properties of the bolts that connect the splice plates and the connection plates.
Bolt group dimensions
|
Description |
|
|---|---|
|
1 |
Dimension for horizontal bolt group position. |
|
2 |
Bolt edge distance. Edge distance is the distance from the center of a bolt to the edge of the part. |
|
3 |
Number of bolts. |
|
4 |
Bolt spacing. Use a space to separate bolt spacing values. Enter a value for each space between bolts. For example, if there are 3 bolts, enter 2 values. |
|
5 |
Dimension for the bolt group position from the center line of the connected parts. |
Staggering of bolts
|
Option |
Description |
|---|---|
|
|
Default Not staggered AutoDefaults can change this option. |
|
|
Not staggered |
|
|
Staggered type 1 |
|
|
Staggered type 2 |
|
|
Staggered type 3 |
|
|
Staggered type 4 |
Bolt basic properties
|
Option |
Description |
Default |
|---|---|---|
|
Bolt size |
Bolt diameter. |
Available sizes are defined in the bolt assembly catalog. |
|
Bolt standard |
Bolt standard to be used inside the component. |
Available standards are defined in the bolt assembly catalog. |
|
Tolerance |
Gap between the bolt and the hole. |
|
|
Thread in mat |
Defines whether the thread may be within the bolted parts when bolts are used with a shaft. This has no effect when full-threaded bolts are used. |
Yes |
|
Site/Workshop |
Location where the bolts should be attached. |
Site |
Slotted holes
You can define slotted, oversized, or tapped holes.
|
Option |
Description |
Default |
|---|---|---|
|
1 |
Vertical dimension of slotted hole. |
0, which results in a round hole. |
|
2 |
Horizontal dimension of slotted hole, or allowance for oversized holes. |
0, which results in a round hole. |
|
Hole type |
Slotted creates slotted holes. Oversized creates oversized holes. No hole does not create holes. Tapped creates tapped holes. |
|
|
Rotate Slots |
When the hole type is Slotted, this option rotates the slotted holes. |
|
|
Slots in |
Part(s) in which slotted holes are created. The options depend on the component in question. |
Bolt assembly
The selected check boxes define which component objects (bolt, washers, and nuts) are used in the bolt assembly.
If you want to create a hole only, clear all the check boxes.
To modify the bolt assembly in an existing component, select the Effect in modify check box and click Modify.
Bolt length increase
Define how much the bolt length is increased. Use this option when, for example, painting requires the bolt length to be increased.
End plates tab
Use the End plates tab to control the shape and the dimensions of the end plate.
End plate shape
|
Option |
Description |
|---|---|
|
|
Square Default |
|
|
Square |
|
|
Round |
End plate chamfer dimensions
|
Description |
|
|---|---|
|
1 |
Horizontal chamfer dimension. |
|
2 |
Vertical chamfer dimension. |
|
3 |
Select the chamfer type. |
End plate dimensions
Define the dimensions of the square end plate.
|
Description |
|
|---|---|
|
1 |
Horizontal dimension from the edge of the end plate to the flange of the column or the beam. |
|
2 |
Vertical dimension from the edge of the end plate to the flange of the column or the beam. |
End plate dimensions
Define the dimension of the round end plate.
|
Description |
|
|---|---|
|
1 |
Dimension from the edge of the end plate to the outer edge of the column or the beam. |
General tab
Click the link below to find out more:
Design tab
Click the link below to find out more:
Analysis tab
Click the link below to find out more:
Welds
Click the link below to find out more:




