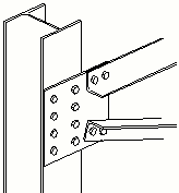
Bolted gusset (11)
Bolted gusset (11) connects 1 to 10 braces to a beam or column using a gusset plate, which is bolted or welded to the beam or column. The braces are bolted to the gusset plate. Clip angles can be created either at the ends of the braces, or on each side.
Objects created
-
Gusset plate
-
Clip angles or shear tabs (optional) that connect the gusset plate to the beam or column
-
Clip angles (optional) that connect the brace to the gusset plate
-
Connection plates
-
Seal plates (hollow braces)
-
Stiffeners (optional)
-
Bolts
-
Welds
-
Cuts
Use for
| Situation | Description |
|---|---|
|
|
Brace profile: RHS Gusset plate is bolted to the beam flange using a clip angle. Braces are slotted around the gusset plate and attached to it using bolts and clip angles. |
|
|
Gusset plate to a single brace. Horizontal and vertical bracing. Various bracing profiles. |
|
|
Brace profile: Tube Gusset plate is welded to the beam web. Brace is notched around the gusset plate and pinned to it. |
|
|
Brace profile: T Gusset plate is welded to the beam flange. Brace is bolted to the gusset plate. |
|
|
Brace profile: L Gusset plate is welded to the column flange. Brace is bolted to the gusset plate. |
|
|
Gusset plate to a twin profile brace. Vertical or horizontal brace. Multiple bracing members. |
|
|
Gusset plate to a twin profile brace. Twin profile main part. Welded or bolted to the main part. |
|
|
Gusset plate with a connection plate. Bolted to the main part. |
|
|
Gusset plate with a connection plate. Bolted to the main part. Various gusset plate shaping options. |
|
|
Gusset plate to a hollow section brace. Pin bolt and tension angle option. |
|
|
Gusset plate to a hollow section brace. Pin bolt and tension angle option. |
|
|
Gusset plate to a WT section brace. Notching option. |
|
|
Gusset plate through a hollow section column to hollow section bracing at a base plate. |
|
|
Gusset plate through a hollow section column to WT bracing at a base plate. |
|
|
Gusset plate through a hollow section column to angle bracing at a base plate. Single or twin profile. |
Before you start
Create a beam or column, and 1 to 10 braces.
Selection order
-
Select the main part (beam or column).
-
Select the secondary part (first brace).
-
Select the second secondary part (second brace).
-
Select the subsequent secondary parts (subsequent braces).
-
Click the middle mouse button to create the component.
Part identification key

| Description | |
|---|---|
|
1 |
Gusset plate |
|
2 |
Clip angle |
Tekla Structures uses values in the joints.def file to create this component.
Picture tab
Use the Picture tab to define the dimensions that control the position and shape of the gusset plate.
Dimensions

| Description | |
|---|---|
|
1 |
Define the gap distance between the gusset plate edge and the main part. |
|
2 |
Define the gusset plate corner angle (in degrees). This value affects the gusset plate shape. |
|
3 |
Define the length of the edge of the gusset plate. This value affects the gusset plate shape. |
|
4 |
Define the distance between the braces. |
|
5 |
Define the distance between the main part and the brace. |
|
6 |
Define the distance between the clip angle or connection plate edge and the gusset plate edge. |
Gusset plate positioning
Define how the gusset plate is positioned when a base plate is used.
| Option | Description |
|---|---|
|
|
Default Gusset plate is parallel to the main part. AutoDefaults can change this option. |
|
|
Gusset plate is parallel to the brace. |
Gusset plate dimensions
| Option | Description |
|---|---|
|
|
Default Gusset plate does not run through the main part. Define the gusset plate cut dimension. AutoDefaults can change this option. |
|
|
Gusset plate does not run through the main part. Define the gusset plate cut dimension. |
|
|
Gusset plate runs through the main part. Define the gusset plate extension dimension. |
|
|
Gusset plate runs through the main part. Define the plate extension dimension on the opposite face. |
Gusset tab
Use the Gusset tab to control the gusset plate properties, shape and position, and clip angle properties and orientation.
Plates
| Option | Description |
|---|---|
|
Gusset |
Thickness, width and height of the gusset plate. |
|
Connection plates |
Thickness and width of the connection plate. |
|
L profile |
Select the clip angle profile from the profile catalog. |
|
Option |
Description |
Default |
|---|---|---|
|
Pos_No |
Prefix and start number for the part position number. Some components have a second row of fields where you can enter the assembly position number. |
The default part start number is defined in the Components settings in . |
|
Material |
Material grade. |
The default material is defined in the Part material box in the Components settings in . |
|
Name |
Name that is shown in drawings and reports. |
|
|
Finish |
Describes how the part surface has been treated. |
Gusset plate connection
Define how the gusset plate is connected to the main part.
| Option | Description |
|---|---|
|
|
Default Gusset plate is welded directly to the main part. AutoDefaults can change this option. |
|
|
Gusset plate is connected to the main part with clip angles. Select to which side of the gusset plate the clip angles are created. |
|
|
Gusset plate is connected to the main part with a connection plate. Select to which side of the gusset plate the connection plate is created. |
Clip angle orientation
Define how the clip angle is placed on the connection.
| Option | Description |
|---|---|
|
|
Default Clip angle is placed on the connection so that the longer leg is connected to the gusset plate. AutoDefaults can change this option. |
|
|
Clip angle is placed on the connection so that the longer leg is connected to the main part. |
Gusset plate shape
When you select the option to optimize the gusset plate weight, you can define whether the selection order of the braces affects the position of the braces.
| Option | Description |
|---|---|
|
|
Default AutoDefaults can change this option. |
|
|
This option optimizes the gusset plate weight. |
Brace position
| Option | Description |
|---|---|
|
|
Default The brace position is not affected. AutoDefaults can change this option. |
|
|
The first selected brace is placed closest to the main part. |
Gusset plate position on the brace
Define where to place the gusset plate on the brace. If needed, you can fine-tune the gusset plate position by moving the gusset plate in the z or in the y direction.
| Option | Description |
|---|---|
|
|
Default Gusset plate is positioned in the middle of the brace. AutoDefaults can change this option. |
|
|
Gusset plate is positioned on the top flange of the brace. |
|
|
Define how much the gusset plate is moved in the z direction. |
|
|
Define how much the gusset plate is moved in the y direction. |
Gusset plate position on the column or beam
| Option | Description |
|---|---|
|
|
Select the gusset position. The default option is parallel to the brace. |
Gusset plate chamfer
Define the gusset plate chamfer type and dimensions, and the angle limit for parallel bracing.

| Description | |
|---|---|
|
1 |
Distance between the connection plate and the inner flange of the main part. |
|
2 |
Horizontal dimension from the gusset plate edge to the flange of the main part. |
|
3 |
Vertical dimension from the gusset plate edge to the flange of the main part. |
|
4 |
Horizontal dimension of the chamfer. By default, the second chamfer is not created. |
|
5 |
Vertical dimension of the chamfer. By default, the second chamfer is not created. |
Cut size
If the gusset plate runs through the main part, define the size of the cut created for the gusset plate.

| Description | |
|---|---|
|
1 |
Define the horizontal size of the cut. |
|
2 |
Define the vertical size of the cut. |
|
3 |
Define the radius of the round cut. |
Brace conn
Use the Brace conn tab to define the seal plate, brace notch and slot properties.
Seal plate
| Part | Description |
|---|---|
|
Seal plate |
Thickness of the seal plate. |
|
Option |
Description |
Default |
|---|---|---|
|
Pos_No |
Prefix and start number for the part position number. Some components have a second row of fields where you can enter the assembly position number. |
The default part start number is defined in the Components settings in . |
|
Material |
Material grade. |
The default material is defined in the Part material box in the Components settings in . |
|
Name |
Name that is shown in drawings and reports. |
|
|
Finish |
Describes how the part surface has been treated. |
Brace notch
| Option | Description |
|---|---|
|
|
Select whether the brace is notched. You may want to notch the brace if the plate collides with the brace flange or if you want to create slots in the hollow braces. The last option creates a notch and fastens the plate to the brace by using a bolt. |
|
|
|
|
|
Select the brace notch shape. Define the radius for the round shape. |
|
|
Define the plate distance from the brace outer edge. |
|
|
Select whether to create bevel cuts at the brace ends or whether to create a square brace end. |
Stiffeners tab
Use the Stiffeners tab to define the stiffener properties and dimensions.
Parts
| Part | Description |
|---|---|
|
Stiffener 1, Stiffener 2 |
Thickness of the stiffener. |
|
Option |
Description |
Default |
|---|---|---|
|
Pos_No |
Prefix and start number for the part position number. Some components have a second row of fields where you can enter the assembly position number. |
The default part start number is defined in the Components settings in . |
|
Material |
Material grade. |
The default material is defined in the Part material box in the Components settings in . |
|
Name |
Name that is shown in drawings and reports. |
|
|
Finish |
Describes how the part surface has been treated. |
Stiffener length

|
1 |
Define the distance between the stiffener edge and the gusset plate edge. |
|
2 |
Define the length of stiffener. |
Stiffener dimensions

|
1 |
Define the width of the stiffener. |
|
2 |
Define the length of the stiffener base. |
|
3 |
Define the length of the skew part of the stiffener. |
|
4 |
Define the distance from the stiffener center line. |
|
5 |
Define the vertical distance between the stiffener base and the skew part. |
Chamfer type
| Option | Description |
|---|---|
|
|
Default No chamfer AutoDefaults can change this option. |
|
|
No chamfer |
|
|
Line chamfer |
|
|
Convex arc chamfer |
|
|
Concave arc chamfer |
Chamfer dimensions

| Description | |
|---|---|
|
1 |
Horizontal dimension of the chamfer. |
|
2 |
Vertical dimension of the chamfer. |
Gusset bolts tab
Use the Gusset bolts tab to control the bolt group properties for bolts that connect the gusset plate to the main part, and to control the clip angle attachment.
Bolt group dimensions on gusset plate

|
1 |
Bolt edge distance. Edge distance is the distance from the center of a bolt to the edge of the part. |
|
2 |
Number of bolts. |
|
3 |
Bolt spacing. Use a space to separate bolt spacing values. Enter a value for each space between bolts. For example, if there are 3 bolts, enter 2 values. |
|
4 |
Dimension for vertical bolt group position. |
|
5 |
Select how to measure the dimensions for vertical bolt group position. |
|
6 |
Dimension for horizontal bolt group position. |
|
7 |
Select how to measure the dimensions for horizontal bolt group position. |

| Description | |
|---|---|
|
1 |
Location where the bolts should be attached. |
|
2 |
Bolt edge distance. Edge distance is the distance from the center of a bolt to the edge of the part. |
|
3 |
Number of bolts. |
|
4 |
Bolt spacing. Use a space to separate bolt spacing values. Enter a value for each space between bolts. For example, if there are 3 bolts, enter 2 values. |
Bolt group position
Gusset horizontal position and offset options only affect the following situation, where the gusset is connected to the column flange. When the position is middle, the bolt group offset is calculated from the center line of the column, for example.

Gusset vertical position and offset options affect the bolt group connecting the gusset directly to the flange and also the bolt groups connecting the gusset to the clip angle or connection plate.
Clip angle attachment type
Define how the clip angle is attached to the gusset plate and to the main part.
| Option | Description |
|---|---|
|
|
Default Both parts are bolted. AutoDefaults can change this option. |
|
|
Automatic When the main part is a tube profile, the clip angles are welded to the main part and bolted to the secondary part. Otherwise the clip angles are bolted to both parts. |
|
|
Main part is bolted and secondary part is welded. |
|
|
Main part is welded and secondary is part bolted. |
|
|
Both parts are bolted. |
|
|
Both parts are welded. |
Bolts on gusset plate
Define whether the gusset plate is connected to the main part with bolts when no clip angles are used.
| Option | Description |
|---|---|
|
|
Default Bolts are not created in the gusset plate. AutoDefaults can change this option. |
|
|
Bolts are created in the gusset plate. |
Staggering of bolts
|
Option |
Description |
|---|---|
|
|
Default Not staggered AutoDefaults can change this option. |
|
|
Not staggered |
|
|
Staggered type 1 |
|
|
Staggered type 2 |
|
|
Staggered type 3 |
|
|
Staggered type 4 |
Bolt basic properties
|
Option |
Description |
Default |
|---|---|---|
|
Bolt size |
Bolt diameter. |
Available sizes are defined in the bolt assembly catalog. |
|
Bolt standard |
Bolt standard to be used inside the component. |
Available standards are defined in the bolt assembly catalog. |
|
Tolerance |
Gap between the bolt and the hole. |
|
|
Thread in mat |
Defines whether the thread may be within the bolted parts when bolts are used with a shaft. This has no effect when full-threaded bolts are used. |
Yes |
Comment
You can define a comment.
Slotted holes
You can define slotted, oversized, or tapped holes.
|
Option |
Description |
Default |
|---|---|---|
|
1 |
Vertical dimension of slotted hole. |
0, which results in a round hole. |
|
2 |
Horizontal dimension of slotted hole, or allowance for oversized holes. |
0, which results in a round hole. |
|
Hole type |
Slotted creates slotted holes. Oversized creates oversized holes. No hole does not create holes. Tapped creates tapped holes. |
|
|
Rotate Slots |
When the hole type is Slotted, this option rotates the slotted holes. |
|
|
Slots in |
Part(s) in which slotted holes are created. The options depend on the component in question. |
Bolt assembly
The selected check boxes define which component objects (bolt, washers, and nuts) are used in the bolt assembly.
If you want to create a hole only, clear all the check boxes.
To modify the bolt assembly in an existing component, select the Effect in modify check box and click Modify.
Bolt length increase
Define how much the bolt length is increased. Use this option when, for example, painting requires the bolt length to be increased.
Bolting direction
|
Option |
Description |
|---|---|
|
|
Default Bolting direction 1 AutoDefaults can change this option. |
|
|
Bolting direction 1 |
|
|
Bolting direction 2 |
Brace bolts 1 / Brace bolts 2 / Brace bolts 3 tab
Use the Brace bolts 1, Brace bolts 2 and Brace bolts 3 tabs to control the bolts that connect the first, the second, and the subsequent braces to the gusset plate.
Bolt group dimensions



| Description | |
|---|---|
|
1 |
Number of bolts. |
|
2 |
Bolt spacing. Use a space to separate bolt spacing values. Enter a value for each space between bolts. For example, if there are 3 bolts, enter 2 values. |
|
3 |
Bolt edge distance. Edge distance is the distance from the center of a bolt to the edge of the part. |
|
4 |
Select how to measure the dimensions for vertical bolt group position. |
|
5 |
Dimension for vertical bolt group position. |
|
6 |
Define which bolts are deleted from the bolt group. Enter the bolt numbers of the bolts to be deleted and separate the numbers with a space. Bolt numbers run from left to right and from top to bottom. |
Bolt distance
Define the minimum distance from the connection plate bolts to the intersection point of the main part and brace center lines. If a brace is perpendicular to the main part, the distance is measured from the main part center line to the nearest bolts.
| Option | Option | Option |
|---|---|---|
|
|
|
|
Staggering of bolts
|
Option |
Description |
|---|---|
|
|
Default Not staggered AutoDefaults can change this option. |
|
|
Not staggered |
|
|
Staggered type 1 |
|
|
Staggered type 2 |
|
|
Staggered type 3 |
|
|
Staggered type 4 |
Bolt basic properties
|
Option |
Description |
Default |
|---|---|---|
|
Bolt size |
Bolt diameter. |
Available sizes are defined in the bolt assembly catalog. |
|
Bolt standard |
Bolt standard to be used inside the component. |
Available standards are defined in the bolt assembly catalog. |
|
Tolerance |
Gap between the bolt and the hole. |
|
|
Thread in mat |
Defines whether the thread may be within the bolted parts when bolts are used with a shaft. This has no effect when full-threaded bolts are used. |
Yes |
|
Site/Workshop |
Location where the bolts should be attached. |
Site |
Cut length
Defines the depth at which Tekla Structures searches for the sections of the bolted parts. You can determine whether the bolt will go through one flange or two.
Comment
You can define a comment.
Slotted holes
You can define slotted, oversized, or tapped holes.
|
Option |
Description |
Default |
|---|---|---|
|
1 |
Vertical dimension of slotted hole. |
0, which results in a round hole. |
|
2 |
Horizontal dimension of slotted hole, or allowance for oversized holes. |
0, which results in a round hole. |
|
Hole type |
Slotted creates slotted holes. Oversized creates oversized holes. No hole does not create holes. Tapped creates tapped holes. |
|
|
Rotate Slots |
When the hole type is Slotted, this option rotates the slotted holes. |
|
|
Slots in |
Part(s) in which slotted holes are created. The options depend on the component in question. |
Bolt assembly
The selected check boxes define which component objects (bolt, washers, and nuts) are used in the bolt assembly.
If you want to create a hole only, clear all the check boxes.
To modify the bolt assembly in an existing component, select the Effect in modify check box and click Modify.
Bolt length increase
Define how much the bolt length is increased. Use this option when, for example, painting requires the bolt length to be increased.
Bolting direction
|
Option |
Description |
|---|---|
|
|
Default Bolting direction 1 AutoDefaults can change this option. |
|
|
Bolting direction 1 |
|
|
Bolting direction 2 |
Angle bolts tab
Use the Angle bolts tab to control the bolts that connect the clip angles.
Part
| Option | Description |
|---|---|
|
L profile |
Select the clip angle profile from the profile catalog. |
|
Option |
Description |
Default |
|---|---|---|
|
Pos_No |
Prefix and start number for the part position number. Some components have a second row of fields where you can enter the assembly position number. |
The default part start number is defined in the Components settings in . |
|
Material |
Material grade. |
The default material is defined in the Part material box in the Components settings in . |
|
Name |
Name that is shown in drawings and reports. |
|
|
Finish |
Describes how the part surface has been treated. |
Bolt basic properties
|
Option |
Description |
Default |
|---|---|---|
|
Bolt size |
Bolt diameter. |
Available sizes are defined in the bolt assembly catalog. |
|
Bolt standard |
Bolt standard to be used inside the component. |
Available standards are defined in the bolt assembly catalog. |
|
Tolerance |
Gap between the bolt and the hole. |
|
|
Thread in mat |
Defines whether the thread may be within the bolted parts when bolts are used with a shaft. This has no effect when full-threaded bolts are used. |
Yes |
|
Site/Workshop |
Location where the bolts should be attached. |
Site |
Comment
You can define a comment.
Bolt group dimensions

| Description | |
|---|---|
|
1 |
Number of bolts. |
|
2 |
Bolt spacing. Use a space to separate bolt spacing values. Enter a value for each space between bolts. For example, if there are 3 bolts, enter 2 values. |
|
3 |
Bolt edge distance. Edge distance is the distance from the center of a bolt to the edge of the part. |
|
4 |
Define the edge distance between the clip angle and the brace. |
|
5 |
Select how to measure the dimensions for vertical bolt group position. |
|
6 |
Dimension for vertical bolt group position. |
Clip angle position
| Option | Description |
|---|---|
|
|
Select the clip angle position. |
Bolting direction
|
Option |
Description |
|---|---|
|
|
Default Bolting direction 1 AutoDefaults can change this option. |
|
|
Bolting direction 1 |
|
|
Bolting direction 2 |
General tab
Click the link below to find out more:
Design tab
Click the link below to find out more:
Analysis tab
Click the link below to find out more:
Welds
Click the link below to find out more:







































