Cold rolled overlap (1)
Cold rolled overlap (1) connects one or two purlins or rails to a rafter or a stanchion. Some properties of this component are loaded directly from the overlap.dat file. Contact your local Tekla Structures support if you need to customize the component more than the dialog box allows.
Objects created
-
Angle cleat
-
Stiffener
-
Stays
-
Bolts
-
Welds
Use for
You can use the connection for:
-
Overlap connections
-
Butt connections
-
Connecting double span purlins or rails
-
Gable ends
Do not use for connections to hip rafters that have a specifically designed connection.
| Situation | Description |
|---|---|
|
|
Beam to beam full bearing rafter connection to two secondary parts. Plate connection. |
|
|
Beam to beam full bearing rafter connection to two secondary parts. Angle connection. |
|
|
Beam to beam full bearing rafter connection to two secondary parts. Knee brace connection. |
Before you start
Create two purlins at the same depth and with parallel center lines.
-
Create the purlins using alternate rotations, first top, then bottom, and so on.
-
Position the purlins to the center line of the rafter. Tekla Structures will automatically extend them to form the required overlap.
-
Define the gable overhang, if needed.
Use the manufacturer’s standard offset for the rafter flange.
These settings cause purlins to clash, so when performing clash check you can exclude them using a selection filter. For example, enter PURLIN as the property name in the filter.
Selection order
-
Select the main part (rafter or stanchion).
-
Select the secondary parts (one or two purlins).
-
Click the middle mouse button to create the component.
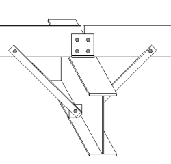
Part identification key


| Description | |
|---|---|
|
1 |
Angle cleat profile |
|
2 |
Stay profile |
|
3 |
Stay plate |
Picture tab
Use the Picture tab to define the position and dimensions of the cleat.
Cleat dimensions

| Description | |
|---|---|
|
1 |
Cleat height is used when the center line of the cleat profile is positioned higher than the rafter center line. |
|
2 |
The distance from the cleat center line to the purlin edge. This distance only applies to gable ends. The default is 0 mm. |
|
3 |
Cleat width when the center line of the cleat profile runs parallel to the rafter. |

| Description | |
|---|---|
|
1 |
The distance from the center of the cleat to the center of the rafter. |
|
2 |
The distance from the center of the cleat to the end of the purlin when there are two purlins. |
Cleat tab
Use the Cleat tab to define the properties and position of cleats and stiffeners, and rafter bolts and cleat rafter bolts.
Parts
| Option | Description |
|---|---|
|
Cleat profile |
Select the profile from the profile catalog. |
|
Stiffener |
Define the thickness of the stiffener. |
|
Option |
Description |
Default |
|---|---|---|
|
Pos_No |
Prefix and start number for the part position number. Some components have a second row of fields where you can enter the assembly position number. |
The default part start number is defined in the Components settings in . |
|
Material |
Material grade. |
The default material is defined in the Part material box in the Components settings in . |
|
Name |
Name that is shown in drawings and reports. |
Rafter bolt properties
| Option | Description |
|---|---|
|
Rafter bolt standard |
Bolt standard for all bolts that connect the cleat to the rafter. To define the rafter bolt standard and rafter bolt tolerance, select to bolt the cleat to the rafter.
|
|
Rafter bolt tolerance |
Gap between the bolts and rafter for all the bolts that connect the cleat to the rafter. |
|
Assembly type |
Location where the bolts should be attached. |
Bolt assembly
The selected check boxes define which component objects (bolt, washers, and nuts) are used in the bolt assembly.
If you want to create a hole only, clear all the check boxes.
To modify the bolt assembly in an existing component, select the Effect in modify check box and click Modify.
Cleat rafter bolt group dimensions
To define the rafter bolt group dimensions, first select to bolt the cleat to the rafter.


| Description | |
|---|---|
|
1 |
Horizontal bolt spacing. |
|
2 |
Diameter of the bolts that connect the cleat to the rafter. |
|
3 |
Cleat offset from the rafter center line. |
|
4 |
Number of bolts. |
|
5 |
Bolt spacing. Use a space to separate bolt spacing values. Enter a value for each space between bolts. For example, if there are 3 bolts, enter 2 values. |
|
6 |
Bolt edge distance. Edge distance is the distance from the center of a bolt to the edge of the part. |
Cleat orientation
| Option | Description |
|---|---|
|
|
Default The center line of the cleat is parallel to the rafter. AutoDefaults can change this option. |
|
|
The center line of the cleat profile is parallel to the rafter. |
|
|
The center line of the cleat profile is vertical to the rafter. |
|
|
The center line of the cleat is parallel to the rafter. A line stiffener is created. Define the stiffener cut dimensions. |
|
|
The center line of the cleat profile is vertical to the rafter. A square stiffener is created. |
Stiffener cut dimensions
Define the dimensions for the line stiffeners or square stiffener.

| Description | |
|---|---|
|
1 |
Vertical chamfer dimension |
|
2 |
Horizontal chamfer dimension |
|
3 |
Horizontal cut dimension |
|
4 |
Vertical cut dimension |

| Description | |
|---|---|
|
1 |
Horizontal dimension |
|
2 |
Vertical dimension |
Cleat location
| Option | Description |
|---|---|
|
|
Default The cleat is attached to the front of the purlin. Tekla Structures positions the cleat according to the purlin profile that is used. AutoDefaults can change this option. |
|
|
The cleat is attached to the front of the purlin. |
|
|
The cleat is attached to the back of the purlin. |
Cleat attachment
| Option | Description |
|---|---|
|
|
Default The cleat is welded to the rafter. AutoDefaults can change this option. |
|
|
The cleat is bolted to the rafter. |
|
|
The cleat is welded to the rafter. |
Stays tab
Use the Stays tab to create and define the properties of stays, stay plates, and stay bolts.
Parts
| Option | Description |
|---|---|
|
Stay profile |
Select the profile from the profile catalog. |
|
Stay plate |
Thickness, width, and height of the stay plate. |
|
Stay angle |
Thickness of the stay angle. |
|
Option |
Description |
Default |
|---|---|---|
|
Pos_No |
Prefix and start number for the part position number. Some components have a second row of fields where you can enter the assembly position number. |
The default part start number is defined in the Components settings in . |
|
Material |
Material grade. |
The default material is defined in the Part material box in the Components settings in . |
|
Name |
Name that is shown in drawings and reports. |
|
|
Finish |
Describes how the part surface has been treated. |
Bolt properties
| Option | Description |
|---|---|
|
Purlin-stay bolt standard Rafter-stay bolt standard |
Select the bolt standard for the bolts that connect the stays or rafter stays to the purlins. |
|
Purlin-stay bolt tolerance Rafter-stay bolt tolerance |
Define the gap between the bolts and holes for the bolts that connect the stays or rafter stays to the purlins. |
|
Stay rotation |
Define the stay angle rotation. |
Location of stays
| Option | Description |
|---|---|
|
|
Default Stays are not created. AutoDefaults can change this option. |
|
|
Stays are not created. |
|
|
Stays are created on both sides. Stay plates are created. |
|
|
Stay is created on the right. Stay plate is created. |
|
|
Stay is created on the left. Stay plate is created. |
|
|
Stay is created on the right. Stay plates are created on both sides. |
|
|
Stay is created on the left. Stay plates are created on both sides. |
|
|
Holes are created. Stays and stay plates are not created. |
Stay attachment
| Option | Description |
|---|---|
|
|
Default Stay is attached to the purlin web bottom. AutoDefaults can change this option. |
|
|
Stay is attached to the purlin web top. |
|
|
Stay is attached to the purlin web center. |
|
|
Stay is attached to the purlin web bottom. |
Hole/bolt creation in stay
| Option | Description |
|---|---|
|
|
Default One hole or bolt in the rafter. AutoDefaults can change this option. |
|
|
One hole or bolt in the rafter. |
|
|
When the hole or bolt in the stay is placed within a certain distance, defined in d, from another already existing hole or bolt in the rafter, these will be merged together. The distance d is defined in the overlap.dat file. |
Stay plate attachment to haunch
| Option | Description |
|---|---|
|
|
Default Stay plates are attached to haunches. AutoDefaults can change this option. |
|
|
Stay plates are attached to rafters. You must apply the connection above a haunch. |
|
|
Stay plates are attached to haunches. |
Stay bolts

| Description | |
|---|---|
|
1 |
Bolt edge distance. Edge distance is the distance from the center of a bolt to the edge of the part. |
|
2 |
Bolt edge distance. Edge distance is the distance from the center of a bolt to the edge of the part. |
|
3 |
Number of bolts. |
|
4 |
Bolt spacing. Use a space to separate bolt spacing values. Enter a value for each space between bolts. For example, if there are 3 bolts, enter 2 values. |
|
5 |
Bolt edge distance from the stay edge. |
|
6 |
Stay bolt distance to the rafter center line. |
|
7 |
Stay plate edge distance from the rafter edge. |
|
8 |
Bolt diameter. |
Chamfer dimensions

| Description | |
|---|---|
|
1 |
Vertical chamfer dimension |
|
2 |
Horizontal chamfer dimension |
Chamfer shape
| Option | Description |
|---|---|
|
|
Default Line chamfer AutoDefaults can change this option. |
|
|
No chamfer |
|
|
Line chamfer |
|
|
Convex chamfer |
|
|
Concave chamfer |
Bolts tab
Use the Bolts tab to define the bolt group dimensions and the properties of the bolts that connect the cleats to the purlins.
Bolt group dimensions

| Description | |
|---|---|
|
1 |
Dimension for vertical bolt group position. |
|
2 |
Bolt edge distance. Edge distance is the distance from the center of a bolt to the edge of the part. |
|
3 |
Number of bolts. |
|
4 |
Bolt spacing. Use a space to separate bolt spacing values. Enter a value for each space between bolts. For example, if there are 3 bolts, enter 2 values. |

| Description | |
|---|---|
|
1 |
Dimension for horizontal bolt group position. |
|
2 |
Bolt edge distance. Edge distance is the distance from the center of a bolt to the edge of the part. |
|
3 |
Bolt spacing. |
Bolt basic properties
|
Option |
Description |
Default |
|---|---|---|
|
Bolt size |
Bolt diameter. |
Available sizes are defined in the bolt assembly catalog. |
|
Bolt standard |
Bolt standard to be used inside the component. |
Available standards are defined in the bolt assembly catalog. |
|
Tolerance |
Gap between the bolt and the hole. |
|
|
Thread in mat |
Defines whether the thread may be within the bolted parts when bolts are used with a shaft. This has no effect when full-threaded bolts are used. |
Yes |
|
Site/Workshop |
Location where the bolts should be attached. |
Site |
Slotted holes
You can define slotted, oversized, or tapped holes.
|
Option |
Description |
Default |
|---|---|---|
|
1 |
Vertical dimension of slotted hole. |
0, which results in a round hole. |
|
2 |
Horizontal dimension of slotted hole, or allowance for oversized holes. |
0, which results in a round hole. |
|
Hole type |
Slotted creates slotted holes. Oversized creates oversized holes. No hole does not create holes. Tapped creates tapped holes. |
|
|
Rotate Slots |
When the hole type is Slotted, this option rotates the slotted holes. |
|
|
Slots in |
Part(s) in which slotted holes are created. The options depend on the component in question. |
Bolt assembly
The selected check boxes define which component objects (bolt, washers, and nuts) are used in the bolt assembly.
If you want to create a hole only, clear all the check boxes.
To modify the bolt assembly in an existing component, select the Effect in modify check box and click Modify.
Bolt length increase
Define how much the bolt length is increased. Use this option when, for example, painting requires the bolt length to be increased.
Bolt orientation
| Option | Description |
|---|---|
|
|
Default Bolts are placed square to the main part. AutoDefaults can change this option. |
|
|
Bolts are placed square to the main part. |
|
|
Bolts are placed square to the secondary part. |
Bolt holes
| Option | Description |
|---|---|
|
|
Default Bolt holes are not created. AutoDefaults can change this option. |
|
|
Bolt holes are not created. |
|
|
Bolt holes are created in the gable end of the rafter flanges. |
Overlap bolts
| Option | Description |
|---|---|
|
|
Default Overlap flange bolts are created. AutoDefaults can change this option. |
|
|
Overlap flange bolts are created. |
|
|
Overlap web bolts are created. |
Overlap creation
| Option | Description |
|---|---|
|
|
Default Overlap is created. AutoDefaults can change this option. |
|
|
Automatic Overlap is created. |
|
|
Overlap is created. |
|
|
Overlap is not created. |
General tab
Click the link below to find out more:
Analysis tab
Click the link below to find out more:
Welds
Click the link below to find out more:
















































